Запчасти Case IH STX375 (09-07) - QUICK HITCH (09) - CHASSIS

Схема запчастей Case IH STX375 - (09-07) - QUICK HITCH (09) - CHASSIS
5
6
15
13
8
4
14
24
17
23
15
6
7
11
4
19
10
22
9
20
18
2
3
12
16
21
1
FIT
1:1
100%

Артикул

Название

Примечание

Количество

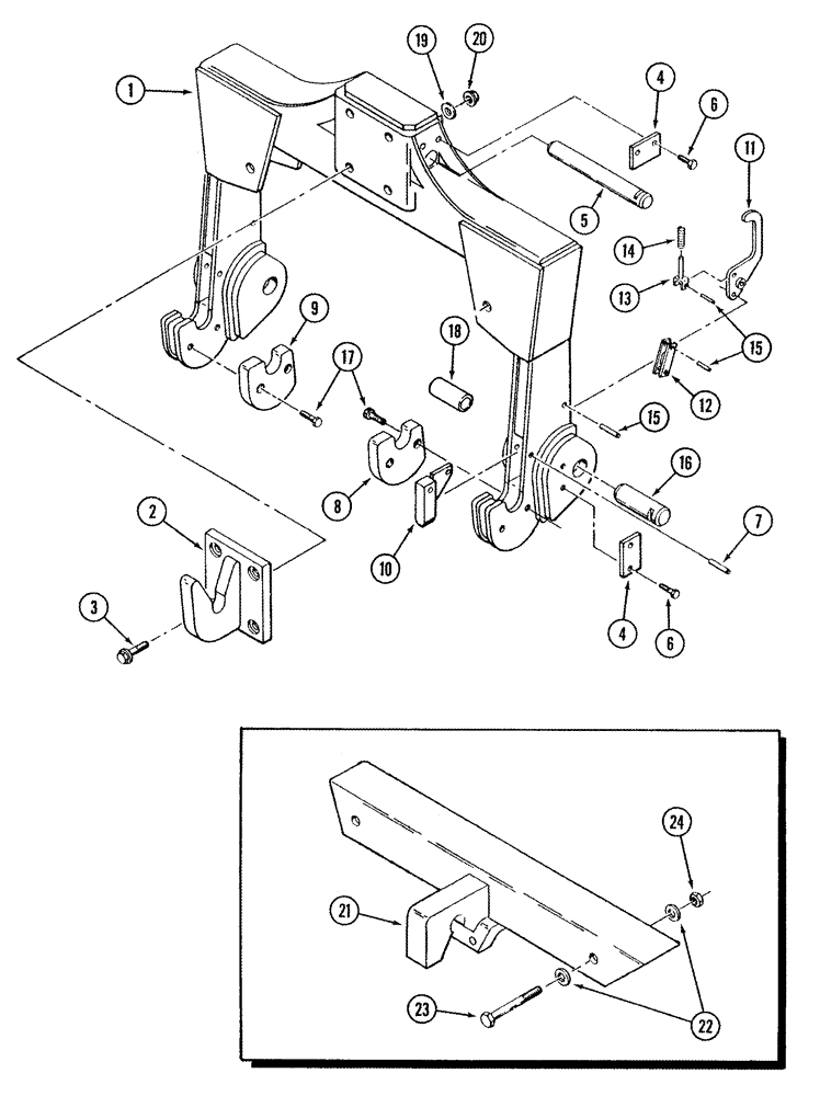
1

409653A1

COUPLING

1шт.

Catagory IV-Narrow

1шт.

2

409654A1

HOOK

1шт.

3

460-1240

BOLT,Hex, 3/4" - 10 x 2 1/2", Gr 8

4шт.

4

409664A1

BLOCK

Retainer

3шт.

5

70-1895T1

PIN

1шт.

6

426-816

BOLT,Hex, 1/2" - 13 x 1", Gr 8

6шт.

7

38-33240

PIN,1/2" x 2 1/2", Coiled

4шт.

8

409656A1

CAP

Spacer, Right-Hand

1шт.

9

409658A1

CAP

Spacer, Left-Hand

1шт.

10

409659A1

STOP

Hitch Release

2шт.

11

409660A1

LATCH

2шт.

12

409661A1

CONNECTING LINK

2шт.

13

409662A1

CONNECTING LINK

2шт.

14

2-4345T1

SPRING

2шт.

15

38-32018

PIN,5/16" x 1 1/8", Coiled

6шт.

16

70-1894T1

PIN

2шт.

17

426-824

BOLT,Hex, 1/2" - 13 x 1-1/2", Gr 8

4шт.

18

383347A1

SPACER,38.1mm ID x 50.8mm OD x 70.9mm L

2шт.

19

495-11081

WASHER,3/4", SAE

4шт.

20

19-651

LOCK NUT

3/4

4шт.

21

409655A1

HOOK

1шт.

Category III

1шт.

22

496-21106

WASHER,1 1/16" x 2" x .209", HDN

4шт.

23

426-16120

BOLT,Hex, 1" - 8 x 7-1/2", Gr 8

2шт.

24

429-1016

NUT,1"-8, G8

2шт.

Выбрано товаров: 26