Качественные детали и логистика
Оригинальные и аналоговые запчасти с доставкой по России, Казахстану и Беларуси
©2022 PartSell ООО "Система" ИНН 2463123282 ОГРН 1212400004838
Центральный офис: г. Красноярск, Академика Киренского, д.87, пом.4
Телефон: 8 (800) 777-65-74 Email: zakaz@partsell.ru
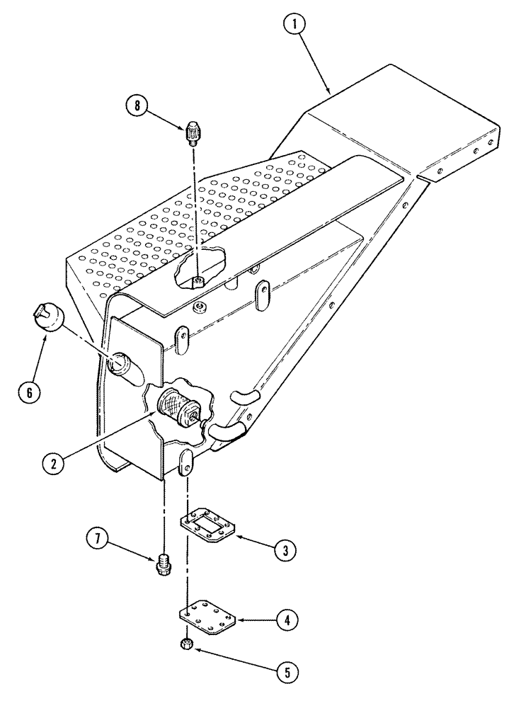
(08-20) - HYDRAULIC TANK ASSY QUADTRAC TRACTOR
№
Артикул
Название
Примечание
Количество
336750A4
consists of: Ref. 1 - 8
1шт.
1
336751A3
TANK
2
196955A1
FILTER SCREEN
3
2-1914
GASKET
4
1-4058
PLATE
5
832-10408
NUT,M8 x 1.25, Cl 8.8
8шт.
6
254253A1
CAP
7
217-410
PLUG,Hex Hd, 1/2" - 14 NPT
8
1971726C1
BREATHER,1/4" - 18
Выбрано товаров: 0