Качественные детали и логистика
Оригинальные и аналоговые запчасти с доставкой по России, Казахстану и Беларуси
©2022 PartSell ООО "Система" ИНН 2463123282 ОГРН 1212400004838
Центральный офис: г. Красноярск, Академика Киренского, д.87, пом.4
Телефон: 8 (800) 777-65-74 Email: zakaz@partsell.ru
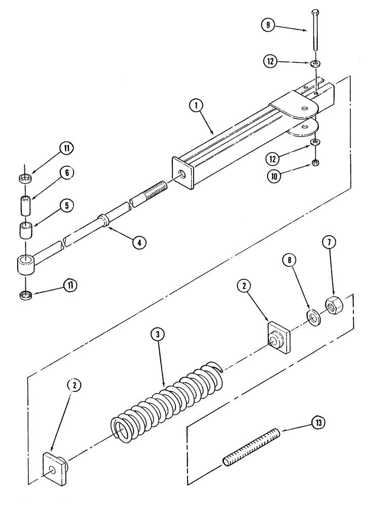
(09-36) - PUSH ARM ASSEMBLY
№
Артикул
Название
Примечание
Количество
1
334215A2
ARM
Push
1шт.
2
334239A3
SLIDE
Spring
2шт.
3
334717A2
SPRING
4
334720A5
ROD ASSY.
5
334721A1
BUSHING
6
360207A2
7
832-10424
NUT,M24 x 3, Cl 8
8
896-11024
WASHER,26mm ID x 44mm OD x 5mm Thk
9
827-10130
BOLT,Hex, M10 x 1.5 x 130mm, Cl 10.9
10
832-10410
NUT,M10 x 1.5, Cl 8
11
G33955
WIPER SEAL,25.37mm ID x 38.13mm OD x 7.92mm Thk
12
895-18010
WASHER,10.5mm ID x 18mm OD x 1.6mm Thk
4шт.
13
406328A1
CAP
Threaded
Выбрано товаров: 0