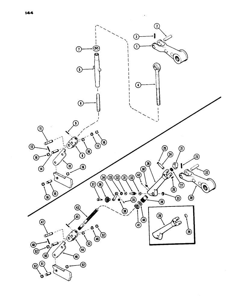
Запчасти Case IH 1030 (144) - THREE POINT HITCH, LIFT LINKS, FIRST USED TRANSMISSION SERIAL NUMBER 2229995 (09) - CHASSIS

Схема запчастей Case IH 1030 - (144) - THREE POINT HITCH, LIFT LINKS, FIRST USED TRANSMISSION SERIAL NUMBER 2229995 (09) - CHASSIS
15
43
52
16
26
32
8
2
42
33
45
44
16
16
41
52
3
47
25
37
51
1
34
16
29
24
27
50
16
52
12
9
52
31
10
11
30
8
35
40
38
14
28
25
21
49
13
52
23
36
7
5
39
46
22
33
32
4
48
20
FIT
1:1
100%

Артикул

Название

Примечание

Количество

1

A57494

ARM

- rockshaft, lift links

2шт.

2

A32268

PIN

- upper, Serial Range: link-arm

2шт.

3

138-2047

PIN,1/4" x 1 7/8", Coiled

2шт.

4

A57907

LINK ASSY. - upper (13-13/16" long)

2шт.

5

A57500

TURNBUCKLE - lift link adjustment

2шт.

6

A57503

LINK

- lower (1-1/4" N.F. x 7-1/2")

2шт.

7

129-372

NUT,Jam, 1 1/4"-12, G5, LH

- lock, upper link (1-1/4" N.F. jam, L.H. thread)

2шт.

8

A57504

YOKE - lift link

2шт.

9

138-159

LOCK PIN,5/16" x 1 3/4", Slotted

Pin, , link to yoke 5/16" x 1 3/4", Slotted

2шт.

10

A34426

LINK - float, draft arm

2шт.

11

A34595

PIN

- lock, link & yoke

2шт.

12

138-163

LOCK PIN,5/16" x 2 1/2", Slotted

PIN, , Float lock adj. 5/16" x 2 1/2", Slotted

2шт.

13

A34431

WASHER - spring, float lock pin

2шт.

14

A34429

PIN

- lift link (2-3/4" long)

2шт.

15

A34427

PIN - lift link (2-5/64" long)

2шт.

16

A34428

SNAP RING,#98, Ext

Ring, Snap, , link pins #98, Ext

10шт.

20

A33376

ARM - rockshaft, lift links, used prior to trans. ser. no 2229995

2шт.

21

A32269

BLOCK - swivel, lift links, used prior to trans. ser. no. 2229995

2шт.

22

A32268

PIN

- swivel block to arm, used prior to trans. ser. no. 2229995

2шт.

23

138-2047

PIN,1/4" x 1 7/8", Coiled

used prior to trans. ser. no. 2229995 1/4" x 1 7/8", Coiled

2шт.

24

A33951

PIN - swivel block to housing, used prior to trans. ser. no. 22299945

2шт.

25

F7135

RING, SNAP

RING - snap, pin ret., used prior to trans. ser. no. 2229995

4шт.

26

A34912

HOUSING

ASSY. - gear box (takes rubber plug), used prior to trans. ser. no. 2229995, Includes Ref: 27

2шт.

27

A34908

PLUG

- hsg., rubber (used w/A34912 hsg.), used prior to trans. ser. no. 2229995

2шт.

28

A34251

HOUSING - gear box (takes button plug) (Order A34912), used prior to trans. ser. no. 2229995

2шт.

29

205-36

HOLE PLUG BUTTON,7/8"

PLUG - hsg. ( button) (used w/A34251 hsg.), used prior to trans. ser. no. 2229995 7/8"

2шт.

30

219-1

LUBE NIPPLE,1/8" - 27 NPTF

FITTING - grease (1/8" P.T. str), used prior to trans. ser. no. 2229995

2шт.

31

A32273

WORM

- drive, leveling gear, used prior to trans. ser. no. 2229995

2шт.

32

A34811

PLUG

- thrust, worm gear (Replaces A32976), used prior to trans. ser. no. 2229995

4шт.

33

A21145

SNAP RING,1.25, Int, #125

Ring, Snap, 1.25", Int, #125, plug, used prior to trans. s/n no. 2229995

4шт.

34

A32248

ARM

- worm crank, used prior to trans. ser. no. 2229995

2шт.

35

138-2015

PIN,1/4" x 7/8", Coiled

arm ret., used prior to trans. ser. no. 2229995 1/4" x 7/8", Coiled

2шт.

36

A33494

KNOB

- crank handle, used prior to trans. sr. no. 2229995

2шт.

37

A33495

BOLT

BOLT - knob pivot, used prior to trans. ser. no. 2229995

2шт.

38

131-706

LOCK NUT

NUT - (3/8" N.F. hex.), used prior to trans. ser. no. 2229995

2шт.

39

A32975

POINT

GEAR - lift link leveling, used prior to trans. ser. no. 2229995

2шт.

40

B15878

WASHER

- thrust, leveling gear, used prior to trans. ser. no. 2229995

2шт.

41

A34252

PLUG

- thrust, leveling gear, used prior to trans. ser. no. 2229995

2шт.

42

138-2026

PIN,1/8" x 3/4", Coiled

plug, used prior to trans. ser. no. 2229995 1/8" x 3/4", Coiled

2шт.

43

A34824

SHAFT - lift link, lower (20-5/8" long) (1st used trac. ser. no. 8311262 to 8347852), used prior to trans.ser. no. 2229995

2шт.

43

A34594

SHAFT - lift link, lower (18-5/8" long) (Order A34824) (used prior trac. ser. no. 8311262), used prior to trans. ser. no. 2229995

2шт.

44

A34593

YOKE - lift link, lower, used prior to trans. ser. no. 2229995

2шт.

45

138-159

LOCK PIN,5/16" x 1 3/4", Slotted

Pin, , yoke to shaft, used prior to trans. ser. no. 2229995 5/16" x 1 3/4", Slotted

2шт.

46

A34426

LINK - float, draft arm, used prior to trans. ser. no. 2229995

2шт.

47

A34595

PIN

- lock, link & yoke, used prior to trans. ser. no. 2229995

2шт.

48

138-163

LOCK PIN,5/16" x 2 1/2", Slotted

PIN, , Float lock adj, used prior to trans. S/N 2229995 5/16" x 2 1/2", Slotted

2шт.

49

A34431

WASHER - spring, float lock pin, used prior to trans. ser. no. 2229995

2шт.

50

A34429

PIN

- lift link (2-3/4" long), used prior to trans. ser. no. 2229995

2шт.

51

A34427

PIN - lift link (2-5/64" long), used prior to trans. ser. no. 2229995

2шт.

52

A34428

SNAP RING,#98, Ext

Ring, Snap, , link pins, used prior to trans. ser. no. 2229995 #98, Ext

10шт.

Выбрано товаров: 50