Запчасти Case IH 1030 (014) - VALVES AND VALVE MECHANISM (02) - ENGINE

Схема запчастей Case IH 1030 - (014) - VALVES AND VALVE MECHANISM (02) - ENGINE
44
43
27
2
36
33
20
25
29
30
10
6
15
38
1
35
26
40
3
17
39
7
9
11
14
42
16
8
32
25
35
12
13
37
19
31
41
18
28
32
34
33
5
4
FIT
1:1
100%

Артикул

Название

Примечание

Количество

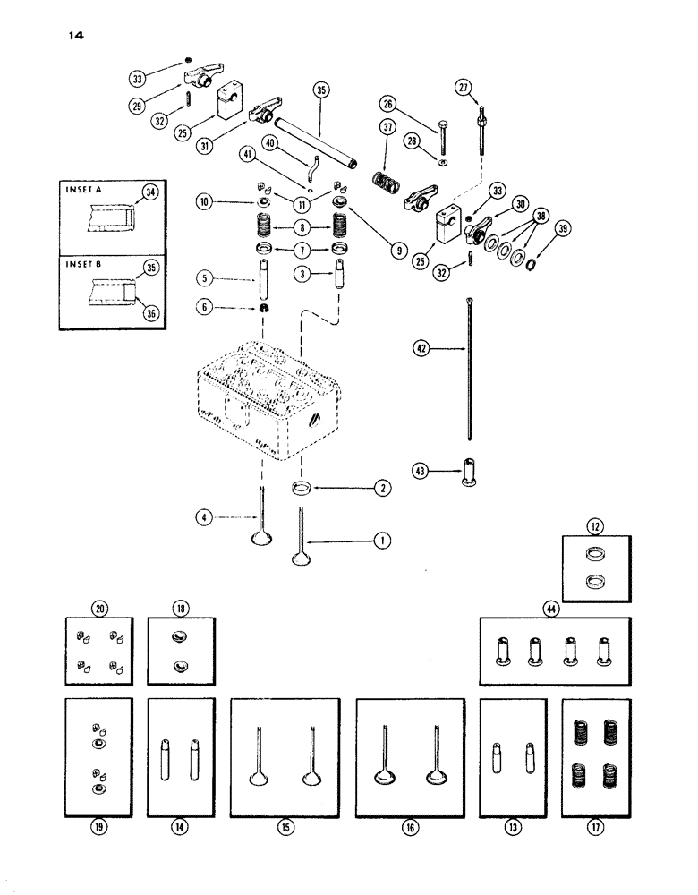
1

NSS

NOT SOLD SEPARAT

VALVE - exhaust (Order ref. 15)

6шт.

2

NSS

NOT SOLD SEPARAT

INSERT - exhaust valve seat (Order ref. 12)

6шт.

3

NSS

NOT SOLD SEPARAT

GUIDE - exhaust valve (Order ref. 13)

6шт.

4

NSS

NOT SOLD SEPARAT

VALVE - intake (Order ref. 16)

6шт.

5

NSS

NOT SOLD SEPARAT

GUIDE - intake valve (Order ref. 14)

6шт.

6

A10726

SEAL

- intake valve shield (rubber)

6шт.

7

A27866

SEAT

- valve springs

12шт.

8

NSS

NOT SOLD SEPARAT

SPRING - valves (Order ref. 17)

12шт.

9

NSS

NOT SOLD SEPARAT

CAP - roto, exhaust valve (Order ref. 18)

6шт.

10

NSS

NOT SOLD SEPARAT

RETAINER - intake valve (Order ref. 19)

6шт.

11

NSS

NOT SOLD SEPARAT

LOCK - valve spring (Keepers)(Order ref. 20)

24шт.

12

A57485

INSERT

KIT - exhaust valve (Set of 2)(Replaces A21683)

3шт.

13

A21674

GUIDE

KIT - exhaust valve (Set of 2)

3шт.

14

A21671

GUIDE

KIT - intake valve (Set of 2)

3шт.

15

A34254

VALVE

KIT - exhaust (Set of 2)(Replaces A24881)

3шт.

16

A24921

KIT

VALVE KIT - intake (Set of 2)

3шт.

17

A21694

SPRING

KIT - valves (set of 4)

3шт.

18

A57433

COIL

ROTO CAP KIT - exhaust valve (Set of 2) (Replaces A24993)

3шт.

19

A21657

LOCK

RETAINER KIT - intake valve (Set of 2 retainers & 4 locks)

3шт.

20

A40352

LOCK

KIT - valve keepers (Set of 8)

3шт.

25

A27881

BRACKET

- rocker shaft

6шт.

26

13-760

BOLT,Hex, 7/16" - 14 x 3-3/4", Gr 5

Bracket Hex, 7/16"-14 x 3 3/4", G5

6шт.

27

A57990

STUD

- rocker arm brckt. & cyl. head cover (7/16" N.C. x 1-1/2" top of stud to nut)(Replaces A57458)

6шт.

27

A57458

STUD

- bracket & cyl. head cover (7/16" N.F. x 1-1/2" top of stud to nut)(Replaces A28124) (Order A57990 stud & 25-107 nut when stock is depleted)

6шт.

28

92-7

LOCK WASHER,7/16"

6шт.

29

A22324

ROCKER

ARM ASSY. - rocker (nos. 1, 3 & 5 exhaust valves)

3шт.

30

A22326

ROCKER

ARM ASSY. - rocker (nos. 2, 4 & 6 exhaust valves)

3шт.

31

A22322

ROCKER

ARM ASSY. - rocker (intake valves), Includes Ref: 32 and 33

6шт.

32

A21105

ADJUSTMENT SCREW,3/8" - 24 x 1 9/16"

SCREW - rocker arm adjusting

1шт.

33

25-156

JAM NUT,Jam, 3/8"-24, G5

- lock, adj. screw (3/8" N.F. hex., jam)

1шт.

34

A57532

SHAFT

ASSY. - rocker arms, w/plug (See inset A) (1st used ung. ser. no. 2203667)

3шт.

35

A21100

SHAFT

ASSY. - rocker arms (See inset B) (used prior to trac. ser. no. 2203667)

3шт.

36

A26667

PLUG - rocker shaft ends (9/16" cup type)

2шт.

37

A27877

SPRING

- rocker shaft

3шт.

38

A27878

WASHER

- rocker shaft ends (29/32 x 1-5/16 x .028")

21шт.

39

B18206

SNAP RING,#87, Ext

Ring, Snap, , rocker shaft #87, Ext

6шт.

40

A27879

TUBE

- oil, rocker arms

3шт.

41

A27880

O-RING,0.07" Thk x 0.18" ID, -8, Cl 5, 75 Duro

"O" RING - oil tube (3/16 x 5/16 x 1/16")

3шт.

42

A21060

ROD

- push

12шт.

43

NSS

NOT SOLD SEPARAT

LIFTER - push rod (Order ref. 44)

12шт.

44

A21653

KIT

LIFTER KIT - push rod (Set of 4)

3шт.

Выбрано товаров: 41