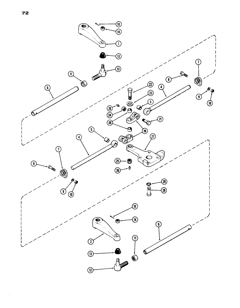
Запчасти Case IH 1030 (072) - DRAG LINKS, WESTERN MODELS, 60 INCH TO 88 INCH, FIRST USED TRACTOR SERIAL NUMBER 8332878 (06) - POWER TRAIN

Схема запчастей Case IH 1030 - (072) - DRAG LINKS, WESTERN MODELS, 60 INCH TO 88 INCH, FIRST USED TRACTOR SERIAL NUMBER 8332878 (06) - POWER TRAIN
14
26
6
13
4
12
26
11
24
23
25
5
9
29
19
8
2
10
20
27
12
13
15
10
5
7
21
9
6
22
1
15
8
4
28
11
14
7
FIT
1:1
100%

Артикул

Название

Примечание

Количество

1

A57323

ARM

- steering, L.H., front wheel

1шт.

2

A57322

ARM

- steering, R.H., front wheel

1шт.

4

A41736

LINK

ASSY. - drag, notched, Includes Ref: 5

2шт.

5

A34643

BUSHING

- notched drag link

1шт.

6

A41518

TUBE

- notched, drag link

2шт.

7

A41561

CLAMP

- tie rod

2шт.

8

114-411

BOLT,Hex, 1/2" - 20 x 2-1/4", Gr 5

- hex. hd. (1/2 x 2-1/4" N.F.)

2шт.

9

192-23

LOCK WASHER,1/2"

WASHER, LOCK, 1/2"

2шт.

10

280963

NUT,Nut, 1/2-20 GR 5 ZND

- hex. (1/2" N.F.)

2шт.

11

A41511

NUT

- hex. (1"-16 Jam w/chamfer)

2шт.

12

A41512

ROD

END - tie rod

2шт.

13

A41515

SEAL

- tie rod end

2шт.

14

25-1310

SLOTTED NUT,5/8"-18, G5

NUT - hex. (5/8" N.F. slotted)

2шт.

15

132-95

COTTER PIN,3/16" x 1 1/2"

Pin, Split (Cotter), 3/16" x 1 1/2"

2шт.

19

A57891

COUPLING

COUPLER ASSY. - drag link (1st used trac. ser. no. 8352461), Includes Ref: 20

2шт.

20

A57892

BUSHING

- (1 x 1-1/8 x 3/4" w/oil groove)

1шт.

19

A34785

COUPLING

COUPLER ASSY. - drag links (used prior to trac. ser. no. 8352431), Includes Ref: 20

2шт.

20

A34786

BUSHING

- (1 x 1-1/2 x 3/4" w/out oil groove)

1шт.

21

A57893

BOLT

- link to coupling (3/4 x 2-1/8" N.F. hex.) (tapped for grease fitting)(1st used trac. ser. no. 8352431)

2шт.

21

A34787

BOLT

- link to coupling (3/4 x 2-1/8" N.F. hex.) (w/out tapped hole)(used prior to trac. ser. no. 8352431)

2шт.

22

A57894

BOLT

- coupling pivot (1 x 3-7/16" N.F. hex.) (tapped for grease fitting)(1st used trac. ser. no. 8352431)

1шт.

22

A34788

BOLT

- coupling pivot (1 x 3-5/16" N.F. hex.) (w/out tapped hole)(used prior to trac. ser. no. 8352431)

1шт.

23

A31148

WASHER

- pivot bolt (Replaces F53208)

1шт.

24

25-1512

JAM NUT,Jam, 3/4"-10, G5

- shoulder bolts (3/4" N.F. hex., jam)

2шт.

25

A34852

NUT

- coupling pivot bolt (1"-12 jam)

1шт.

26

219-8

LUBE NIPPLE,1/4" - 28 NPTF

NIPPLE, LUBE, (Used w/A57893 & A57894 bolts) 1/4"-28 NPT x .54" lg

3шт.

27

A57962

ARM - steering, center (Replaces A57515)

1шт.

28

14-1028

BOLT,Hex, 5/8" - 18 x 1-3/4", Gr 5

Ctr. str. arm Hex, 5/8"-18 x 1 3/4", G5

4шт.

29

193-14

LOCK WASHER,Ext Tooth, 5/8"

WASHER, LOCK, Ext Tooth, 5/8"

4шт.

Выбрано товаров: 29