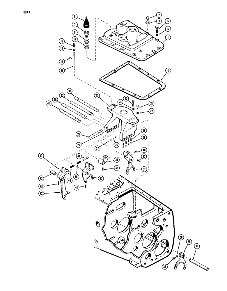
Запчасти Case IH 1030 (080) - SHIFTER SHAFTS AND FORKS (06) - POWER TRAIN

Схема запчастей Case IH 1030 - (080) - SHIFTER SHAFTS AND FORKS (06) - POWER TRAIN
30
34
13
22
26
36
3
2
44
7
48
20
37
33
27
41
23
42
29
47
9
10
28
5
45
1
24
31
8
35
27
6
12
32
48
4
38
48
14
11
46
48
25
43
40
39
21
FIT
1:1
100%

Артикул

Название

Примечание

Количество

1

A34761

COVER - shifter shafts (w/out tapped top hole)

1шт.

1

A32816

COVER - shifter shafts (w/tapped top hole)

1шт.

2

13-810

BOLT - (1/2 x 5/8" N.C. hex.)(used w/A32816 cover)

1шт.

3

195-1024

WASHER - (9/16 x 1-1/4 x 3/32" brass)

1шт.

4

A7594

GASKET

- cover

1шт.

5

13-824

BOLT,Hex, 1/2" - 13 x 1-1/2", Gr 5, Full Thd

Cover Hex, 1/2"-13 x 1 1/2", G5, Full Thd

6шт.

5

13-828

BOLT,Hex, 1/2" - 13 x 1-3/4", Gr 5

- cover (1/2 x 1-3/4" N.C. hex.)

1шт.

6

92-8

LOCK WASHER,1/2"

7шт.

7

A20990

SWITCH

- safety, neutral start

1шт.

8

A20991

BOOT

COVER - safety switch

1шт.

9

A20988

NUT - switch adapter

1шт.

10

A20989

LOCK NUT

NUT - lock, switch adapter

1шт.

11

A22713

ROD - safety switch contact

1шт.

12

A22712

SPRING

- rod return

1шт.

13

195-18

WASHER,1/4"

- (9/32 x 5/8 x 1/16")

1шт.

14

132-5

COTTER PIN,1/16" x 1/2"

Pin, Split (Cotter), 1/16" x 1/2"

1шт.

20

A32039

BRACKET - shifter shafts

1шт.

21

13-620

BOLT,Hex, 3/8" - 16 x 1-1/4", Gr 5, Full Thd

Bracket Hex, 3/8"-16 x 1 1/4", G5, Full Thd

3шт.

22

193-10

LOCK WASHER,Ext Tooth, 0.391" ID x 0.682" OD, STL, PLN

WASHER, LOCK, Ext Tooth, 3/8"

3шт.

23

A32042

STEP BOLT

BOLT - bracket (7/16 x 1-21/32" N.C. hex., spec.)

1шт.

24

193-77

LOCK WASHER,Int Tooth, 1/2"

WASHER, LOCK, Int Tooth, 1/2"

1шт.

25

138-88

LOCK PIN,3/16" x 1/2", Slotted

PIN, , Range shift shaft 3/16" x 1/2", Slotted

1шт.

26

A33450

SHAFT

- shift interlock

1шт.

27

211-11

BALL,3/8" Dia

- interlock shaft (.) 3/8" Dia

4шт.

28

211-13

BALL,1/2" Dia

- detent 1/2" Dia

4шт.

29

A33749

SPRING

- shifter shaft detent ball

4шт.

30

A32810

SHAFT

- shifter, 1st & 2nd

1шт.

31

A33950

FORK

- shifter shaft, 1st & 2nd

1шт.

32

178-805

SET SCREW,Hex Soc, 5/16"-18 x 5/8"

SCREW - stop 95/16 x 5/8" N.C., w/nylon insert)

1шт.

33

A57413

SHAFT

- range shifter, rear (Replaces A32040)

1шт.

34

A22708

BLOCK - range shifter shaft

1шт.

35

A34657

FORK

- range shaft shifter

1шт.

36

A8590

SHAFT

- range shifter, front

1шт.

37

14-720

BOLT,Hex, 7/16" - 20 x 1-1/4", Gr 5, Full Thd

- fork (7/16 x 1-1/4" N.F. hex.)

1шт.

38

92-7

LOCK WASHER,7/16"

1шт.

39

A32812

SHAFT - shifter, 3rd & 4th

1шт.

40

A32813

FORK - shifter shaft, 3rd & 4th

1шт.

41

A32814

SHAFT - shifter, reverse

1шт.

42

A32815

FORK - reverse shifter shaft

1шт.

43

A34257

SPACER - reverse shaft (59/64 x 7/8 x 1-25/32)

1шт.

44

A22711

PLUNGER

- reverse shift lock-out

1шт.

45

A33044

SPRING

- plunger, inner (27/64" I.D., R.H. wound)

1шт.

46

A22712

SPRING

- plunger, outer (9/16" I.D., L.H. wound)

1шт.

47

132-24

COTTER PIN,3/32" x 1/2"

PIN, SPLIT (COTTER), 3/32" x 1/2"

1шт.

48

A7044

SET SCREW,3/8" - 16 x 7/8"

- shifter forks

4шт.

Выбрано товаров: 45