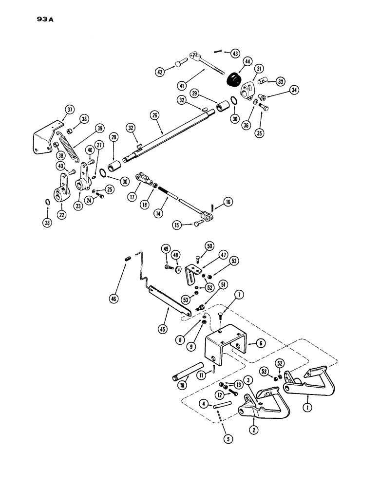
Запчасти Case IH 1030 (093A) - BRAKE CONTROLS, USED PRIOR TO TRACTOR SERIAL NUMBER 8282440 (06) - POWER TRAIN

Схема запчастей Case IH 1030 - (093A) - BRAKE CONTROLS, USED PRIOR TO TRACTOR SERIAL NUMBER 8282440 (06) - POWER TRAIN
38
6
8
34
30
23
35
11
14
53
32
12
7
32
52
29
18
9
45
53
31
43
28
49
38
10
33
22
37
30
40
53
26
41
15
39
52
2
44
42
1
40
48
46
24
27
16
50
29
51
3
35
17
5
24
13
47
4
FIT
1:1
100%

Артикул

Название

Примечание

Количество

1

A33121

PEDAL - brake, left hand

1шт.

2

A33120

PEDAL - brake, right hand

1шт.

3

219-14

LUBE NIPPLE,1/4" NPTF

FITTING - grease (1/4" str. drive)

2шт.

4

A27104

PIN - interlock, brake pedal

1шт.

5

135-378

PIN - (3/8 x 2" Groove)

1шт.

6

A23833

BRACKET - pedal pivot shaft

1шт.

7

11-616

CARRIAGE BOLT,Short NK, 3/8"-16 x 1", G2

BOLT, CARRIAGE, , Bracket Short NK, 3/8"-16 x 1", G2

3шт.

8

92-6

LOCK WASHER,3/8"

3шт.

9

25-106

NUT,3/8"-16, G5

- (3/8" N.C. hex.)

3шт.

10

A23825

SHAFT - pivot, brake pedal (7-3/16" long)

1шт.

11

138-102

LOCK PIN,3/16" x 1 3/4", Slotted

PIN, , Pivot shaft 3/16" x 1 3/4", Slotted

1шт.

12

13-616

BOLT,Hex, 3/8" - 16 x 1", Gr 5, Full Thd

Pedal stop Hex, 3/8"-16 x 1", G5, Full Thd

1шт.

13

25-146

JAM NUT,Jam, 3/8"-16, G5

- lock, stop bolt (3/8" N.C. half hex.)

2шт.

14

A32671

ROD - brake pedal to lever (17-1/4" long)

2шт.

15

141-6

CLEVIS PIN,1/2" x 1.360"

PIN - clevis, brake rod yoke

4шт.

16

132-48

COTTER PIN,1/8" x 1"

Pin, Split (Cotter), 1/8" x 1"

4шт.

17

213-6

ADJUSTABLE CLEVIS,1/2"-20 x 3"

YOKE - brake rod end

2шт.

18

25-118

NUT,1/2"-20, G5

- (1/2" N.F. hex.)

2шт.

22

A34226

LEVER

- brake, right hand

1шт.

23

A34227

LEVER - brake, left hand, intermediate

1шт.

24

13-828

BOLT,Hex, 1/2" - 13 x 1-3/4", Gr 5

- inter. lever (1/2 x 1-3/4" N.C. hex.)

1шт.

25

92-8

LOCK WASHER,1/2"

1шт.

26

A32670

SHAFT - cross

1шт.

27

219-14

LUBE NIPPLE,1/4" NPTF

FITTING - grease, cross shaft (1/4" drive)

1шт.

28

F62023

SNAP RING,#93, Ext

Ring, Snap, , brake lever #93, Ext

1шт.

29

A28201

SLEEVE

- cross shaft, L.H. (3" long)

1шт.

29

A28200

SLEEVE

- cross shaft, R.H. (2" long)

1шт.

30

A27342

O-RING,1.109" ID x 1.387" OD x 0.139"

"O" RING - sleeve (1-1/8 x 1-3/8 x 1/8")

2шт.

31

A26356

LEVER - brake, left hand

1шт.

32

126-132

WOODRUFF KEY,#21, 1/4" x 1 1/4", HT

Cross shaft #21, 1/4" x 1 1/4", HT

2шт.

33

A27687

HARDWARE

TRUNNION - pull rod guide

2шт.

34

A27686

NUT

- pull rod adjusting

2шт.

35

13-828

BOLT,Hex, 1/2" - 13 x 1-3/4", Gr 5

- L.H. lever (1/2 x 1-3/4" N.C. hex.)

1шт.

36

92-8

LOCK WASHER,1/2"

1шт.

37

A34223

BRACKET

- return spring (6-13/32" long, top surface)

1шт.

38

A21758

BUSHING

SPACER - brkt. (1/2 x 27/32 x 3/8")

2шт.

39

CASA34224

SPRING

- brake pedal return

2шт.

40

A34225

PIN

- spring anchor

2шт.

41

A28203

ROD

- pull, brake

2шт.

42

141-6

CLEVIS PIN,1/2" x 1.360"

PIN - clevis, pull rod

2шт.

43

132-48

COTTER PIN,1/8" x 1"

Pin, Split (Cotter), 1/8" x 1"

6шт.

44

A27465

CAP

- dust, pull rod

2шт.

45

A33123

RATCHET - parking brake

1шт.

46

A23953

TIP

- ratchet handle

1шт.

47

A23836

GUIDE - parking brake ratchet

1шт.

48

A29920

PAWL

- ratchet, lock

1шт.

49

13-616

BOLT,Hex, 3/8" - 16 x 1", Gr 5, Full Thd

Pawl Hex, 3/8"-16 x 1", G5, Full Thd

1шт.

50

11-616

CARRIAGE BOLT,Short NK, 3/8"-16 x 1", G2

BOLT, CARRIAGE, , Bracket Short NK, 3/8"-16 x 1", G2

2шт.

51

A23824

STUD

- ratchet to brake pedal

1шт.

52

92-6

LOCK WASHER,3/8"

4шт.

53

25-106

NUT,3/8"-16, G5

- (3/8" N.C. hex.)

4шт.

Выбрано товаров: 51