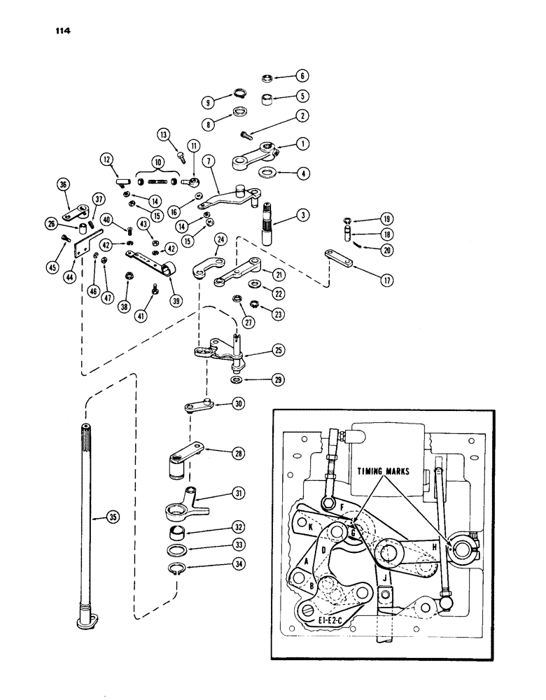
Запчасти Case IH 1030 (114) - DRAFT-O-MATIC UPPER SENSING LINKAGE (06) - POWER TRAIN

Схема запчастей Case IH 1030 - (114) - DRAFT-O-MATIC UPPER SENSING LINKAGE (06) - POWER TRAIN
25
18
31
28
34
4
41
2
47
6
20
10
33
21
36
35
46
11
27
23
12
38
32
13
24
14
19
3
42
45
15
44
39
22
29
5
1
8
26
16
14
17
37
43
30
40
7
15
9
42
FIT
1:1
100%

Артикул

Название

Примечание

Количество

1

A32320

LEVER

- draft control (Link "H")

1шт.

2

166-27

BOLT - "H" link (5/16 x 1-1/4" N.C., 12 pt., sckt. hd.)

1шт.

3

A32336

SHAFT - draft control, manual

1шт.

4

A33316

WASHER - manual shaft (1-1/32 x 1-11/16 x 12 Ga.)

1шт.

5

A33314

SPACER

- manual shaft (53/64 x 1-3/64 x 9-16")

1шт.

6

A32309

SEAL,18.8mm ID x 25.5mm OD x 3.1mm Thk

- manual control shaft (3/4 x 1 x 1/8")

1шт.

7

A57008

LEVER - draft control (link "F") (1st used trac. ser. no. 8310335)

1шт.

7

A32316

LEVER

LINK - draft control (Link "F")(used prior to trac. S/N 8310335)(Order A57088 & 57090)

1шт.

8

F20286

WASHER

- "F" link (29/32 x 1-3/8 x 16 Ga.)

1шт.

9

F62205

RING, SNAP

RING - snap, "F" link ret.

1шт.

10

A32347

ROD

- draft control link

1шт.

11

A35134

BEARING

- link rod

1шт.

12

A27382

BALL

JOINT - draft control link

1шт.

13

13-514

BOLT,Hex, 5/16" - 18 x 7/8", Gr 5

Brg. to "F" link Hex, 5/16"-18 x 7/8", G5, Full Thd

1шт.

14

92-5

LOCK WASHER,5/16"

2шт.

15

25-155

JAM NUT,Jam, 5/16"-24, G5

- (5/16" N.F. hex., jam)

2шт.

16

A32395

WASHER

SPACER - ball joint (25/64 x 9/16 x 16 Ga.)

1шт.

17

A32331

LINK

LEVER - draft control (Link "J")

1шт.

18

A32334

PIN

- "J" link to draft valve spool

1шт.

19

G46146

SNAP RING,#37, Ext

Ring, Snap, , pin ret. #37, Ext

1шт.

20

132-25

COTTER PIN,3/32" x 5/8"

Pin, Split (Cotter), 3/32" x 5/8"

1шт.

21

A32335

LINK

LEVER - draft control (Link "G")

1шт.

22

B18080

WASHER

- "G" link (21/32 x 1-1/4 x 16 Ga.)

1шт.

23

A26828

RING

- snap, "G" link ret.

1шт.

24

A57365

LEVER

- draft control (Link "D")(Replaces A32329)

1шт.

25

A32310

LINK

- draft control (Link "G")

1шт.

26

A32914

SPACER

- sensitivity hub (21/32 x 3/4 x 1")

1шт.

27

A32308

OIL SEAL

- sensitivity shaft (5/8 x 7/8 x 1/8")

1шт.

28

A33393

LEVER

- draft control (Link "K")

1шт.

29

A57090

WASHER

- "C" link (21/32 x 1-1/8 x 23 Ga.) (Replaces A26411)

1шт.

30

A57362

LINK

LEVER - draft control "Link "B")(Replaces A32321)

1шт.

31

A32324

LEVER

- draft control (Link "A")

1шт.

32

A12014

BUSHING

- signal shaft

1шт.

33

B18302

WASHER

- "A" link

1шт.

34

R13338

SNAP RING,#150, Ext

Ring, Snap, , "K" link #150, Ext

1шт.

35

A34834

SHAFT

- draft signal (See Fig. 117A) (1st used trac. ser. no. 8302912)

1шт.

35

A33395

SHAFT

- draft signal (See Fig. 117A) (used prior to trac. ser. no. 8302912)

1шт.

36

A33739

LEVER - signal shaft

1шт.

37

138-2009

PIN,3/16" x 1", Coiled

Lever to "C" link 3/16" x 1", Coiled

1шт.

38

A33737

SPACER - signal shaft lever

1шт.

39

A33880

LEVER - sensitivity selector

1шт.

40

77-46

SCREW

- (1/4 x 3/8" N.C. rd. hd.)

1шт.

41

62-46

SCREW - selector lever (1/4 x 3/8" N.F. sckt. hd.) Hex Soc Hd, 1/4"-28 x 3/8"

1шт.

42

92-4

LOCK WASHER,1/4"

WASHER, LOCK, 1/4"

2шт.

43

25-114

NUT,1/4"-28, G5

- (1/4" N.F. hex.)

1шт.

44

A33209

BRACKET - lock, slector lever

1шт.

45

13-512

BOLT,Hex, 5/16" - 18 x 3/4", Gr 5

Bracket Hex, 5/16"-18 x 3/4", G5, Full Thd

2шт.

46

92-5

LOCK WASHER,5/16"

2шт.

47

9635082

NUT,5/16" - 18, Gr 5

- (5/16" N.C. hex.)

2шт.

Выбрано товаров: 49