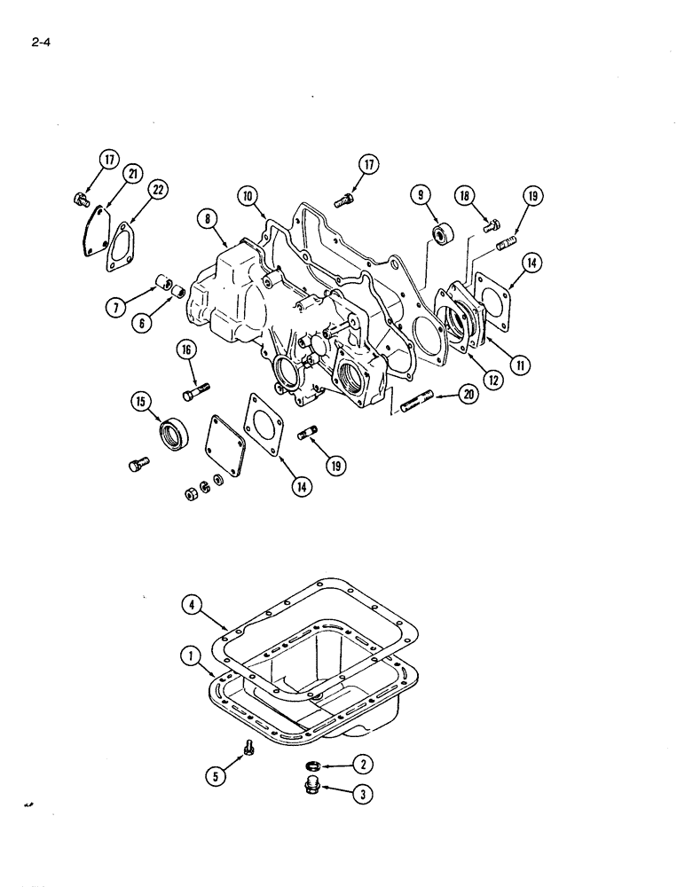
Запчасти Case IH 1120 (2-04) - OIL PAN AND FRONT GEAR COVER (02) - ENGINE

Схема запчастей Case IH 1120 - (2-04) - OIL PAN AND FRONT GEAR COVER (02) - ENGINE
19
18
4
11
10
15
21
7
17
14
1
12
9
6
8
16
20
14
17
5
19
3
2
22
FIT
1:1
100%

Артикул

Название

Примечание

Количество

1

1271903C91

PAN ASSY.

ENGINE OIL PAN ASSEMBLY, Includes Ref. 2 and 3

1шт.

2

1271905C1

GASKET

drain plug

1шт.

3

1271906C1

PLUG

oil drain

1шт.

4

1991006C1

GASKET

oil pan

1шт.

5

614-8016

BOLT,Hex, M8 x 1.25 x 16mm, Cl 8.8, Full Thd

hex, 8 - 1/25 x 16 mm

15шт.

892-11008

LOCK WASHER,8mm ID

WASHER, LOCK, M8

15шт.

6

1273346C91

NEEDLE BEARING

BEARING ASSEMBLY

1шт.

7

1273347C91

NEEDLE BEARING

BEARING ASSEMBLY

1шт.

8

1991007C1

CASE

GEAR COVER ASSEMBLY, front, Includes Ref. 9

1шт.

9

1273077C1

PLUG

thrust

1шт.

10

1991008C1

GASKET

gear cover

1шт.

11

1991009C1

HOUSING

pump gear bearing

1шт.

12

1991010C1

GASKET

housing, pump gear

1шт.

14

1991011C1

GASKET

pump

2шт.

15

1273348C1

OIL SEAL

SEAL oil

1шт.

16

814-8045

BOLT,Hex, M8 x 1.25 x 45mm, Cl 8.8

hex, 8 - 1.25 x 45 mm

8шт.

17

6148016

BOLT hex, 8 - 1.25 x 16 mm

5шт.

892-11008

LOCK WASHER,8mm ID

WASHER, LOCK, M8

5шт.

18

615-8030

BOLT,Hex, M8 x 1.25 x 30mm, Cl 8.8, Full Thd

hex, 8 - 1.25 x 30 mm

1шт.

892-11008

LOCK WASHER,8mm ID

WASHER, LOCK, M8

1шт.

19

1346688C1

STUD

streaded, 8 mm x 22 mm

5шт.

20

1273128C1

STUD

threaded, 8 x 42 mm

3шт.

21

1963631C1

COVER ASSY

COVER governor

1шт.

22

1991012C1

GASKET

governor cover

1шт.

Выбрано товаров: 24