Запчасти Case IH 1120 (5-02) - FRONT FRAME (05) - STEERING

Схема запчастей Case IH 1120 - (5-02) - FRONT FRAME (05) - STEERING
8
9
8
3
6
7
4
10
1
6
FIT
1:1
100%

Артикул

Название

Примечание

Количество

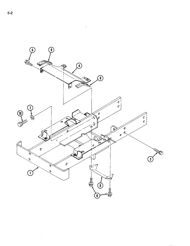
1

1991140C1

FRAME

front

1шт.

3

1992535C1

BOLT

8шт.

4

1991783C1

COVER

frame

1шт.

6

614-8025

BOLT,Hex, M8 x 1.25 x 25mm, Cl 8.8, Full Thd

hex, 8 - 1.25 x 25 mm

4шт.

892-11008

LOCK WASHER,8mm ID

WASHER, LOCK, M8

4шт.

895-11008

WASHER,9mm ID x 16mm OD x 1.6mm Thk

flat, 9 x 17 x 1.6 mm

4шт.

7

896-12014

WASHER,15.5mm ID x 28mm OD x 3mm Thk

flat, 15.5 x 28 x 3 mm, hardened

2шт.

8

1992756C1

CUSHION

3шт.

9

1992763C1

CUSHION

COVER

1шт.

10

514-917

BOLT,Hex, M14 x 1.5 x 30mm, Cl 8.8, Full Thd

BOLT hex, 14 - 1.5 x 30 mm

2шт.

Выбрано товаров: 10