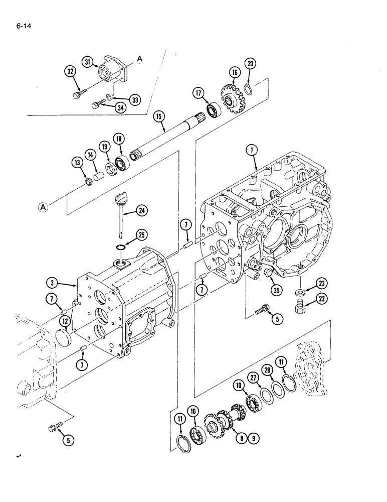
Запчасти Case IH 1120 (6-14) - TRANSMISSION LIVE SHAFT AND HOUSING (06) - POWER TRAIN

Схема запчастей Case IH 1120 - (6-14) - TRANSMISSION LIVE SHAFT AND HOUSING (06) - POWER TRAIN
3
10
a
5
28
20
31
12
16
7
22
11
32
13
14
15
9
7
25
35
33
7
1
17
11
24
5
19
23
18
34
7
10
27
8
FIT
1:1
100%

Артикул

Название

Примечание

Количество

1

1991229C1

CASE

HOUSING transmission, not used with creeper

1шт.

2

1992565C1

CASE

HOUSING transmission, used with creeper

1шт.

3

1992568C1

CASE

HOUSING transmission, center

1шт.

4

1992569C1

CASE

HOUSING transmission, center

1шт.

5

514-702

BOLT,Hex, M10 x 1.25 x 35mm, Cl 8.8, Full Thd

hex, 10 - 1.25 x 35 mm

16шт.

892-11010

LOCK WASHER,M10

16шт.

7

837-10020

DOWEL,M10 x 20

M10 x 20

4шт.

8

1992316C1

GEAR

20, 26 and 35 tooth, for 2 wheel drive tractors

1шт.

9

1991236C1

GEAR

20, 26 and 35 tooth, not used on 2 wheel drive tractors

1шт.

10

1271858C91

BALL BEARING

ASSEMLBY

2шт.

11

933108R1

SNAP RING,M62, Int

RING retaining, internal, 66.74 mm OD

2шт.

12

1963242C1

SEAL ASSY.

PLUG rubber, for 2 wheel drive tractors

1шт.

13

1991861C1

OIL SEAL

SEAL oil

1шт.

14

1991862C1

BUSHING

1шт.

15

1992566C1

SHAFT

transmission

1шт.

16

1992567C1

GEAR

24 tooth

1шт.

17

1271859C91

BEARING, BALL

BALL BEARING ASSEMBLY

1шт.

18

1992439C1

BALL BEARING

BEARING ASSEMBLY

1шт.

19

1273182C1

OIL SEAL

SEAL oil

1шт.

20

933029R1

SNAP RING,M35, Ext

RING retaining, external, 32 mm

1шт.

22

1992844C1

PLUG

2шт.

23

1963085C1

SEALING WASHER

seal

2шт.

24

1273778C3

PLUG

DIPSTICK fluid level

1шт.

25

1269877C1

O-RING

28 mm ID

1шт.

1273013C2

STRIPPER PACKAGE

KIT Shim

1шт.

27

NSS

NOT SOLD SEPARAT

SHIM

1шт.

28

NSS

NOT SOLD SEPARAT

SHIM

1шт.

31

1992571C1

COVER

used with 2 wheel drive tractors

1шт.

32

514-721

BOLT,Hex, M10 x 1.25 x 30mm, Cl 8.8, Full Thd

hex, 10 - 1.25 x 30 mm, For 2 wheel drive tractors

2шт.

892-11010

LOCK WASHER,M10

For 2WD tractors M10

2шт.

34

1273202C1

BOLT,Hex, M10 x 1.25 x 35mm

BOLT shoulder, for 2 wheel drive tractors

2шт.

35

1962638C1

SEAL

CAP seal, not used with creeper

1шт.

Выбрано товаров: 32