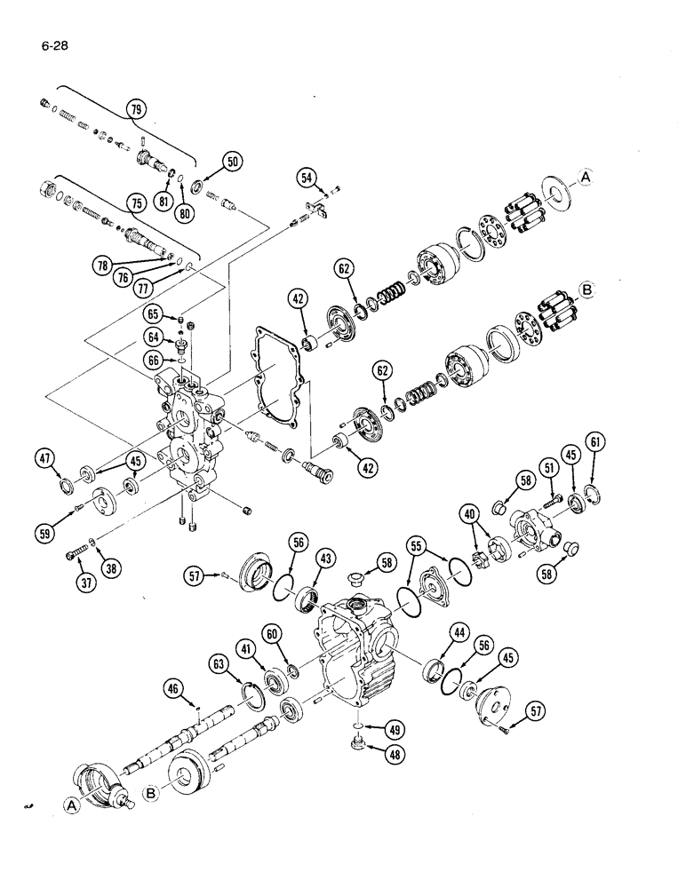
Запчасти Case IH 1120 (6-28) - HYDROSTATIC TRANSMISSION (06) - POWER TRAIN

Схема запчастей Case IH 1120 - (6-28) - HYDROSTATIC TRANSMISSION (06) - POWER TRAIN
78
a
54
65
80
60
41
57
50
58
56
51
47
58
b
b
62
40
59
77
37
49
56
76
61
45
55
66
45
a
81
63
75
58
57
45
44
64
79
42
43
38
42
46
62
48
FIT
1:1
100%

Артикул

Название

Примечание

Количество

37

863-10040

HEX SOC SCREW,M10 x 40mm, Cl 12.9

SCREW, Hex Soc Hd, M10 x 40, 12.9

8шт.

38

892-11010

LOCK WASHER,M10

8шт.

40

NSS

NOT SOLD SEPARAT

ROTOR ASSEMBLY

2шт.

41

1991907C1

BALL BEARING

ASSEMBLY

1шт.

42

1991936C1

NEEDLE BEARING

needle

2шт.

43

NSS

NOT SOLD SEPARAT

BEARING needle

1шт.

44

NSS

NOT SOLD SEPARAT

BUSHING

1шт.

45

1991986C1

OIL SEAL

4шт.

Part of Seal Kit P/N 1992240C1

1шт.

46

1992099C1

KEY

shaft

4шт.

47

1992260C1

BUSHING

1шт.

48

1992261C1

PLUG

drain

1шт.

49

1273524C1

O-RING

O-RING, 14 mm ID

1шт.

Part of Seal Kit P/N 1992240C1

1шт.

50

1992106C1

SEALING WASHER

RING seal

2шт.

Part of Seal Kit P/N 1992240C1

1шт.

51

863-8035

HEX SOC SCREW,M8 x 35mm, Cl 12.9

BOLT hex

3шт.

54

892-11006

LOCK WASHER,M6

WASHER, LOCK, M6

2шт.

55

1992111C1

O-RING

2шт.

Part of Seal Kit P/N 1992240C1

1шт.

56

1992166C1

O-RING

2шт.

Part of Seal Kit P/N 1992240C1

1шт.

57

843-1512

SCREW,Flat , M5 x 12mm, Cl 4.8

flat head, cross recess, 4 x 10 mm

6шт.

58

1992169C1

PLUG

valve

3шт.

59

843-1516

SCREW,Flat , M5 x 16mm, Cl 4.8

flat head, cross recess, 5 x 16 mm

2шт.

60

933128R1

SNAP RING,M25, Ext

RING retaining, external, 23 mm ID

1шт.

61

933579R1

SNAP RING,M35, Int

Retaining M35, Int

1шт.

62

NSS

NOT SOLD SEPARAT

RING retaining

2шт.

63

933032R1

SNAP RING,M52, Int

RING retaining, internal, 56 mm OD

1шт.

64

1992233C1

PLUG

VALVE PLUG ASSEMBLY, Includes Ref. 65 and 66

2шт.

65

1992238C1

SCREW

2шт.

66

1992239C1

O-RING

2шт.

75

1991799C1

VALVE

ASSEMBLY, Includes Ref. 76, 77 and 78

1шт.

76

1282749C1

O-RING

O-RING, 12 mm ID

1шт.

Part of Seal Kit P/N 1992240C1

1шт.

77

1992380C1

O-RING,0.739" ID x 0.879" OD x 0.07"

2шт.

Part of Seal Kit P/N 1992240C1

1шт.

78

1992236C1

O-RING

1шт.

Part of Seal Kit P/N 1992240C1

1шт.

79

1991873C1

SLEEVE CYLINDER

VALVE ASSEMBLY, Includes Ref. 80 and 81

2шт.

80

1273793C1

O-RING

O-RING, 14 mm ID

2шт.

Part of Seal Kit P/N 1992240C1

1шт.

81

1992237C1

BACK-UP RING

2шт.

Part of Seal Kit P/N 1992240C1

1шт.

1992240C1

SEAL KIT

Seal, Includes Ref. 45, 49, 50, 55, 56, 76, 77, 78, 80, 81 and Ref. 19 on Figure 6-26

1шт.

1992243C1

PUMP

ASSY

1шт.

Выбрано товаров: 46