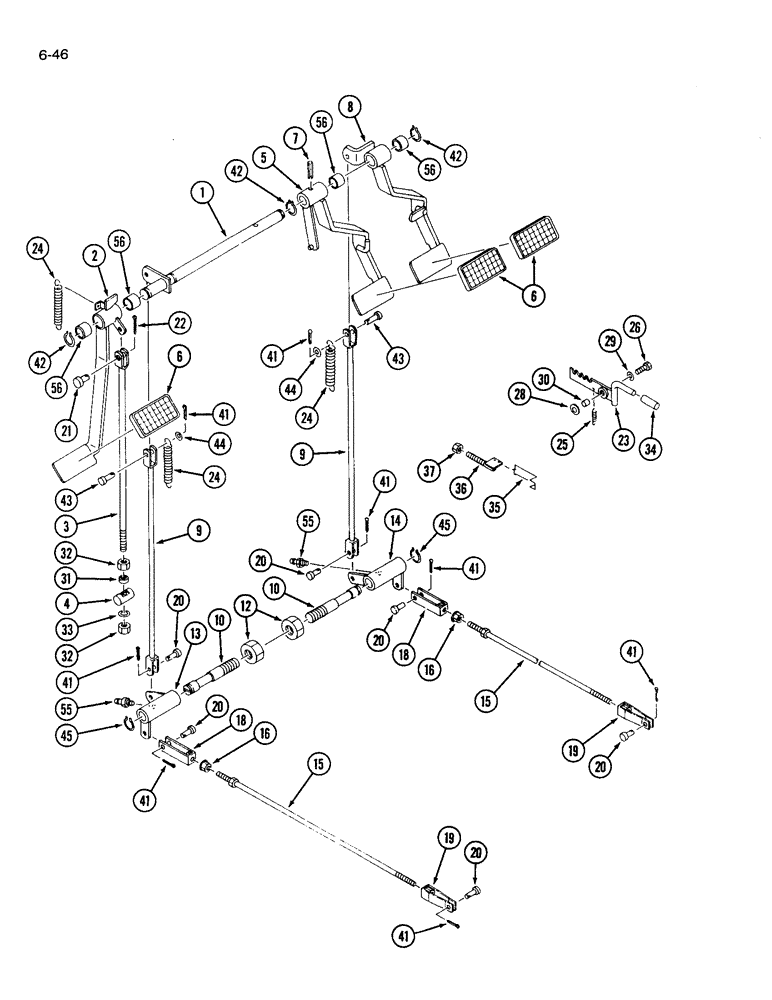
Запчасти Case IH 1120 (6-46) - CLUTCH AND BRAKE PEDALS, GEAR, HYDROSTATIC, DUAL (06) - POWER TRAIN

Схема запчастей Case IH 1120 - (6-46) - CLUTCH AND BRAKE PEDALS, GEAR, HYDROSTATIC, DUAL (06) - POWER TRAIN
34
35
19
20
9
21
56
1
42
43
30
36
4
41
32
13
10
55
24
25
56
14
45
41
16
8
10
20
23
24
20
24
7
18
12
56
44
43
2
18
42
41
6
37
44
15
31
16
22
41
42
28
26
41
33
32
45
20
41
29
41
20
55
41
15
20
6
9
19
56
3
5
FIT
1:1
100%

Артикул

Название

Примечание

Количество

1

1991398C1

SHAFT

brake pedal

1шт.

2

1991399C1

PEDAL

clutch, gear and hydrostatic

1шт.

2

1992587C1

PEDAL

clutch, dual only

1шт.

3

1991400C1

ROD

clutch linkage, gear and hydrostatic

1шт.

3

1992588C1

ROD

clutch linkage, dual linkage

1шт.

4

1991401C1

PIN

STOP spring adjustment

1шт.

5

1991402C1

PEDAL

brake, left, gear and dual

1шт.

5

1992248C1

PIN, ROLL

PEDAL brake, left, hydrostatic only

1шт.

6

1992325C1

COVER

foot pedal

3шт.

7

1992248C1

PIN, ROLL

PIN spring

1шт.

8

1991403C1

PEDAL

brake, right, gear and dual

1шт.

8

1992285C1

PEDAL

brake, right, hydrostatic only

1шт.

9

1991404C1

ROD

brake linkage

2шт.

10

1991405C1

SHAFT

brake

2шт.

12

825-13424

NUT,M24 x 2, Cl 8

2шт.

13

1991406C1

LINK

brake, left

1шт.

14

1991407C1

LINK

brake, right

1шт.

15

1991408C1

ROD

brake linkage

2шт.

16

825-11010

NUT hex, 10 - 1.5 mm

2шт.

892-11010

LOCK WASHER,M10

2шт.

895-11010

WASHER,11mm ID x 20mm OD x 2mm Thk

flat, 11 x 21 x 2 mm

2шт.

18

1269813C1

YOKE

brake arm

2шт.

19

1992586C1

JOINT

CLEVIS brake rod

2шт.

20

1962996C1

CLEVIS PIN

PIN clevis

6шт.

21

1992757C1

CLEVIS PIN

PIN clevis, gear and hydrostatic

1шт.

21

1992851C1

CLEVIS PIN

PIN clevis, dual only

1шт.

22

732-3220

COTTER PIN,M3.2 x 20

PIN cotter, 3.2 x 20 mm, gear and hydrostatic

1шт.

22

732-4025

COTTER PIN,M4 x 25

PIN cotter, 4 x 25 mm, dual only

1шт.

23

1992326C1

LEVER

parking brake

1шт.

24

1992327C1

SPRING

clutch linkage, for brake and clutch linkages

3шт.

25

1269815C1

VALVE SPRING

SPRING, for parking brake

1шт.

26

614-8025

BOLT,Hex, M8 x 1.25 x 25mm, Cl 8.8, Full Thd

hex, 8 - 1.25 x 25 mm

1шт.

892-11008

LOCK WASHER,8mm ID

WASHER, LOCK, M8

1шт.

28

1992809C1

SLEEVE CYLINDER

WASHER

1шт.

29

896-16008

WASHER,9mm ID x 21mm OD x 2.5mm Thk

- flat, 9 x 17 x 2 mm, hardened

1шт.

30

1269821C1

SPACER

ratchet

1шт.

31

1992329C1

COLLAR

clutch rod

1шт.

32

825-11412

NUT,M12 x 1.25, Cl 8

hex, 12 mm - 1.25

2шт.

33

892-11012

LOCK WASHER,M12

WASHER, LOCK, M12

1шт.

34

1992303C1

GRIP

handle

1шт.

35

1992330C1

HOOK

clutch pedal

1шт.

36

1992331C1

BOLT

stopper

1шт.

37

825-11412

NUT,M12 x 1.25, Cl 8

hex, 12 mm - 1.25

1шт.

41

732-2516

COTTER PIN,M2.5 x 16

PIN hair

8шт.

42

933128R1

SNAP RING,M25, Ext

RING retaining, external, 23 mm ID

3шт.

43

1992852C1

CLEVIS PIN

PIN clevis

1шт.

44

895-11008

WASHER,9mm ID x 16mm OD x 1.6mm Thk

flat, 9 x 17 x 1.6 mm

2шт.

45

933105R1

SNAP RING,M22, Ext

RING retaining, external, 20 mm ID

2шт.

55

219-1

LUBE NIPPLE,1/8" - 27 NPTF

FITTING grease, straight, 1/8 PT x 21/32 inch

2шт.

56

1991217C1

BUSHING

4шт.

Выбрано товаров: 50