Запчасти Case IH 1130 (3-14) - THROTTLE CONTROLS (03) - FUEL SYSTEM

Схема запчастей Case IH 1130 - (3-14) - THROTTLE CONTROLS (03) - FUEL SYSTEM
27
4
22
23
5
16
21
8
17
14
26
18
2
25
20
28
1
3
12
15
18
FIT
1:1
100%

Артикул

Название

Примечание

Количество

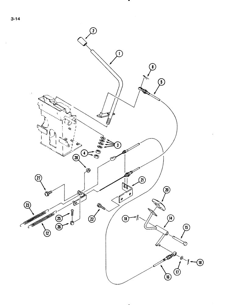
1

1992527C1

LEVER

- throttle

1шт.

2

1992271C1

GRIP

KNOB - throttle lever

1шт.

3

1269855C1

WASHER

- spring

4шт.

4

825-11412

NUT,M12 x 1.25, Cl 8

- hex, 12 mm

2шт.

5

1991107C1

CABLE

- control

1шт.

8

732-2516

COTTER PIN,M2.5 x 16

PIN - cotter, 2.5 x 16 mm

1шт.

10

1991109C1

PLATE

- connector, cable

1шт.

12

1991294C1

SPRING

- compression (1130 Tractor)

1шт.

12

1991111C1

SPRING

- compression (1140 Tractor)

1шт.

14

1991112C1

PEDAL

- foot throttle (Mechanical drive)

1шт.

15

1991126C1

PIN

- foot throttle (Mechanical drive)

1шт.

16

1991113C1

CABLE

- throttle (Mechanical drive)

1шт.

17

895-11006

WASHER,6.6mm ID x 12mm OD x 1.6mm Thk

(Mechanical drive) M6

1шт.

18

732-2516

COTTER PIN,M2.5 x 16

PIN - cotter, 2.5 x 16 mm (Mechanical drive)

2шт.

20

1992272C1

PEDAL

COVER - pedal (Mechanical drive)

1шт.

21

1991108C1

BRACKET

- cable

1шт.

22

614-6020

BOLT,Hex, M6 x 1 x 20mm, Cl 8.8, Full Thd

2шт.

892-11006

LOCK WASHER,M6

WASHER, LOCK, M6

2шт.

23

1992430C1

SPRING

- compression (1130 Tractor - Mechanical drive)

1шт.

23

1991294C1

SPRING

- compression (1140 Tractor - Mechanical drive)

1шт.

25

1963249C1

SCREW

1шт.

26

1981369C1

JOINT TURNING

NUT

1шт.

27

540-703

SCREW,Cross Pan Hd, M6 x 12, 8.8

- pan head, cross recess, 6 x 12 mm

1шт.

892-11006

LOCK WASHER,M6

WASHER, LOCK, M6

1шт.

895-11006

WASHER,6.6mm ID x 12mm OD x 1.6mm Thk

1шт.

28

825-5146

SERRATED NUT,M6, Flg Ser

1шт.

892-11006

LOCK WASHER,M6

WASHER, LOCK, M6

1шт.

Выбрано товаров: 27