Запчасти Case IH 1130 (6-50) - REAR WHEELS (06) - POWER TRAIN

Схема запчастей Case IH 1130 - (6-50) - REAR WHEELS (06) - POWER TRAIN
9
3
16
6
2
12
7
11
10
17
8
1
18
15
4
FIT
1:1
100%

Артикул

Название

Примечание

Количество

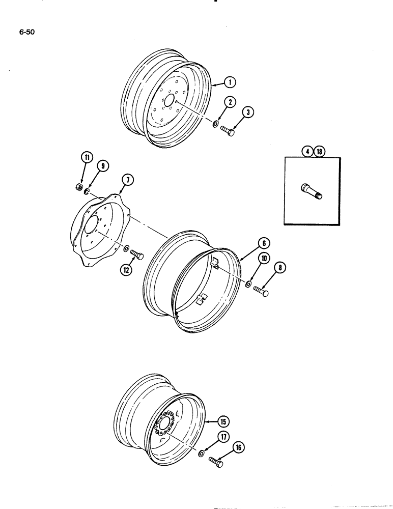
1

1988185C1

RIM

WHEEL - rear, 24 x W8 (For 9.5-24 R1 tire), agricultural tires one peice

2шт.

2

514-917

BOLT,Hex, M14 x 1.5 x 30mm, Cl 8.8, Full Thd

BOLT - hex, 14 mm - 1.50 x 30 mm, agricultural tires one peice

12шт.

3

896-11014

WASHER,15.5mm ID x 28mm OD x 3mm Thk

- flat, 14 mm, hardened, agricultural tires one peice

12шт.

4

387897R91

VALVE STEM

VALVE - wheel, agricultural tires one peice

2шт.

6

1963760C1

WHEEL (STEERING)

RIM - wheel, 24 x W10 (For 11.2-24R1 tire), agricultural two peice

2шт.

7

1963754C1

WHEEL (STEERING)

DISC - wheel, 24 x W10, agricultural two peice

2шт.

8

363800R2

BOLT,5/8" - 18 x 3 1/8"

- rear wheel rim clamp, agricultural two peice

12шт.

9

492-11062

BEARING WASHER,5/8"

WASHER, LOCK, , Agricultural two peice 5/8"

12шт.

10

369730R2

WASHER

- flat, 21/32 x 1-5/15 x 9/64 inch, agricultural two peice

12шт.

11

352777R2

WHEEL NUT

- rear wheel, 5/8 inch NC, Grade 8, agricultural two peice

12шт.

12

514-917

BOLT,Hex, M14 x 1.5 x 30mm, Cl 8.8, Full Thd

BOLT - hex, 14 mm - 1.50 x 30 mm, agricultural two peice

12шт.

13

896-11014

WASHER,15.5mm ID x 28mm OD x 3mm Thk

- flat, 14 mm, hardened, agricultural two peice

12шт.

15

1988188C1

RIM

WHEEL - rear, 20 x W11H (For 38 x 14-20 tire) (1130 Tractor), turf tires

2шт.

15

1988188C1

RIM

WHEEL - rear, 20 x W11H (For 41 x 14-20 tire) (1140 Tractor), turf tires

2шт.

16

514-917

BOLT,Hex, M14 x 1.5 x 30mm, Cl 8.8, Full Thd

BOLT - hex, 14 mm - 1.50 x 30 mm, turf tires

12шт.

17

896-11014

WASHER,15.5mm ID x 28mm OD x 3mm Thk

- flat, 14 mm, hardened, turf tires

12шт.

18

387897R91

VALVE STEM

VALVE - wheel, turf tires

2шт.

Выбрано товаров: 17