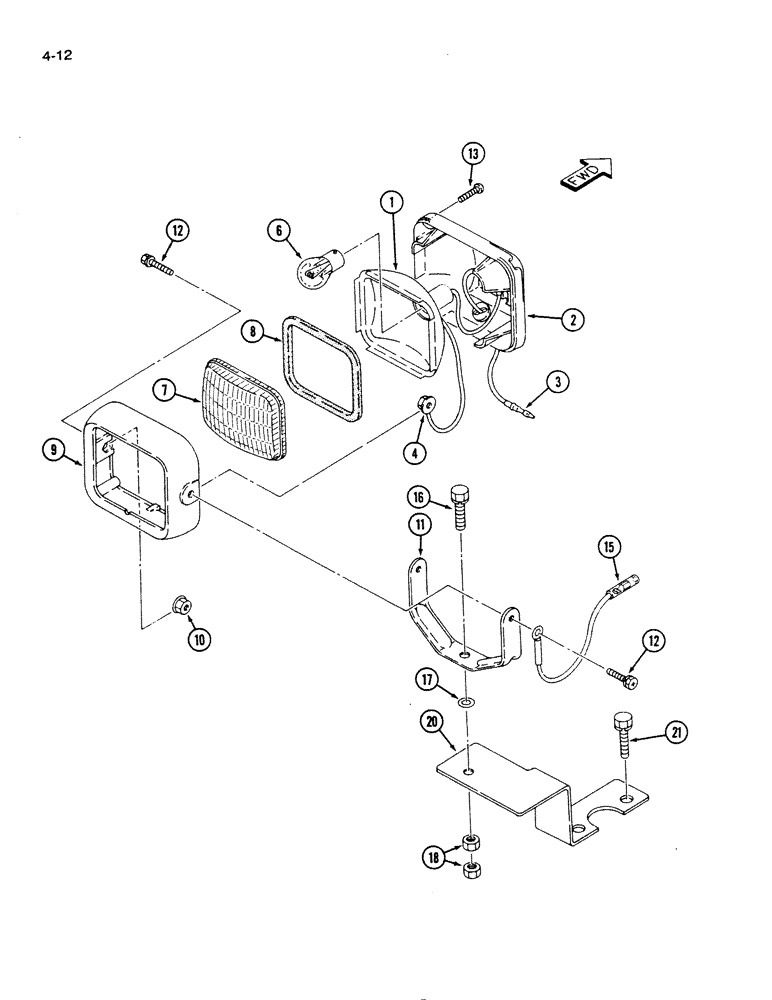
Запчасти Case IH 1140 (4-12) - REAR WORK LAMP (04) - ELECTRICAL SYSTEMS

Схема запчастей Case IH 1140 - (4-12) - REAR WORK LAMP (04) - ELECTRICAL SYSTEMS
3
11
8
15
2
6
12
1
7
20
12
10
21
18
9
13
4
17
16
FIT
1:1
100%

Артикул

Название

Примечание

Количество

1992701C1

LAMP

ASSEMBLY - work, Includes: Ref. 1 - 13

1шт.

1

NSS

NOT SOLD SEPARAT

REFLECTOR - lamp

1шт.

2

NSS

NOT SOLD SEPARAT

HOUSING - lamp

1шт.

3

NSS

NOT SOLD SEPARAT

WIRE - electric

1шт.

4

NSS

NOT SOLD SEPARAT

NUT

1шт.

6

1992704C1

BULB

- lamp

1шт.

7

1992705C1

BRACKET

LENS - work lamp

1шт.

8

1992828C1

GASKET

- lens

1шт.

9

NSS

NOT SOLD SEPARAT

RIM - lamp

1шт.

10

825-5146

SERRATED NUT,M6, Flg Ser

1шт.

11

1992824C1

STAY

BRACKET - housing

1шт.

12

628-6016

BOLT,Hex, M6 x 16mm, Cl 10.9, Full Thd

- hex, 6 mm - 1.00 x 16 mm, Grade 10.9

2шт.

892-11006

LOCK WASHER,M6

WASHER, LOCK, M6

2шт.

13

1992830C1

SELF-TAP SCREW

- tapping

4шт.

15

1992706C1

HARNESS

- wiring

1шт.

16

614-8025

BOLT,Hex, M8 x 1.25 x 25mm, Cl 8.8, Full Thd

- hex, 8 mm - 1.25 x 25 mm

1шт.

892-11008

LOCK WASHER,8mm ID

WASHER, LOCK, M8

1шт.

17

895-11008

WASHER,9mm ID x 16mm OD x 1.6mm Thk

- flat, 9 x 17 x 1.6 mm

1шт.

18

825-1408

NUT,M8, Cl 8

2шт.

20

1992707C1

BRACKET

- mounting

1шт.

21

614-8012

BOLT,Hex, M8 x 1.25 x 12mm, Cl 8.8, Full Thd

- hex, 8 mm - 1.25 x 12 mm

2шт.

892-11008

LOCK WASHER,8mm ID

WASHER, LOCK, M8

2шт.

Выбрано товаров: 22