Запчасти Case IH 1190 (H-01) - STEERING BOX, TRACTORS WITH MANUAL STEERING (13) - STEERING SYSTEM

Схема запчастей Case IH 1190 - (H-01) - STEERING BOX, TRACTORS WITH MANUAL STEERING (13) - STEERING SYSTEM
20
23
8
3
31
17
27
21
30
18
12
29
21
24
15
18
15
10
19
13
16
22
2
26
25
15
11
5
1
9
6
4
30
7
32
14
33
19
32
20
28
FIT
1:1
100%

Артикул

Название

Примечание

Количество

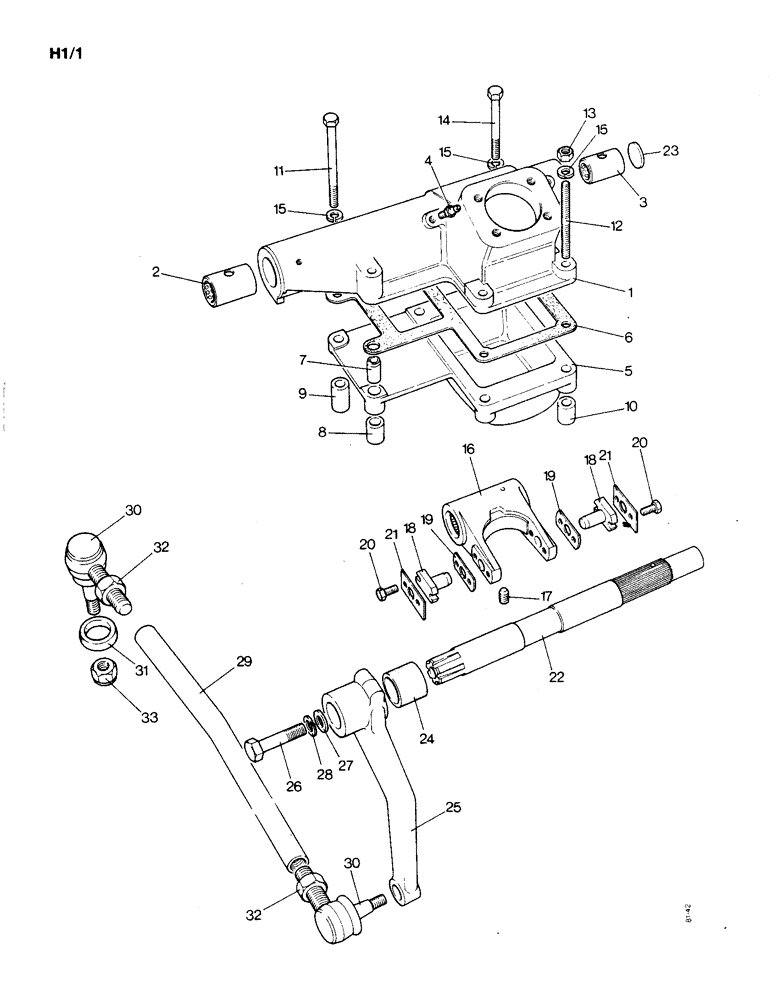
1

K962511

HOUSING

STEERING BOX, Includes Ref: 2 and 3

1шт.

2

K621301

BUSHING

- long

2шт.

3

K621300

BUSHING

- short

1шт.

4

219-8

LUBE NIPPLE,1/4" - 28 NPTF

NIPPLE, LUBE, , ANF, Order K966110 (10) 1/4"-28 NPT x .54" lg

3шт.

5

K200282

SUMP

- steering box

1шт.

6

K89395

GASKET

- sump

1шт.

7

K622042

RING

DOWEL - 17/32" diameter x 1-1/8"

4шт.

8

K200813

BUSHING

SPACER - 7/8"

2шт.

9

K200815

BUSHING

SPACER - 1-7/16"

1шт.

10

K201515

BUSHING

SPACER - 7/8"

3шт.

11

K600516

BOLT

- 3/8 UNC x 4-3/4"

2шт.

12

K608241

STUD

- 3/8 UNC x 4-1/8"

2шт.

13

280136

NUT,3/8"-16, G8

Order K966474 (10) 3/8"-16, G8

2шт.

14

K600418

BOLT

- 3/8 UNC x 3-1/2"

2шт.

15

K19482

SPRING WASHER

WASHER - lock, 3/8", order K966206 (10)

6шт.

16

K943909

LEVER

ROCKET ARM

1шт.

17

K606406

SCREW

- 3/8 UNC

1шт.

18

K912108

BALL

PEG

2шт.

19

K900945

GASKET

SHIM - 0.003", order K966962 (10)

1шт.

19

K900946

SHIM,.005" Thk

Order K966963 (10) .005" Thk

1шт.

19

K900947

GASKET

SHIM - 0.007", order K966964 (10)

1шт.

19

K900948

SHIM,.010" Thk

Order K966965 (10) .010" Thk

1шт.

20

K602733

SCREW

BOLT - 1/4 UNC x 5/8", order K966398 (10)

4шт.

21

K912109

WASHER

TABWASHER - order K967300 (10)

2шт.

22

K943910

SHAFT

- drop arm

1шт.

23

K10050

PLUG

CORE PLUG - 1-1/4", order K966002 (10)

1шт.

24

K86963

LARGE HOSE

DUST SHIELD

1шт.

25

K200716

ARM

DROP ARM

1шт.

26

K600808

BOLT

- 1/2 UNC x 2-1/4"

1шт.

27

K910646

WASHER

- 1/2", special

1шт.

28

K626345

LOCK WASHER

WASHER - lock, 1/2", order K966716 (10)

1шт.

K204378

LINK

DRAG LINK ASSEMBLY, Includes Ref: 29 - 33

1шт.

29

K204379

LINK

DRAG LINK TUBE

1шт.

30

K915962

BALL JOINT

BALL SOCKET ASSEMBLY, Includes Ref: 31 - 33

2шт.

31

K962155

CAP

RUBBER COVER

1шт.

32

K622500

LOCK NUT

LOCKNUT - 3/4", special

1шт.

33

131-377

LOCK NUT,5/8"-11, GC

NUT - 1/2 UNF, self-locking

1шт.

Выбрано товаров: 37