Запчасти Case IH 1190 (J-01) - MECHANICAL BRAKING SYSTEM (5.1) - BRAKES

Схема запчастей Case IH 1190 - (J-01) - MECHANICAL BRAKING SYSTEM (5.1) - BRAKES
35
35
2
37
12
6
21
27
32
14
4
33
14
5
31
22
1
3
18
10
11
29
19
17
9
27
23
18
36
16
25
27
20
7
33
24
28
30
28
13
34
26
15
8
FIT
1:1
100%

Артикул

Название

Примечание

Количество

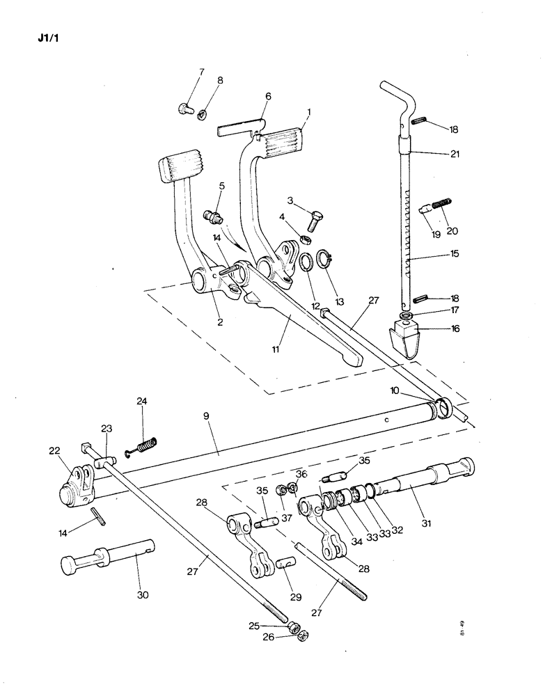
1

K201223

BRAKE

PEDAL - right hand

1шт.

2

K201222

BRAKE

PEDAL - left hand

1шт.

3

K603009

SCREW

SET SCREW - 7/16 UNC x 1-3/4", right hand pedal

1шт.

4

425-147

JAM NUT,Jam, 7/16"-14, G5

LOCKNUT - 7/16 UNC, right hand pedal - order K966478 (10)

1шт.

5

219-8

LUBE NIPPLE,1/4" - 28 NPTF

NIPPLE, LUBE, , ANF, Order K966110 (10) 1/4"-28 NPT x .54" lg

1шт.

6

K940670

PLATE

LOCKING PLATE - pedals

1шт.

7

K600500

SCREW

BOLT - 3/8" UNC, special

1шт.

8

K626700

WASHER

- lock, 3/8", double coil - order K966756 (10)

1шт.

9

K201221

BRAKE

CROSS SHAFT

1шт.

10

K621309

BUSHING

2шт.

11

K201669

LEVER

OPERATING LEVER - hand brake

1шт.

12

K627467

WASHER

- 1-1/4"

1шт.

13

K11129

RING, SNAP

RETAINING RING - 1-1/4" external

1шт.

14

K11737

PIN

- 3/8 x 2-1/4", order K966066 (10)

2шт.

15

K201647

LEVER

HAND LEVER

1шт.

16

K949260

FORK

STIRRUP

1шт.

17

K626736

WASHER

- 5/8" special, order K966759 (10)

1шт.

18

K623892

PIN

SPRING PIN - 5/16 x 1-1/2", order K966638 (10)

2шт.

19

K909588

PAWL

- hand lever

1шт.

20

K14651

SPRING

- order K966119 (10)

1шт.

21

K627335

BUSHING

SPACER

1шт.

22

K201220

LEVER

- cross shaft

1шт.

23

K919706

PIN

- brake rods

2шт.

24

K624967

SPRING

RETURN SPRING

2шт.

25

K607504

NUT

ADJUSTING NUT - 3/8" UNC

2шт.

26

280136

NUT,3/8"-16, G8

Order K966474 (10) 3/8"-16, G8

2шт.

27

K201236

BRAKE

ROD

2шт.

28

K928589

LEVER

CAM LEVER

2шт.

29

K14744

PIN

- cam lever

2шт.

30

K956734

BRAKE

CAMSHAFT - left hand

1шт.

31

K956735

BRAKE

CAMSHAFT - right hand

1шт.

32

K623561

O-RING,0.139" Thk x 0.859" ID, -212, Cl 5, 75 Duro

- 1" internal diameter

2шт.

33

K30835

BUSHING

- axle case

4шт.

34

K85417

SEAL

DIRT EXCLUDER

2шт.

35

K609425

LARGE PIN

PIN - 3/8" UNC

2шт.

36

K19472

WASHER

- 3/8", order K966202 (10)

2шт.

37

280136

NUT,3/8"-16, G8

Order K966474 (10) 3/8"-16, G8

2шт.

Выбрано товаров: 37