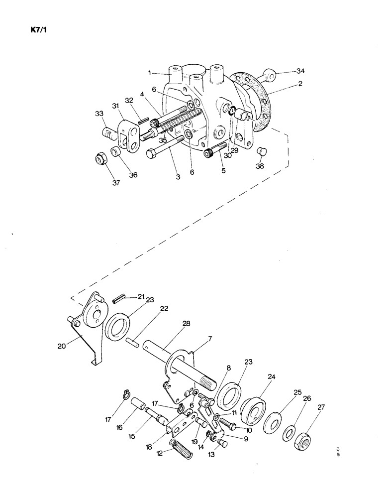
Запчасти Case IH 1190 (K-07) - CONTROL HOUSING (07) - HYDRAULICS

Схема запчастей Case IH 1190 - (K-07) - CONTROL HOUSING (07) - HYDRAULICS
19
30
13
6
35
1
18
21
12
14
10
2
6
8
3
20
11
29
23
31
36
24
33
23
37
15
7
26
6
27
5
17
34
16
28
22
9
17
4
32
38
25
FIT
1:1
100%

Артикул

Название

Примечание

Количество

1

K203693

HOUSING

1шт.

2

K903026

GASKET

- housing to rear axle case

1шт.

3

K600217

BOLT

- 5/16 UNC x 3", housing to rear axle case - order K966379 (10)

1шт.

4

K606570

SOCKET/RECEPTACLE

BOLT - 5/16 UNC x 3", housing to rear axle case

1шт.

5

K606558

SCREW

BOLT - 5/16 UNC x 1-1/2", housing to rear axle case

1шт.

6

K19481

SPRING WASHER

WASHER - lock, 5/16", housing to rear axle case - order K966205 (10)

3шт.

7

K950555

BRACKET

FRICTION PLATE

1шт.

8

K602846

SCREW,5/16" - 18 x 5/8", Gr S

BOLT - 5/16 UNC x 5/8", plate to housing - order K966415 (10)

2шт.

6

K19481

SPRING WASHER

WASHER - lock, 5/16", plate to housing - order K966205 (10)

2шт.

9

K949541

SPRING

CARRIER

1шт.

10

K602746

SCREW,1/4" - 20 x 1/2"

BOLT - 1/4 UNC x 1/2", special, Serial Range: carrier-plate

2шт.

11

K19470

WASHER

- 1/4", carrier to plate - order K966201 (10)

2шт.

12

K950773

SPRING

TENSION SPRING -, Serial Range: carrier-plate

1шт.

13

K949554

PIN

CLEVIS PIN

1шт.

14

K621482

RING, SNAP

RETAINING RING - 5/16", external, order K967317 (10)

1шт.

15

K949543

PIN

- roller

1шт.

16

K949544

ROLLER

- 3/8 x 11/16

1шт.

17

K24568

SNAP RING,#25, Ext

Ring, Snap, , Order K967391 (10) #25, Ext

1шт.

18

K949542

SPRING

RETURN LEVER - spring

1шт.

19

K949545

PIN

PIVOT PIN - 1/4 x 3/4"

2шт.

17

K24568

SNAP RING,#25, Ext

Ring, Snap, , Order K967391 (10) #25, Ext

2шт.

20

K202811

LEVER

FRICTION LEVER

1шт.

21

K623942

PIN

SPRING PIN - 5/32 x 1-1/4", order K966646 (10)

1шт.

22

K621811

PIN

DOWEL - order K966594 (10)

2шт.

23

K909582

WASHER

FRICTION WASHER

2шт.

24

K950864

PLATE

FRICTION PLATE

1шт.

25

K626740

WASHER

BELLEVILLE WASHER - 5/8"

2шт.

26

K626686

WASHER

- 1/2", order K966755 (10)

1шт.

27

K617273

NUT

- 1/2 UNF, self locking

1шт.

28

K965922

SHAFT

1шт.

29

K627068

BUSHING

PLASTIC SLEEVE - order K966787 (10)

1шт.

30

K623424

RING

SEALING RING - 1/2" internal diameter

1шт.

31

K909584

FORK

1шт.

32

K623940

PIN

SPRING PIN - order K966644 (10)

1шт.

33

K903370

PIN

1шт.

34

K909585

ROD

CONNECTING ROD

1шт.

35

K625161

SPRING

1шт.

36

K903368

COLLAR

2шт.

37

231-1435

LOCK NUT,5/16"-18, GB

NUT - 5/16" UNC, self-locking

1шт.

38

K623780

PLUG

- 3/8"

1шт.

Выбрано товаров: 40