Запчасти Case IH 1290 (N-05) - ENGINE FRONT GRILLE, 1290 P.I.N. 11054201 & AFTER, 1390 P.I.N. 11127048 & AFTER (08) - SHEET METAL

Схема запчастей Case IH 1290 - (N-05) - ENGINE FRONT GRILLE, 1290 P.I.N. 11054201 & AFTER, 1390 P.I.N. 11127048 & AFTER (08) - SHEET METAL
14
22
11
8
7
16
17
1
27
25
13
6
16
14
21
26
19
15
12
28
10
24
9
3
20
2
5
15
23
18
4
FIT
1:1
100%

Артикул

Название

Примечание

Количество

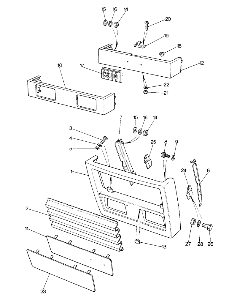
1

K301692

HOOD

FRAME - grille, lower

1шт.

2

K300093

GUARD

GRILLE - lower

1шт.

3

K652464

SCREW

- M5 x 16 MM

4шт.

4

K651846

WASHER, LOCK

WASHER - lock, 5 MM

4шт.

5

K626946

WASHER

- 5 MM, special

4шт.

6

K304426

SUPPORT

- left-hand

1шт.

7

K304425

SUPPORT

- right-hand

1шт.

8

K624533

SCREW

- self-tapping

6шт.

9

K626552

WASHER

- lock, 8 MM

6шт.

10

K304823

BRACKET

RAIL - waist, front (Lamps in waist rail)

1шт.

11

K304397

PLUG

PLATE - blanking, grille (Lamps in waist rail)

1шт.

12

K304347

FRAME

RAIL - waist, front (Lamps below waist rail)

1шт.

13

K627874

PLUG

- headlamp adjusters (Lamps below waist rail)

4шт.

14

43362

NUT,M8 x 1.25, Cl 10

M8, Cl 10

4шт.

15

K626849

WASHER

- 8 MM, special

4шт.

16

K651848

WASHER

- lock, 8 MM

4шт.

17

K300238

EMBLEM CASE/IH

MEDALLION - Case logo

1шт.

18

K623280

NUT

- 1/4 inch, special

2шт.

19

K304945

FASTENER

CATCH - cover top

1шт.

20

K614946

SCREW,Pan, #10 - 32 x 3/4"

- No. 10 UNF x 3/4 inch

2шт.

21

K617299

LOCK NUT

- No. 10 UNF, self-locking

2шт.

22

K626340

RING

WASHER - lock, 3/16 inch

2шт.

23

K302152

PLATE

- grille (With outboard head lamps) (Not North America)

1шт.

24

K302149

BRACKET

- left-hand head lamp (With outboard head lamps) (Not North America)

1шт.

25

K302150

BRACKET

- right-hand head lamp (With outboard head lamps)

1шт.

26

K650341

SCREW

BOLT - M8 x 16 MM (With outboard head lamps) (Not North America)

4шт.

27

43362

NUT,M8 x 1.25, Cl 10

M8, Cl 10 (With outboard head lamps) (Not North America)

4шт.

28

K651848

WASHER

- lock, 8 mm (With outboard head lamps)

4шт.

Выбрано товаров: 28