Запчасти Case IH 1290 (N-11) - INSTRUMENT PANEL AND SUPPORT (08) - SHEET METAL

Схема запчастей Case IH 1290 - (N-11) - INSTRUMENT PANEL AND SUPPORT (08) - SHEET METAL
6
13
5
8
10
4
1
9
14
3
2
12
7
11
FIT
1:1
100%

Артикул

Название

Примечание

Количество

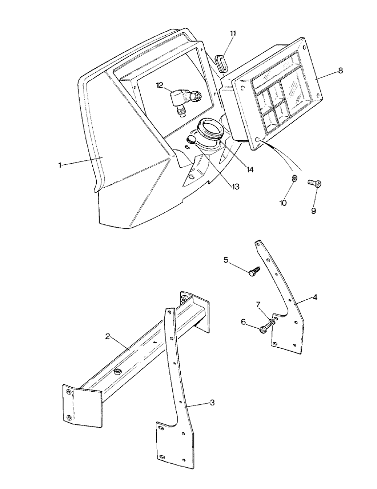
1

K300774

PANEL

- instrument

1шт.

2

K302428

SUPPORT

BRACKET - support, engine hood rear

1шт.

3

K300274

PANEL

SUPPORT - instrument panel, left-hand

1шт.

4

K300275

PANEL

SUPPORT - instrument panel, right-hand

1шт.

5

K624534

SELF-TAP SCREW

SCREW - special

8шт.

6

K654047

SCREW

- M8 x 20 MM Phillips

4шт.

7

K651874

SPRING

WASHER - lock, 8 MM

4шт.

8

K300268

CLUSTER

- instrument, tractor with single-speed or reversible shaft PTO

1шт.

8

K300269

CLUSTER

- instrument, tractor with multi-speed PTO

1шт.

9

K652502

SCREW,Pan, M5 x 0.8 x 16mm

- M5 x 10 MM Phillips

4шт.

10

K651846

WASHER, LOCK

WASHER - lock, 5 MM

4шт.

11

K627761

GROMMET

- throttle lever

1шт.

12

K201998

ADAPTER

- engine speed indicator drive

1шт.

13

K627742

GROMMET

PLUG - rubber, instrument panel

1шт.

14

K304378

COVER

- steering column

1шт.

Выбрано товаров: 15