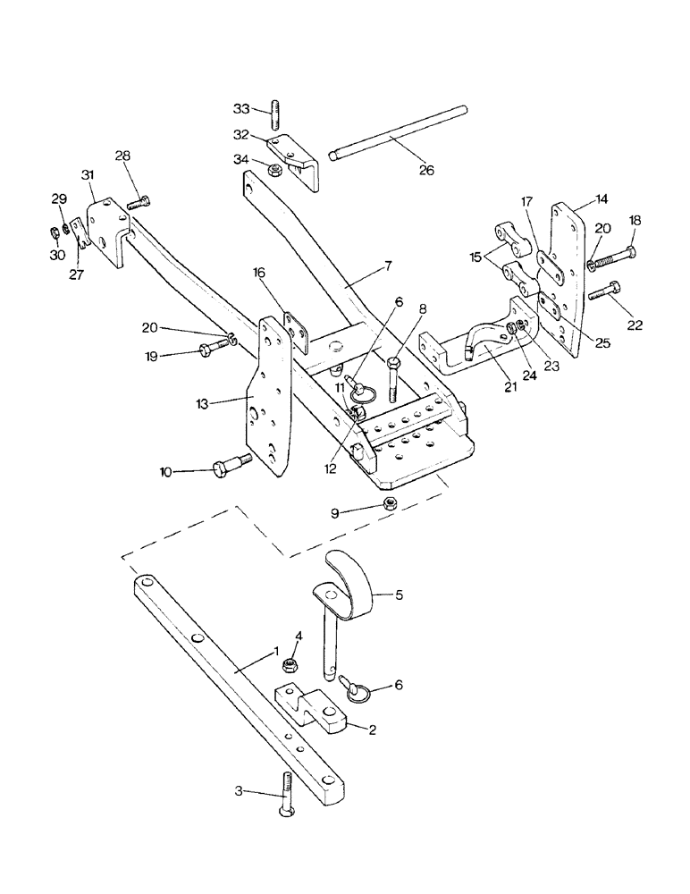
Запчасти Case IH 1290 (L-08) - UNIVERSAL DRAWBAR, 1290 TRACTOR (09) - IMPLEMENT LIFT

Схема запчастей Case IH 1290 - (L-08) - UNIVERSAL DRAWBAR, 1290 TRACTOR (09) - IMPLEMENT LIFT
34
21
32
3
27
7
19
31
26
12
23
8
6
25
30
16
28
11
4
29
20
17
5
1
15
18
13
6
24
33
2
9
22
14
20
10
FIT
1:1
100%

Артикул

Название

Примечание

Количество

UK1748

DRAWBAR, SWINGING

DRAWBAR ATTACHMENT - tractor, Includes Ref: 1 - 6

1шт.

1

K947668

DRAWBAR, SWINGING

DRAWBAR - tractor

1шт.

2

K916516

CLEVIS

BRACKET - clevis

1шт.

3

K601664

BOLT

- 5/8 UNC x 3-1/4 inch, special

2шт.

4

K607463

NUT

- self-locking, 5/8 inch UNC

2шт.

5

K946789

HITCH PIN

PIN - hitch

1шт.

6

K920359

PIN

ASSEMBLY - linch

2шт.

UK4600

FRAME

ATTACHMENT - support, Includes Ref: 7 - 34

1шт.

7

K947168

SUPPORT

FRAME - support, drawbar

1шт.

8

K601334

BOLT

- 5/8 UNC x 4-1/4 inch

2шт.

9

K607306

NUT

- self-locking, 5/8 inch UNC

2шт.

10

K908290

STEP BOLT

- 3/4 inch UNC, special

2шт.

11

K19486

WASHER, LOCK

WASHER - lock, 3/4 inch

2шт.

12

280954

NUT,3/4"-10, G5

- 3/4 inch UNC

2шт.

13

K947171

BRACKET

PLATE - hitch, left-hand

1шт.

14

K947173

BRACKET

PLATE - hitch, right-hand

1шт.

15

K917135

BUSHING

SPACER - hitch

2шт.

16

K916521

BUSHING

SPACER - hitch

1шт.

17

K917071

SHIM

- 1/16 inch

1шт.

17

K917072

SHIM

- 1/32 inch

1шт.

18

K601212

BOLT

- 5/8 UNC x 3 inch

4шт.

19

K601204

BOLT

- 5/8 UNC x 2 inch

4шт.

20

K19485

WASHER

- lock, 5/8 inch

8шт.

21

K947174

PLATE

- bridge, without pick-up hitch fitting

1шт.

22

K601360

BOLT

- 5/8 UNC x 2-1/2 inch

4шт.

23

K19485

WASHER

- lock, 5/8 inch

4шт.

24

280374

NUT,Hex, 5/8" - 11, Gr 5

4шт.

25

K947200

SHIM

- 1/16 inch

1шт.

25

K947201

SHIM

- 1/32 inch

1шт.

26

K943026

HINGE

BAR - hinge, front

1шт.

27

K301351

PLATE

- retaining, hinge bar

1шт.

28

K600475

BOLT

- 3/8 UNC x 1-1/2 inch

1шт.

29

K19482

SPRING WASHER

WASHER - lock, 3/8 inch

1шт.

30

280136

NUT,3/8"-16, G8

1шт.

31

K929818

BRACKET

- hinge, left-hand

1шт.

32

K929819

BRACKET

- hinge, right-hand

1шт.

33

K608610

STUD

- 5/8 UNC 2-1/2 inch

4шт.

34

K607306

NUT

- self-locking, 5/8 inch UNC

4шт.

Выбрано товаров: 0