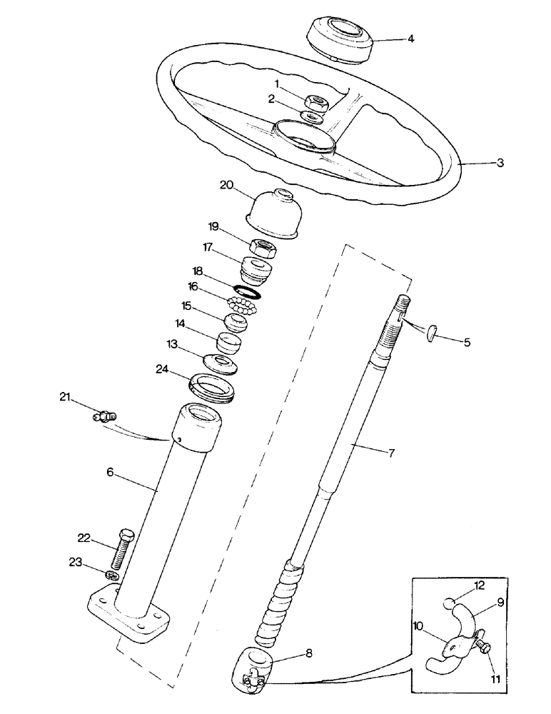
Запчасти Case IH 1290 (H-02) - STEERING COLUMN, MANUAL STEERING, NOT NORTH AMERICA (13) - STEERING SYSTEM

Схема запчастей Case IH 1290 - (H-02) - STEERING COLUMN, MANUAL STEERING, NOT NORTH AMERICA (13) - STEERING SYSTEM
12
19
1
17
9
16
5
2
8
13
21
6
23
14
7
24
18
22
4
20
10
3
15
11
FIT
1:1
100%

Артикул

Название

Примечание

Количество

1

425-1410

JAM NUT,Jam, 5/8"-11, G5

- 5/8 inch UNC

1шт.

2

K626671

WASHER

- 5/8 inch, special

1шт.

3

K956407

SCREW

WHEEL - steering

1шт.

4

K300074

COVER

CAP - hub

1шт.

5

K19608

KEY

- Woodruff, no. 606

1шт.

K956632

STEERING COLUMN

COLUMN ASSEMBLY - steering, Includes Ref: 6 - 21

1шт.

6

K200714

SUPPORT

COLUMN - steering

1шт.

7

K956633

SCREW

AND NUT ASSEMBLY - steering, Includes Ref: 8 - 12

1шт.

8

K961672

NUT

- steering

1шт.

9

K960990

TUBE NUT

TUBE - transfer, halves

2шт.

10

K960991

RETAINER

CLIP - transfer tubes

1шт.

11

K960992

BOLT

- 1/4 inch UNF, special

2шт.

12

K11286

BALL

- steel, 5/16 inch

28шт.

13

K903469

PAD, RUBBER

BAFFLE - rubber

1шт.

14

K903461

SPACER

SEATING - spherical

1шт.

15

K903462

SPHERICAL BEARING

BEARING - lower

1шт.

16

K13506

BALL

- steel, 3/8 inch

12шт.

17

K903463

BEARING CONE

CONE - bearing, adjustable

1шт.

18

K903468

O-RING,0.156" Thk x 1.234" ID, 75 Duro

- 1-1/4 inch ID

1шт.

19

K924967

NUT

- lock, column

1шт.

20

K923681

SEAL

COVER - column

1шт.

21

219-8

LUBE NIPPLE,1/4" - 28 NPTF

NIPPLE, LUBE, , UNF 1/4"-28 NPT x .54" lg

1шт.

22

K600606

BOLT

- 7/16 UNC x 2 inch

4шт.

23

K626344

WASHER, LOCK

WASHER - lock, 7/16 inch

4шт.

24

K304378

COVER

GROMMET - instrument panel

1шт.

Выбрано товаров: 25