Запчасти Case IH 1290 (D-09) - TRANSFER GEARBOX, CASE AND SELECTOR, MFD DAVID BROWN AXLE (03) - POWER TRAIN

Схема запчастей Case IH 1290 - (D-09) - TRANSFER GEARBOX, CASE AND SELECTOR, MFD DAVID BROWN AXLE (03) - POWER TRAIN
23
18
16
25
23
5
7
5
5
13
4
9
12
5
10
21
4
9
8
5
4
20
15
1
11
3
22
14
24
6
19
4
17
2
14
FIT
1:1
100%

Артикул

Название

Примечание

Количество

K956093

PRODUCT GRAPHIC

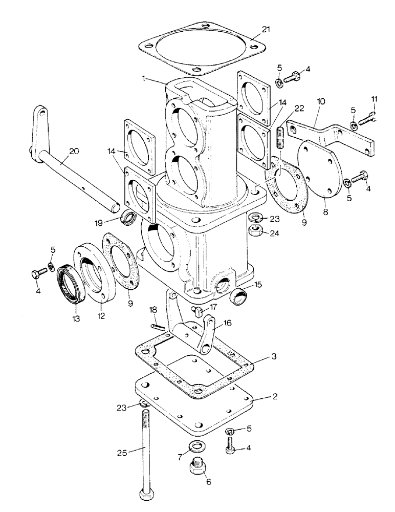
GEARBOX ASSEMBLY - transfer, includes parts on Fig. D10-1, Includes Ref: 1 - 25

1шт.

1

K956081

TRANSFER BOX

CASE - transfer

1шт.

2

K956082

COVER

- bottom

1шт.

3

K956083

GASKET

- cover

1шт.

4

K602849

SCREW

BOLT - 5/16 UNC x 7/8 inch

26шт.

5

K19481

SPRING WASHER

WASHER - lock, 5/16 inch

28шт.

6

K623849

PLUG

- drain, 1/2 inch BSP

1шт.

7

K626317

WASHER

- aluminum

1шт.

8

K951013

CAP

COVER - end, rear

1шт.

9

K951014

GASKET

- end cover

1шт.

10

K302689

BRACKET

- operating cable

1шт.

11

K602807

SCREW

BOLT - 5/16 UNC x 1-1/4 inch

2шт.

12

K951012

HOUSING

- oil seal

1шт.

13

K623483

OIL SEAL

- oil

1шт.

14

K955599

COVER

PLATE - end

4шт.

15

K623790

CORE

PLUG - core, 1-1/8 inch diameter

1шт.

16

K956086

FORK

- selector

1шт.

17

K956087

TRUNNION

PIN - trunnion, fork

1шт.

18

K623776

GROOVED PIN,1/4" x 1 1/8", Type A

Pin, Grooved, , fork to shaft 1/4" x 1 1/8", Type A

1шт.

19

K623407

OIL SEAL

- oil, 3/8 inch ID

1шт.

20

K203116

LEVER

SHAFT - selector

1шт.

21

K946451

GASKET

- laminated

1шт.

22

K608617

STUD

- 5/8 UNC x 2-1/8 inch

2шт.

23

K19485

WASHER

- lock, 5/8 inch

2шт.

24

280374

NUT,Hex, 5/8" - 11, Gr 5

2шт.

25

K601228

BOLT

- 5/8 UNC x 7-1/2 inch

2шт.

Выбрано товаров: 26