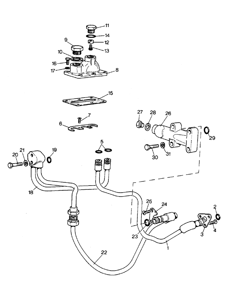
Запчасти Case IH 1290 (K-05) - HIGH PRESSURE TUBES, 1290 TRACTOR (07) - HYDRAULICS

Схема запчастей Case IH 1290 - (K-05) - HIGH PRESSURE TUBES, 1290 TRACTOR (07) - HYDRAULICS
3
20
18
30
8
28
27
10
21
1
15
14
5
13
4
26
22
11
23
25
12
17
29
24
7
2
31
9
6
19
16
FIT
1:1
100%

Артикул

Название

Примечание

Количество

1

K952172

PIPE,11.281, 5.687" L

TUBE - pump outlet

1шт.

2

K24676

O-RING,0.103" Thk x 0.612" ID, -114, Cl 6, 90 Duro

- 5/8 inch ID

1шт.

3

K89170

SHIM

PLATE - clamping

1шт.

4

K603662

SCREW

- 1/4 UNC x 5/8 inch

3шт.

5

K625405

O-RING,0.549" ID x 0.103" Width

- 9/16 inch ID

3шт.

6

K915344

WASHER

PLATE - locating

1шт.

7

K603662

SCREW

- 1/4 UNC x 5/8 inch

2шт.

8

K917127

CONNECTOR, ELEC

PLATE - connector, rear axle case

1шт.

9

K619528

PLUG

- 7/8 inch UNF, oil return

1шт.

10

K30085

GASKET

WASHER - fiber, 7/8 inch

1шт.

K947236

PLUG

ASSEMBLY - magnetic, Includes Ref: 11 - 13

1шт.

11

K946937

CAP

PLUG - 3/4 inch UNF

1шт.

12

K946949

MAGNET

- plug

1шт.

13

K19391

SCREW

- 4BA x 1/2 inch

1шт.

14

K623589

O-RING

- 5/8 inch ID

1шт.

15

K917387

GASKET

- plate

1шт.

16

K600403

BOLT

- 3/8 UNC x 1-3/8 inch

4шт.

17

K19482

SPRING WASHER

WASHER - lock, 3/8 inch

4шт.

18

K952171

PIPE,6.312" L

TUBE - control valve

1шт.

19

K625408

O-RING

- 7/16 inch ID

2шт.

20

K600561

BOLT

- 3/8 UNC x 1-5/8 inch

2шт.

21

K19482

SPRING WASHER

WASHER - lock, 3/8 inch

2шт.

22

K952173

PIPE,15.875, 11.062" L

TUBE - union to ram cylinder

1шт.

23

K24676

O-RING,0.103" Thk x 0.612" ID, -114, Cl 6, 90 Duro

- 5/8 inch ID

2шт.

24

K910105

WASHER

PLATE - clamping

1шт.

25

K603662

SCREW

- 1/4 UNC x 5/8 inch

2шт.

26

K910107

HYD CONNECTOR

CONNECTOR - tube to ram cylinder

1шт.

27

K619527

PLUG

- 1/2 inch UNF

1шт.

28

K15735

WASHER

- sealing, 1/2 inch

1шт.

29

K24555

O-RING,0.737" ID x 0.943" OD x 0.103"

- 3/4 inch ID

1шт.

30

K600475

BOLT

- 3/8 UNC x 1-1/2 inch

4шт.

31

K19482

SPRING WASHER

WASHER - lock, 3/8 inch

4шт.

Выбрано товаров: 0