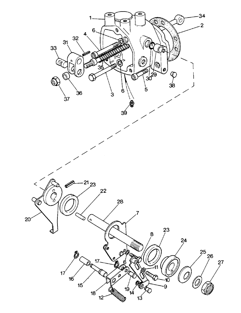
Запчасти Case IH 1290 (K-14) - CONTROL HOUSING (07) - HYDRAULICS

Схема запчастей Case IH 1290 - (K-14) - CONTROL HOUSING (07) - HYDRAULICS
37
23
10
8
33
6
32
15
34
29
13
16
27
36
4
6
18
2
35
5
26
1
9
39
7
30
14
24
22
23
21
25
3
6
11
17
38
31
20
12
17
19
28
FIT
1:1
100%

Артикул

Название

Примечание

Количество

1

K203693

HOUSING

- control

1шт.

2

K903026

GASKET

- housing

1шт.

3

K600217

BOLT

- 5/16 UNC x 3 inch

1шт.

4

K606570

SOCKET/RECEPTACLE

BOLT - 5/16 UNC x 3 inch

1шт.

5

K606558

SCREW

BOLT - 5/16 UNC x 1-1/2 inch

1шт.

6

K19481

SPRING WASHER

WASHER - lock, 5/16 inch

5шт.

7

K950555

BRACKET

PLATE - friction

1шт.

8

K602846

SCREW,5/16" - 18 x 5/8", Gr S

BOLT - 5/16 UNC x 5/8 inch

2шт.

9

K949541

SPRING

CARRIER - spring

1шт.

10

K602746

SCREW,1/4" - 20 x 1/2"

BOLT - 1/4 UNC x 1/2 inch, special

2шт.

11

K19470

WASHER

- 1/4 inch

2шт.

12

K950773

SPRING

- tension

1шт.

13

K949554

PIN

- clevis

1шт.

14

K621482

RING, SNAP

RING - snap, 5/16 inch, external

1шт.

15

K949543

PIN

- roller

1шт.

16

K949544

ROLLER

- pin

1шт.

17

K24568

SNAP RING,#25, Ext

Ring, Snap, #25, Ext

1шт.

18

K949542

SPRING

LEVER - return, spring

1шт.

19

K949545

PIN

- pivot, 1/4 x 3/4 inch

1шт.

20

K202811

LEVER

- friction

1шт.

21

K623942

PIN

- roll, 5/32 x 1-1/4 inch

2шт.

22

K621811

PIN

DOWEL - locating

2шт.

23

K909582

WASHER

- friction

2шт.

24

K950864

PLATE

- friction

1шт.

25

K626740

WASHER

- Belleville, 5/8 inch

2шт.

26

K626686

WASHER

- 1/2 inch

1шт.

27

K617273

NUT

- self-locking, 1/2 inch UNF

2шт.

28

K965922

SHAFT

- friction lever

1шт.

29

K627068

BUSHING

SLEEVE - plastic

1шт.

30

K623424

RING

- sealing, 1/2 inch ID

1шт.

31

K909584

FORK

- shifting

1шт.

32

K623940

PIN

- roll

1шт.

33

K903370

PIN

- rod

1шт.

34

K909585

ROD

- connecting

1шт.

35

K625161

SPRING

- return

1шт.

36

K903368

COLLAR

- rod

2шт.

37

231-1435

LOCK NUT,5/16"-18, GB

NUT - 5/16" UNC, self-locking

1шт.

38

K623780

PLUG

- 3/8 inch

1шт.

39

219-8

LUBE NIPPLE,1/4" - 28 NPTF

NIPPLE, LUBE, , ANF 1/4"-28 NPT x .54" lg

1шт.

Выбрано товаров: 39