Запчасти Case IH 1290 (K-19) - SINGLE REMOTE VALVE (07) - HYDRAULICS

Схема запчастей Case IH 1290 - (K-19) - SINGLE REMOTE VALVE (07) - HYDRAULICS
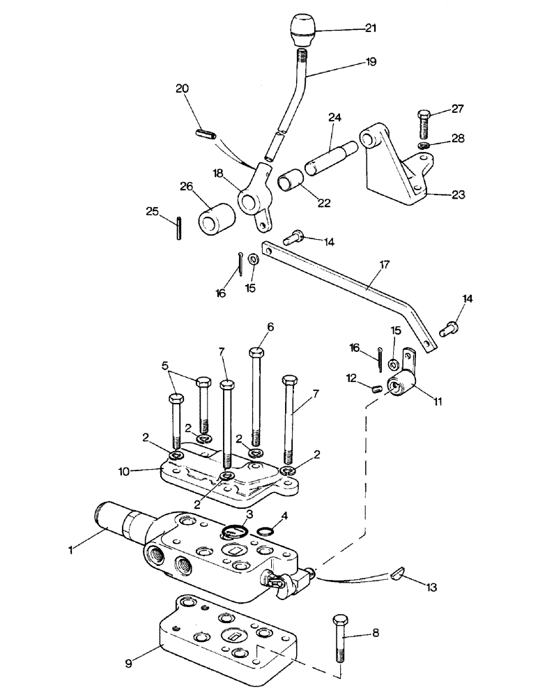
1
4
5
19
2
17
6
2
13
26
18
15
2
20
2
9
21
14
16
7
16
11
22
2
27
8
10
15
12
3
23
14
25
24
7
28
FIT
1:1
100%

Артикул

Название

Примечание

Количество

UK5024

VALVE

ATTACHMENT - detented valve

1шт.

1

K956421

VALVE

ASSEMBLY - see page K22-1

1шт.

K956421 does not include K919242 Plate

1шт.

UK5025

VALVE

ATTACHMENT - spring-centered valve

1шт.

1

K202998

VALVE

ASSEMBLY - see page K22-1

1шт.

UK5020

VALVE

FITTING ATTACHMENT - single pump (1290)

1шт.

UK5022

VALVE

FITTING ATTACHMENT - tandem pump (1290)

1шт.

UK5018

VALVE

FITTING ATTACHMENT - valve (1390), Includes Ref: 2 - 10

1шт.

2

K19482

SPRING WASHER

WASHER - lock, 3/8 inch

5шт.

3

K623588

O-RING,2.69mm Thk x 29.97mm ID, 75 Duro

- 1-3/16 inch ID

1шт.

4

K24852

O-RING,0.103" Thk x 0.674" ID, -115, Cl 6, 90 Duro

- 11/16 inch ID

5шт.

5

K600515

BOLT

- 3/8 UNC x 2-3/4 inch

2шт.

6

K600517

BOLT

- 3/8 UNC x 5-1/4 inch (Single pump) (1290)

1шт.

6

K600513

BOLT

- 3/8 UNC x 6 inch (Tandem pump) (1290)

1шт.

6

K600512

BOLT

- 3/8 UNC x 4-1/2 inch (1390)

1шт.

7

K600516

BOLT

- 3/8 UNC x 4-3/4 inch (Single pump) (1290)

2шт.

7

K600518

BOLT

- 3/8 UNC x 5-1/2 inch (Tandem pump) (1290)

2шт.

7

K600511

BOLT

- 3/8 UNC x 4-1/4 inch (1390)

2шт.

8

K600510

BOLT

- 3/8 UNC x 2 inch (1390)

1шт.

9

K203509

BASE

PLATE - base (1390)

1шт.

10

K919242

COVER

PLATE - cover (1390)

1шт.

UK5029

VALVE

CONTROL ATTACHMENT - valve (1390)

1шт.

UK5031

CAB

CONTROL ATTACHMENT - valve (1290), Includes Ref: 11 - 28

1шт.

11

K203190

LEVER

- pivot

1шт.

12

K616302

SET SCREW

SCREW - 5/16 UNF x 3/8 inch

1шт.

13

K19602

KEY

- Woodruff no. 404

1шт.

14

K625965

PIN

- clevis, 1/4 x 3/8 inch

2шт.

15

K19470

WASHER

- 1/4 inch

2шт.

16

K19524

PIN

- cotter, 1/16 x 1 inch

2шт.

17

K203480

LINK

- control

1шт.

K260787

LEVER

ASSEMBLY - valve, Includes Ref: 18 - 20

1шт.

18

K205228

COLLAR

BOSS - lever

1шт.

19

K205229

LEVER

- hand

1шт.

20

K623933

SPRING

PIN - roll, 1/8 x 5/8 inch

1шт.

21

K950493

KNOB

- lever

1шт.

22

K621377

BUSHING

- lever boss

1шт.

23

K203476

SUPPORT

BRACKET - support

1шт.

24

K203195

PIN

- pivot

1шт.

25

K690976

PIN

- roll, 1/8 x 1 inch

1шт.

26

K627105

BUSHING

SPACER - lever

1шт.

27

413-518

BOLT,Hex, 5/16" - 18 x 1-1/8", Gr 5

- 5/16 UNC x 1-1/8 inch

3шт.

28

K19481

SPRING WASHER

WASHER - lock, 5/16 inch

3шт.

UK4344

BREAKER POINTS

TUBE AND COUPLING ATTACHMENT - see page K21-1

1шт.

UK4345

BREAKER POINTS

MOUNTING BRACKET ATTACHMENT - see page K21-1

1шт.

Выбрано товаров: 44