Запчасти Case IH 1290 (K-20) - TANDEM REMOTE VALVE (07) - HYDRAULICS

Схема запчастей Case IH 1290 - (K-20) - TANDEM REMOTE VALVE (07) - HYDRAULICS
19
2
7
12
21
14
32
20
1
9
6
2
22
8
18
26
3
4
2
13
23
17
25
28
2
15
1
29
7
14
15
31
5
32
14
13
20
11
24
14
3
30
13
16
4
12
5
13
2
27
10
FIT
1:1
100%

Артикул

Название

Примечание

Количество

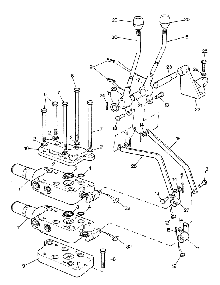
UK5024

VALVE

ATTACHMENT - detented valve

2шт.

1

K956421

VALVE

ASSEMBLY - see page K22-1

1шт.

UK5025

VALVE

ATTACHMENT - spring-centered valve

2шт.

1

K202998

VALVE

ASSEMBLY - see page K22-1

1шт.

UK5021

VALVE

FITTINGS ATTACHMENT - single pump (1390)

1шт.

UK5023

FITTING

S ATTACHMENT - tandem pump (1390)

1шт.

UK5019

VALVE

FITTINGS ATTACHMENT - valve (1290), Includes Ref: 2 - 10

1шт.

2

K19482

SPRING WASHER

WASHER - lock, 3/8 inch

5шт.

3

K623588

O-RING,2.69mm Thk x 29.97mm ID, 75 Duro

- 1-3/16 inch ID

2шт.

4

K24852

O-RING,0.103" Thk x 0.674" ID, -115, Cl 6, 90 Duro

- 11/16 inch ID

10шт.

5

K600516

BOLT

- 3/8 UNC x 4-3/4 inch (1290)

2шт.

6

K600497

BOLT

- 3/8 UNC x 7-1/2 inch (Single pump) (1390)

1шт.

6

K600521

BOLT

- 3/8 UNC x 7-3/4 inch (Tandem pump) (1390)

1шт.

7

K600519

BOLT

- 3/8 UNC x 6-3/4 inch (Single pump) (1390)

2шт.

7

K600497

BOLT

- 3/8 UNC x 7-1/2 inch (Tandem pump) (1390)

1шт.

7

K600513

BOLT

- 3/8 UNC x 6 inch (1290)

2шт.

8

K600510

BOLT

- 3/8 UNC x 2 inch (1290)

1шт.

9

K203509

BASE

PLATE - base (1290)

1шт.

10

K919242

COVER

PLATE - cover (1290)

1шт.

UK5030

CONTROL

ATTACHMENT - valve (1290)

1шт.

UK5032

CONTROL

ATTACHMENT - valve (1390), Includes Ref: 11 - 32

1шт.

11

K203190

LEVER

- control

1шт.

12

K616302

SET SCREW

BOLT - 5/16 UNF x 3/8 inch

2шт.

13

K625965

PIN

- clevis, 1/4 x 3/8 inch

4шт.

14

K19470

WASHER

- 1/4 inch

4шт.

15

K19524

PIN

- cotter, 1/16 x 1 inch

4шт.

16

K203480

LINK

- lever

1шт.

K260787

LEVER

ASSEMBLY - control, Includes Ref: 17

1шт.

17

K205228

COLLAR

BOSS - lever

1шт.

18

K260787

LEVER

ASSEMBLY - hand (replaces K202087), Includes Ref: 19

1шт.

19

K623933

SPRING

PIN - roll, 1/8 x 5/8 inch

2шт.

20

K950493

KNOB

- lever

2шт.

21

K621377

BUSHING

- lever

2шт.

22

K203476

SUPPORT

BRACKET - support

1шт.

23

K203195

PIN

- pivot

1шт.

24

K690976

PIN

- roll, 1/8 x 1 inch

1шт.

25

413-518

BOLT,Hex, 5/16" - 18 x 1-1/8", Gr 5

- 5/16 UNC x 1-1/8 inch

3шт.

26

K19481

SPRING WASHER

WASHER - lock, 5/16 inch

3шт.

27

K203197

LEVER

- pivot

1шт.

K260786

LEVER

ASSEMBLY - control

1шт.

28

K203491

LINK

ASSEMBLY - lower (1390), Includes Ref: 29 and 30

1шт.

28

K203479

LINK

ASSEMBLY - lower (1290)

1шт.

29

K205227

COLLAR

BOSS - lever

1шт.

30

K205230

LEVER

- hand

1шт.

31

K19475

WASHER

- 5/8 inch

2шт.

32

K19602

KEY

- Woodruff no. 404

2шт.

UK4344

BREAKER POINTS

TUBE AND COUPLING ATTACHMENT - see page K21-1

1шт.

UK4345

BREAKER POINTS

MOUNTING BRACKET ATTACHMENT - see page K21-1

1шт.

UK4347

BREAKER POINTS

TUBE AND COUPLING ATTACHMENT - see page K21-1

1шт.

Выбрано товаров: 49