Запчасти Case IH 1294 (6-192) - POWER TAKE-OFF CONTROLS, TRACTORS WITH CAB (06) - POWER TRAIN

Схема запчастей Case IH 1294 - (6-192) - POWER TAKE-OFF CONTROLS, TRACTORS WITH CAB (06) - POWER TRAIN
27
7
18
21
3
20
22
26
1
17
6
15
19
23
12
13
11
24
14
5
16
8
28
32
25
18
10
9
2
4
30
31
29
17
FIT
1:1
100%

Артикул

Название

Примечание

Количество

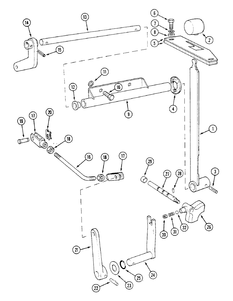
1

K306667

LEVER

- hand

1шт.

2

K307625

RUBBER

KNOB - hand lever

1шт.

3

38-11216

LOCK PIN,3/16" x 1", Slotted

PIN, 3/16" x 1", Slotted

1шт.

4

K952800

SEAL

- rubber

1шт.

5

K306851

BRACKET

GATE - hand lever, multi-speed

1шт.

5

K306156

BRACKET

GATE - hand lever, single-speed

1шт.

6

614-8020

BOLT,Hex, M8 x 1.25 x 20mm

- hex, full threads, 8 - 1.25 x 20 mm

2шт.

7

892-11008

LOCK WASHER,8mm ID

WASHER, LOCK, M8

2шт.

8

895-11008

WASHER,9mm ID x 16mm OD x 1.6mm Thk

- flat, 9 x 17 x 1.6 mm

2шт.

9

K202317

SUPPORT

BRACKET - cross shaft

1шт.

10

513-2704

BOLT

- M10 x 20 mm

3шт.

11

892-11010

LOCK WASHER,M10

3шт.

12

K628757

BUSHING

- plastic

2шт.

13

K202320

SHAFT

- cross

1шт.

14

K307488

LEVER

- cross shaft

1шт.

15

38-11216

LOCK PIN,3/16" x 1", Slotted

PIN, 3/16" x 1", Slotted

1шт.

16

K307209

ROD

- operating

1шт.

17

1537272C1

CLEVIS

- adjustable, 10 mm - 1.5

2шт.

18

825-1410

NUT,M10, Cl 8

2шт.

19

K658614

PIN

- clevis, 10 x 25 mm

2шт.

20

K659106

PLATE, LOCKING

CLIP - spring

2шт.

21

K207246

LEVER

- operating

1шт.

22

38-31624

ROLL PIN,1/4" x 1 1/2", Coiled

PIN, ROLL, 1/4" x 1 1/2", Coiled

1шт.

23

K916582

SHIM

- lever

1шт.

24

K206520

LEVER

SHAFT - lever, selector

1шт.

25

K625405

O-RING,0.549" ID x 0.103" Width

- 9/16 inch (14 mm) ID

1шт.

26

K906701

SELECTOR

FORK - selector

1шт.

27

K942469

SELECTOR

ROD - selector

1шт.

28

K906700

PIN

- retaining

1шт.

29

K921603

BUSHING

SPACER - selector rod, single speed

1шт.

30

81-3315

SET SCREW,5/16"-18 x 5/16", Slotted

SCREW - 5/8 inch UNC

1шт.

31

K24831

SPRING

- detent

1шт.

32

211-1008

BALL,1/4" Dia

- chrome alloy steel, 1/4 inch, grade 24

1шт.

Выбрано товаров: 33