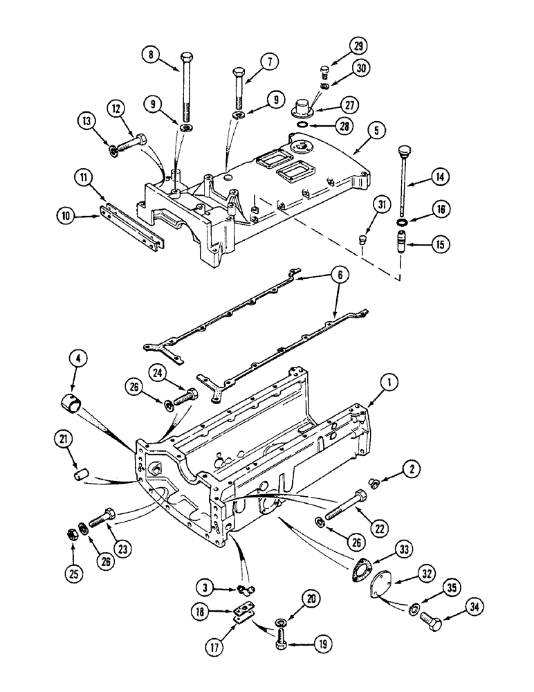
Запчасти Case IH 1294 (9-284) - REAR MAIN FRAME AND COVERS (09) - CHASSIS/ATTACHMENTS

Схема запчастей Case IH 1294 - (9-284) - REAR MAIN FRAME AND COVERS (09) - CHASSIS/ATTACHMENTS
15
16
26
27
7
32
2
24
3
21
30
11
31
35
6
23
26
1
34
25
8
9
28
9
14
22
20
10
33
18
19
12
17
13
4
26
29
5
FIT
1:1
100%

Артикул

Название

Примечание

Количество

1

K955076

FRAME

- main, rear (Two-wheel drive)

1шт.

1

K956326

FRAME

- main, rear (MFD)

1шт.

2

353-11

PLUG,Cap, .610" OD

- plastic, 5/8 inch (16 mm)

34шт.

3

K22164

FITTING

- grease, 1/4 inch ANF (Replaces K690973)

2шт.

4

K628753

BUSHING

- clutch shaft

4шт.

5

K956381

COVER

- gearbox

1шт.

6

K205303

GASKET

- gearbox cover

2шт.

7

K600816

BOLT

- 1/2 UNC x 3-1/2 inch

8шт.

8

413-8112

BOLT,Hex, 1/2" - 13 x 7", Gr 5

- hex,1/2 UNC x 7 inch (Without cab)

4шт.

8

413-864

BOLT,Hex, 1/2" - 13 x 4", Gr 5

- hex, 1/2 NC x 4 inch

4шт.

9

K19484

LOCK WASHER

WASHER - lock, 1/2 inch

12шт.

10

K205305

WEDGE

- spacing

1шт.

11

K205306

SHIM,.040" Thk

Cover .040" Thk

1шт.

12

K600810

BOLT

- 1/2 UNC x 2-1/2 inch

4шт.

13

K19484

LOCK WASHER

WASHER - lock, 1/2 inch

4шт.

14

K956099

DIPSTICK

- transmission sump (Without cab)

1шт.

15

K203546

DIPSTICK

SLEEVE - dipstick

1шт.

16

238-5013

O-RING,0.07" Thk x 0.426" ID, -13, Cl 5, 75 Duro

-013, 70 Duro, .426" ID x .070" Thk

1шт.

17

K919278

COVER

PLATE - cover

2шт.

18

K919279

GASKET

- cover plate

2шт.

19

K603049

BOLT

- 7/16 x 7/8 inch

4шт.

20

K626522

SEALING WASHER

- sealing, 7/16 inch

4шт.

21

K621826

PIN

DOWEL - 5/8 x 1-1/8 inch, 5/8 x 1-1/8 inch

2шт.

22

K600615

BOLT

- 7/16 UNC x 3-1/4 inch

4шт.

23

K600604

SCREW

BOLT - 7/16 UNC x 1-3/4 inch

4шт.

24

K603006

SCREW

BOLT - 7/16 UNC x 1-3/8 inch

2шт.

25

280717

NUT,7/16"-14, G5

4шт.

26

492-11044

LOCK WASHER,7/16"

WASHER, LOCK, 7/16"

10шт.

27

K940284

COVER

- starter safety switch

1шт.

28

238-5222

O-RING,0.139" Thk x 1.48" ID, -222, Cl 5, 75 Duro

1шт.

29

88542

BOLT,Hex, 1/4"-20 x 1/2", Gr 5

SCREW - pan head Phillips, 1/4 x 1/2 inch NC

3шт.

30

K626341

SPRING WASHER

WASHER - lock, 1/4 inch

3шт.

31

K210364

PIN

PLUG - gearbox cover (With cab) (Replaces K628102 and K210275)

1шт.

32

K202527

PLATE

- main frame (With cab)

2шт.

33

K201828

GASKET

- cover plate

2шт.

34

K602983

SCREW

BOLT - 3/8 UNC x 7/8 inch

6шт.

35

492-11038

LOCK WASHER,3/8"

6шт.

Выбрано товаров: 37