Запчасти Case IH 1390 (L-02) - LEVELING LEVER (09) - IMPLEMENT LIFT

Схема запчастей Case IH 1390 - (L-02) - LEVELING LEVER (09) - IMPLEMENT LIFT
16
24
1
7
8
25
21
23
15
6
12
11
20
19
23
2
4
13
3
23
10
9
5
22
23
14
FIT
1:1
100%

Артикул

Название

Примечание

Количество

K204587

LEVER

ASSEMBLY - leveling (With slotted nut)

1шт.

K940508

LEVER

ASSEMBLY - leveling, Includes Ref: 1 - 4

1шт.

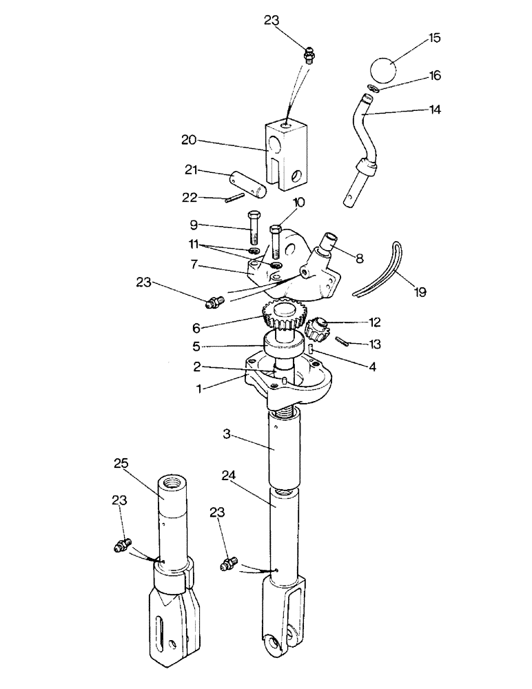
1

K962977

HOUSING

ASSEMBLY - gear

1шт.

2

K621339

BUSHING

- gear housing

1шт.

3

K922657

TUBE,1.75" DIA x 5.25" L

- gear housing, 1-3/4 x 5-1/4 inch

1шт.

4

K32063

PIN

DOWEL - 3/16 x 1/2 inch

2шт.

5

K19187

THRUST BEARING

BEARING - thrust

1шт.

6

K919770

SHAFT

GEAR - bevel

1шт.

7

K962691

COVER

CAP ASSEMBLY - tube, Includes Ref: 8

1шт.

8

K621340

BUSHING

- lever

2шт.

9

K600561

BOLT

- 3/8 UNC x 1-5/8 inch

2шт.

10

K600526

BOLT

- 3/8 UNC x 1-7/8 inch

2шт.

11

K19482

SPRING WASHER

WASHER - lock 3/8 inch

4шт.

12

K919769

GEAR

PINION - bevel

1шт.

13

K623946

PIN

- roll, 5/32 x 15/16 inch

1шт.

14

K919761

LEVER

ASSEMBLY - hand, Includes Ref: 15 and 16

1шт.

15

K919763

BUTTON

KNOB - lever

1шт.

16

K621790

RING, SNAP

RING - snap, 1/2 inch external

1шт.

19

K924723

SPRING

LATCH - spring

1шт.

20

K921914

FORK

END - fork

1шт.

21

K948353

PIVOT PIN

PIN - pivot, 5/8 x 2-1/4 inch

1шт.

22

K623740

SPLIT PIN/SAFETY PIN

PIN - pivot, 3/16 x 7/8 inch

2шт.

23

219-8

LUBE NIPPLE,1/4" - 28 NPTF

NIPPLE, LUBE, , ANF 1/4"-28 NPT x .54" lg

3шт.

24

K940700

NUT

- adjusting, standard

1шт.

25

K945967

CLEVIS

NUT - adjusting, slotted

1шт.

Выбрано товаров: 25