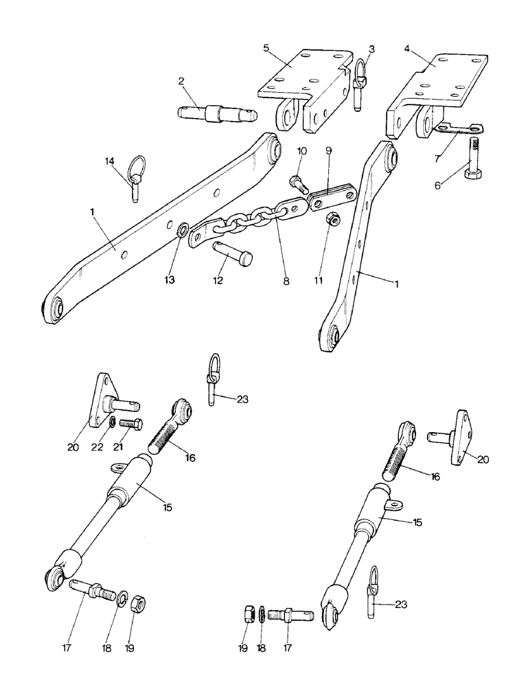
Запчасти Case IH 1390 (L-04) - LOWER LINKS AND STABILIZER BARS (09) - IMPLEMENT LIFT

Схема запчастей Case IH 1390 - (L-04) - LOWER LINKS AND STABILIZER BARS (09) - IMPLEMENT LIFT
13
10
19
5
2
1
15
15
17
8
16
20
3
9
18
11
17
23
6
19
23
7
21
20
18
4
1
22
14
16
12
FIT
1:1
100%

Артикул

Название

Примечание

Количество

1

K923699

LINK

- lower, 35-1/2 inch (Standard)

2шт.

1

K923698

LINK

- lower, 38-1/2 inch (Extended)

2шт.

2

K922634

PIN,31.75mm OD x 182.56mm L

- pivot, lower link

2шт.

3

K920359

PIN

ASSEMBLY - linch

4шт.

4

K921559

BRACKET

- hitch, right-handed

1шт.

5

K921558

BRACKET

- hitch, left-handed

1шт.

6

K601462

BOLT

- 3/4 UNC x 3 inch

8шт.

6

K601411

BOLT

- 3/4 UNC x 3-1/4 inch

4шт.

7

K913121

WASHER

- tab

2шт.

8

K946106

CHAIN (AG)

CHAIN ASSEMBLY - check, Includes Ref: 9 - 11

2шт.

9

K924022

PLATE

- adjusting

2шт.

10

K600804

BOLT

- 1/2 UNC x 1-3/4 inch

1шт.

11

K607462

NUT

- self-locking, 1/2 inch UNC

1шт.

12

K946108

HEADED PIN

PIN ASSEMBLY - check chain, Includes Ref: 13

2шт.

13

K19476

WASHER

- 3/4 inch

2шт.

14

K915678

PIN

ASSEMBLY - linch

2шт.

UK2080

LINKAGE

STABILIZER ATTACHMENT - linkage

1шт.

K954646

STABILIZER

BAR ASSEMBLY - stabilizer, telescopic, Includes Ref: 15 and 16

2шт.

15

K954647

TIE-ROD,8.125" L

HOUSING - ball

1шт.

16

K914993

END

HOUSING - ball, front

1шт.

17

K907008

PIN

- lower link

2шт.

18

K626348

BELLEVILLE SPRING

WASHER

2шт.

19

280954

NUT,3/4"-10, G5

- 3/4 inch UNC

2шт.

20

K922662

PLATE

BRACKET - standard

2шт.

20

K922660

PLATE

BRACKET - left hand (High clearance)

1шт.

20

K922658

PLATE

BRACKET - right hand (High clearance)

1шт.

21

K603107

BOLT,1/2" x 1 3/8"

BOLT - 1/2 UNC x 1-3/8 inch

6шт.

22

K626345

LOCK WASHER

WASHER - lock, 1/2 inch

6шт.

23

K920359

PIN

- linch

4шт.

Выбрано товаров: 29