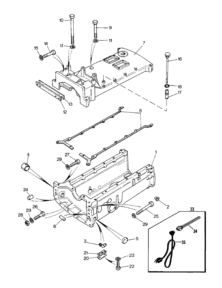
Запчасти Case IH 1390 (M-02) - REAR MAIN FRAME AND COVERS, 1290 TWO WHEEL DRIVE, 1390 TWO WHEEL DRIVE, 1290, 1390 MFD (12) - FRAME

Схема запчастей Case IH 1390 - (M-02) - REAR MAIN FRAME AND COVERS, 1290 TWO WHEEL DRIVE, 1390 TWO WHEEL DRIVE, 1290, 1390 MFD (12) - FRAME
2
16
11
18
35
29
3
34
4
11
13
24
20
14
22
5
21
27
9
33
1
25
10
17
29
12
15
23
8
6
28
7
26
29
FIT
1:1
100%

Артикул

Название

Примечание

Количество

1

K955076

FRAME

- main, rear (1290 2WD, 1390 2WD)

1шт.

1

K956326

FRAME

- main, rear (1290, 1390 MFD)

1шт.

2

K628084

PLUG

- plastic, 5/8 inch

34шт.

3

K690973

FITTING

- grease, 1/4 inch ANF

2шт.

4

K628753

BUSHING

- clutch shaft

4шт.

5

K623790

CORE

PLUG - core, 1-1/8 inch, without independent clutch

2шт.

6

K623729

PIN

PLUG - 3/16 x 3/4 inch, without independent clutch (1290 2WD, 1390 2WD)

1шт.

7

K956381

COVER

- gearbox

1шт.

8

K205303

GASKET

- gearbox cover

2шт.

9

K608834

BOLT

- 7/16 UNC x 3-1/2 inch

8шт.

10

K600830

BOLT

- 7/16 UNC x 7 inch

4шт.

11

K626345

LOCK WASHER

WASHER - lock, 1/2 inch

12шт.

12

K915674

WEDGE

- spacing

1шт.

13

K205306

SHIM,.040" Thk

Cover .040" Thk

1шт.

14

K600810

BOLT

- 1/2 UNC x 2-1/2 inch

4шт.

15

K626345

LOCK WASHER

WASHER - lock, 1/2 inch

4шт.

16

K956099

DIPSTICK

- transmission sump (1290 2WD, 1390 2WD)

1шт.

17

K942348

SLEEVE

- dipstick (1290 2WD, 1390 2WD)

1шт.

18

K24701

O-RING,0.426" ID x 0.566" OD x 0.07"

- 7/16 inch ID (1290 2WD, 1390 2WD)

1шт.

20

K919278

COVER

PLATE - cover (1290 2WD)

2шт.

20

K919278

COVER

PLATE - cover (1390 2WD, 1290, 1390 MFD)

1шт.

21

K919279

GASKET

- cover plate (1290 2WD)

2шт.

21

K919279

GASKET

- cover plate (1390 2WD, 1290, 1390 MFD)

1шт.

22

K603049

BOLT

- 7/16 UNC x 7/8 inch (1290 2WD)

4шт.

22

K603049

BOLT

- 7/16 UNC x 7/8 inch (1390 2WD, 1290, 1390 MFD)

2шт.

23

K626522

SEALING WASHER

- lock, 5/16 inch (1290 2WD)

4шт.

23

K626522

SEALING WASHER

- lock, 5/16 inch (1390 2WD, 1290, 1390 MFD)

2шт.

24

K621826

PIN

DOWEL - 5/8 x 1-1/8 inch

2шт.

25

K600615

BOLT

- 7/16 UNC x 3-1/4 inch

4шт.

26

K600604

SCREW

BOLT - 7/16 UNC x 1-3/4 inch

4шт.

27

K603006

SCREW

BOLT - 7/16 UNC x 1-3/8 inch

2шт.

28

280717

NUT,7/16"-14, G5

4шт.

29

K626344

WASHER, LOCK

WASHER - lock, 7/16 inch

10шт.

33

A164503

HEATER ASSY.

HEATER KIT - transmission oil, Includes Ref: 34

1шт.

34

NSS

NOT SOLD SEPARAT

ELEMENT - heater, transmission

1шт.

35

A48171

HARNESS

CORD - heater element, 60 inch (1 524 MM), transmission

1шт.

Выбрано товаров: 36