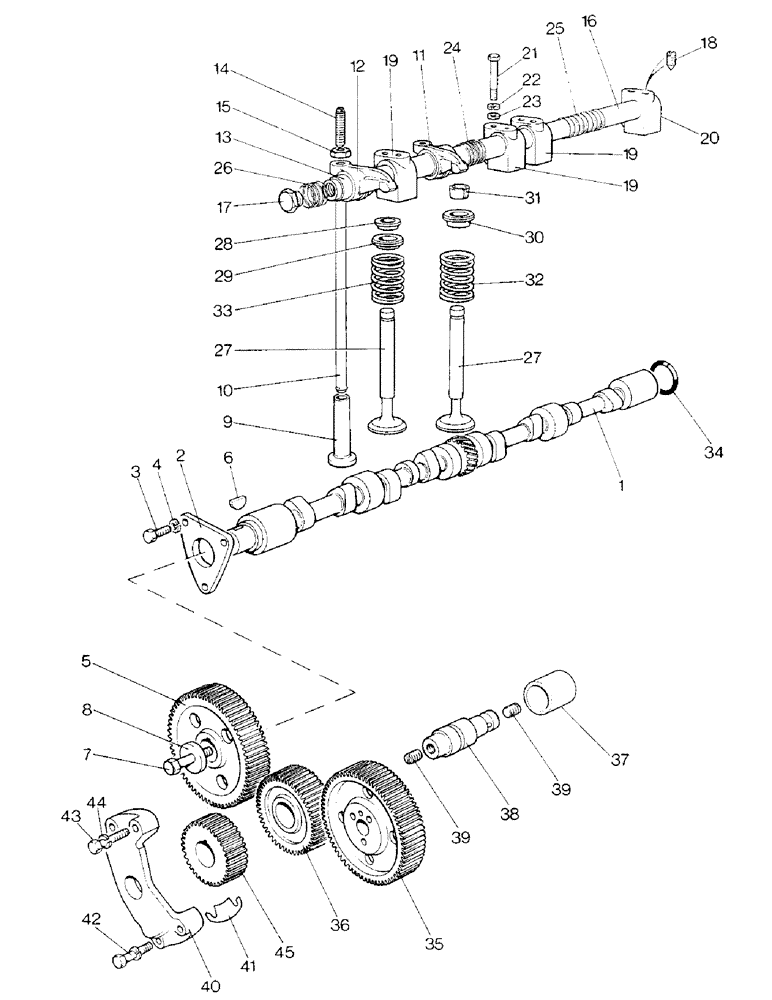
Запчасти Case IH 1390 (A-04) - VALVE MECHANISM AND TIMING GEARS (01) - ENGINE

Схема запчастей Case IH 1390 - (A-04) - VALVE MECHANISM AND TIMING GEARS (01) - ENGINE
11
33
10
4
25
44
40
8
16
27
14
32
5
42
34
27
30
36
15
2
13
41
22
38
9
35
3
6
17
18
7
45
21
23
31
26
29
24
12
43
37
28
39
39
19
20
19
1
19
FIT
1:1
100%

Артикул

Название

Примечание

Количество

1

K921769

CAMSHAFT

- engine

1шт.

2

K902015

PLATE

- locating

1шт.

3

9635884

BOLT,Hex, 5/16" - 18 1", Full Thd, Gr 5

3шт.

4

K19481

SPRING WASHER

WASHER - lock, 5/16 inch

3шт.

5

K945097

GEAR

- 68 teeth, camshaft

1шт.

6

K19607

KEY

- Woodruff no. 506

1шт.

7

K600700

BOLT

- 7/16 UNC x 2 inch

1шт.

8

K66382

WASHER

- 7/16 inch

1шт.

9

K901137

TAPPET

- valve

8шт.

10

K902035

ROD

- push, rocker arm

8шт.

11

K63089

ROCKER

VALVE ROCKER - right-hand with bushing, no. 2 from front

4шт.

12

K63090

ROCKER

VALVE ROCKER - left-hand with bushing, no. 1 from front

4шт.

13

K964733

BUSHING

- valve rocker

8шт.

14

K900413

ADJUSTMENT SCREW,3/8" - 16 x 1 1/8"

- adjusting

8шт.

15

87016560

JAM NUT,Jam, 3/8"-16, G5

- lock, 3/8 inch UNC

8шт.

16

K909622

SHAFT

- rocker

1шт.

17

K19590

PLUG

- 3/8 inch BSP

2шт.

18

K606051

SET SCREW,5/16" - 18 x 1/2"

- locating, 5/16 inch UNC

1шт.

19

K921431

BRACKET

- rocker shaft, no. 1, 2 and 3

3шт.

20

K921432

BRACKET

- rocker shaft, rear

1шт.

21

K600705

BOLT

- 7/16 UNC x 2-5/8 inch

4шт.

22

K626344

WASHER, LOCK

WASHER - lock, 7/16 inch

4шт.

23

K626314

WASHER

- 7/16 inch

4шт.

24

K11017

SPRING

- locating, intermediate

2шт.

25

K11034

SPRING

- locating, center

1шт.

26

K11018

SPRING

- locating, ends

2шт.

27

K928622

STD INLET VALVE

VALVE - inlet and exhaust

8шт.

28

K928623

COLLAR

- inner, exhaust valve

4шт.

29

K928624

COLLAR

- outer, exhaust valve

4шт.

30

K921437

COLLAR

- inlet valve

4шт.

31

K943439

LOCKING DEVICE

COTTER - inlet and exhaust valve

16шт.

32

K921435

SPRING

- inlet valve

4шт.

33

K921436

VALVE SPRING

SPRING - exhaust valve

4шт.

34

K623523

O-RING,1.802" OD x 0.143" Width

- 1-13/16 inch ID

1шт.

35

K949822

GEAR

DRIVE GEAR - 68 teeth, injection pump

1шт.

36

K946144

GEAR

ASSEMBLY - intermediate, 47 teeth, Includes Ref: 37

1шт.

37

K628751

BUSHING

- gear

1шт.

38

K944136

GEAR SHAFT

SHAFT - intermediate gear, with plugs

1шт.

39

K606221

SCREW

PLUG - 5/16 inch UNC

2шт.

40

K904073

SUPPORT

BRACKET - intermediate gear support

1шт.

41

K902113

SHIM,.003" Thk

1шт.

41

K902114

SHIM,.010" Thk

1шт.

41

K908713

SHIM,.020" Thk

1шт.

42

K600324

BOLT

- 5/16 UNC x 1-3/4 inch

2шт.

43

K600325

BOLT

- 5/16 UNC x 2 inch

2шт.

44

K19481

SPRING WASHER

WASHER - lock, 5/16 inch

4шт.

45

K945094

GEAR

- crankshaft, 34 teeth, steel

1шт.

Выбрано товаров: 47