Запчасти Case IH 1390 (A-13) - FUEL INJECTOR ASSEMBLY (01) - ENGINE

Схема запчастей Case IH 1390 - (A-13) - FUEL INJECTOR ASSEMBLY (01) - ENGINE
6
10
2
8
11
3
9
7
1
4
5
FIT
1:1
100%

Артикул

Название

Примечание

Количество

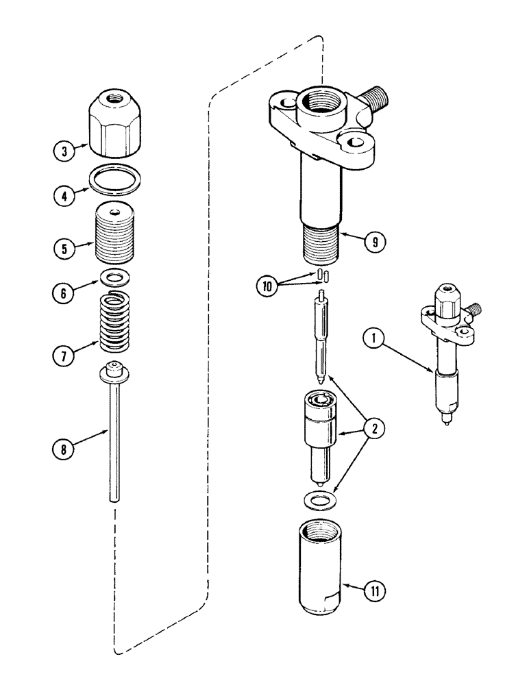
1

K954826

INJECTOR ASSY.

INJECTOR ASSEMBLY - fuel (Lucas 5288401), Includes Ref: 2 - 11

1шт.

2

K942176

NOZZLE CAP

NOZZLE ASSEMBLY - injector (Lucas 5621748)

1шт.

K954827

NOZZLE INJECTION

HOLDER ASSEMBLY - injector (Lucas 52884), Includes Ref: 3 - 11

1шт.

3

A48010

NUT

- cap, holder (Lucas 7008-902)

1шт.

4

K964148

WASHER

- cap (Lucas NW5-59)

1шт.

5

A48011

NUT

- cap spring (Lucas 7008-599C)

1шт.

6

A48012

SHIM

- spring nut (Lucas 5936-298)

1шт.

7

A48013

SPRING

- spindle (Lucas 7008-253)

1шт.

8

A48014

SPINDLE

- injector (Lucas 7008-49)

1шт.

9

A48015

HOUSING

BODY - injector (Lucas 7008-799A)

1шт.

10

A48016

PIN

DOWEL - nozzle (Lucas 7008-428A)

2шт.

10

A48017

PIN

DOWEL - nozzle (Lucas 7008-428B)

2шт.

10

A48018

PIN

DOWEL - nozzle (Lucas 7008-428C)

2шт.

11

A48019

CAP

- nozzle (Lucas 7008-187)

1шт.

Выбрано товаров: 14