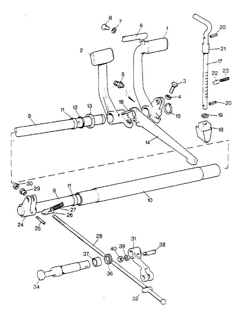
Запчасти Case IH 1390 (J1-1) - MECHANICAL BRAKING SYSTEM (07) - BRAKES

Схема запчастей Case IH 1390 - (J1-1) - MECHANICAL BRAKING SYSTEM (07) - BRAKES
10
14
40
16
24
8
7
26
2
11
13
12
17
9
29
9
27
28
39
25
4
23
30
32
1
19
22
20
15
20
18
36
31
34
38
37
21
6
5
11
3
FIT
1:1
100%

Артикул

Название

Примечание

Количество

1

K200756

BRAKE

PEDAL brake, right-hand

1шт.

2

K200755

BRAKE

PEDAL brake, left-hand

1шт.

3

K603009

SCREW

BOLT, 7/16 UNC x 1-3/4 inch

1шт.

4

425-147

JAM NUT,Jam, 7/16"-14, G5

lock, 7/16 inch UNC, Order 129-144

1шт.

5

219-8

LUBE NIPPLE,1/4" - 28 NPTF

NIPPLE, LUBE, , ANF, Order 219-8 1/4"-28 NPT x .54" lg

1шт.

6

K948974

LATCH

PLATE locating, pedals

1шт.

7

K626700

WASHER

lock, 3/8 inch

1шт.

8

K600500

SCREW

BOLT special, 3/8 inch UNC

1шт.

9

K200763

BRAKE

SHAFT cross

1шт.

10

K200764

SHAFT

TUBE cross shaft

1шт.

11

K947343

BUSHING

tube

2шт.

12

K68123

O-RING,0.21" Thk x 1.85" ID, -328, Cl 5, 75 Duro

1-7/8 inch OD

2шт.

13

K947341

SEAL

PLATE seat

2шт.

14

K201670

BRAKE

LEVER operating, hand brake

1шт.

15

K11538

RING, SNAP

RING snap, external, 1-1/2 inch

1шт.

16

K11737

PIN

3/8 x 2-1/4 inch, Order 135-103

1шт.

17

K202034

LEVER

hand

1шт.

18

K949260

FORK

STIRRUP lever

1шт.

19

K626914

WASHER

41/64 x 7/8 x 3/32 inch

1шт.

20

K623892

PIN

roll, 5/16 x 1-1/2 inch, Order 138-157

2шт.

21

K627335

BUSHING

SPACER hand lever

1шт.

22

K909588

PAWL

hand lever

1шт.

23

K14651

SPRING

pawl

1шт.

24

K916679

LEVER

cross shaft

1шт.

25

K11737

PIN

3/8 x 2-1/4 inch, Order 135-103

2шт.

26

K919706

PIN

shaft lever

2шт.

27

K624927

SPRING

return

2шт.

28

K940583

BAR ASSY.

ROD brake

2шт.

29

K607504

NUT

adjusting, 3/8 inch UNC

2шт.

30

280136

NUT,3/8"-16, G8

Order 129-103 3/8"-16, G8

2шт.

31

K928589

LEVER

cam

2шт.

32

K14744

PIN

cam lever

2шт.

34

K954715

BRAKE

CAMSHAFT brake, right-hand

1шт.

34

K954714

BRAKE

CAMSHAFT brake, left-hand

1шт.

36

K204285

SEAL

dirt

2шт.

37

K621406

BUSHING

axle case

4шт.

38

K609425

LARGE PIN

PIN lock, 3/8 inch UNC

2шт.

39

K19482

SPRING WASHER

WASHER lock, 3/8 inch, Order 192-21

2шт.

40

280136

NUT,3/8"-16, G8

Order 129-103 3/8"-16, G8

2шт.

Выбрано товаров: 39