Запчасти Case IH 1394 (6-270) - POWER TAKE-OFF CONTROL LEVER, TRACTORS WITH CAB (06) - POWER TRAIN

Схема запчастей Case IH 1394 - (6-270) - POWER TAKE-OFF CONTROL LEVER, TRACTORS WITH CAB (06) - POWER TRAIN
15
12
20
9
10
2
18
5
16
7
6
4
8
19
14
17
3
17
13
11
18
22
21
16
1
FIT
1:1
100%

Артикул

Название

Примечание

Количество

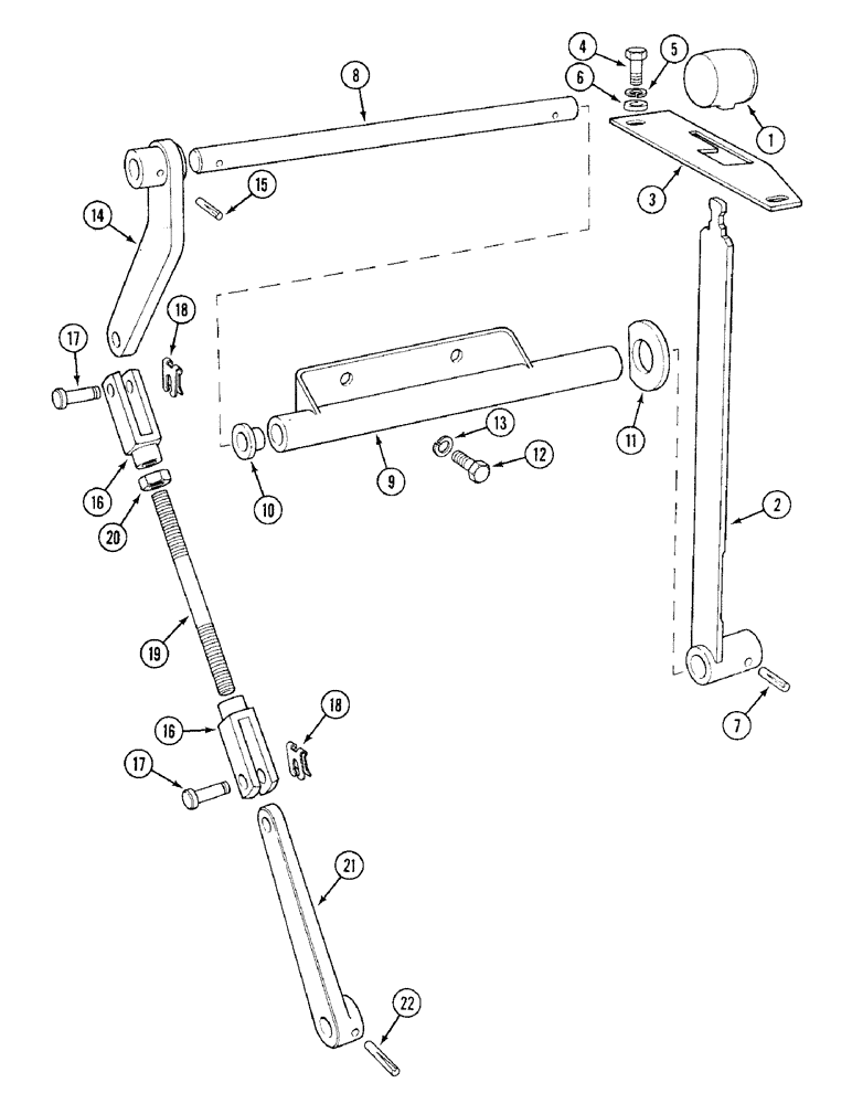
1

K307625

RUBBER

KNOB - hand lever

1шт.

2

K306667

LEVER

- hand

1шт.

3

K306851

BRACKET

GATE - hand lever (Multi-speed PTO)

1шт.

3

K306156

BRACKET

GATE -hand lever (Reversible shaft PTO)

1шт.

4

614-8020

BOLT,Hex, M8 x 1.25 x 20mm

- hex, full threads, 8 - 1.25 x 20 mm

2шт.

5

892-11008

LOCK WASHER,8mm ID

WASHER, LOCK, M8

2шт.

6

895-11008

WASHER,9mm ID x 16mm OD x 1.6mm Thk

- flat, 9 x 17 x 1.6 mm

2шт.

7

438-11216

LOCK PIN,3/16" x 1", Slotted

PIN - cotter, 3/16 25 mm

1шт.

8

K202320

SHAFT

- cross

1шт.

9

K202317

SUPPORT

BRACKET - cross shaft

1шт.

10

K628757

BUSHING

- bracket

2шт.

11

K952800

SEAL

- cross shaft

1шт.

12

513-2704

BOLT

- M10 x 20 mm

3шт.

13

892-11010

LOCK WASHER,M10

3шт.

14

K306140

LEVER

- cross shaft

1шт.

15

438-11216

LOCK PIN,3/16" x 1", Slotted

PIN - cotter

1шт.

16

1537272C1

CLEVIS

- adjustable

2шт.

17

K658614

PIN

- clevis, 10 x 25 mm

2шт.

18

K659106

PLATE, LOCKING

CLIP - spring

2шт.

19

K306563

ROD

- M10 x 168 mm (Reversible shaft PTO)

1шт.

19

K306831

ROD

- M10 x 265 mm (Multi speed PTO)

1шт.

20

825-1410

NUT,M10, Cl 8

2шт.

21

K207959

LEVER

- operating (Multi-speed PTO) (Replaces K202544)

1шт.

21

K951272

LEVER

- operating (Reversible shaft PTO)

1шт.

22

38-31624

ROLL PIN,1/4" x 1 1/2", Coiled

PIN, ROLL, , Lever 1/4" x 1 1/2", Coiled

1шт.

Выбрано товаров: 25