Запчасти Case IH 1394 (7-292) - HAND BRAKE LINKAGE, TRACTORS WITH CAB (07) - BRAKES

Схема запчастей Case IH 1394 - (7-292) - HAND BRAKE LINKAGE, TRACTORS WITH CAB (07) - BRAKES
7
24
9
5
15
8
21
23
13
6
3
18
18
4
17
25
16
16
22
11
2
12
10
14
1
20
24
25
FIT
1:1
100%

Артикул

Название

Примечание

Количество

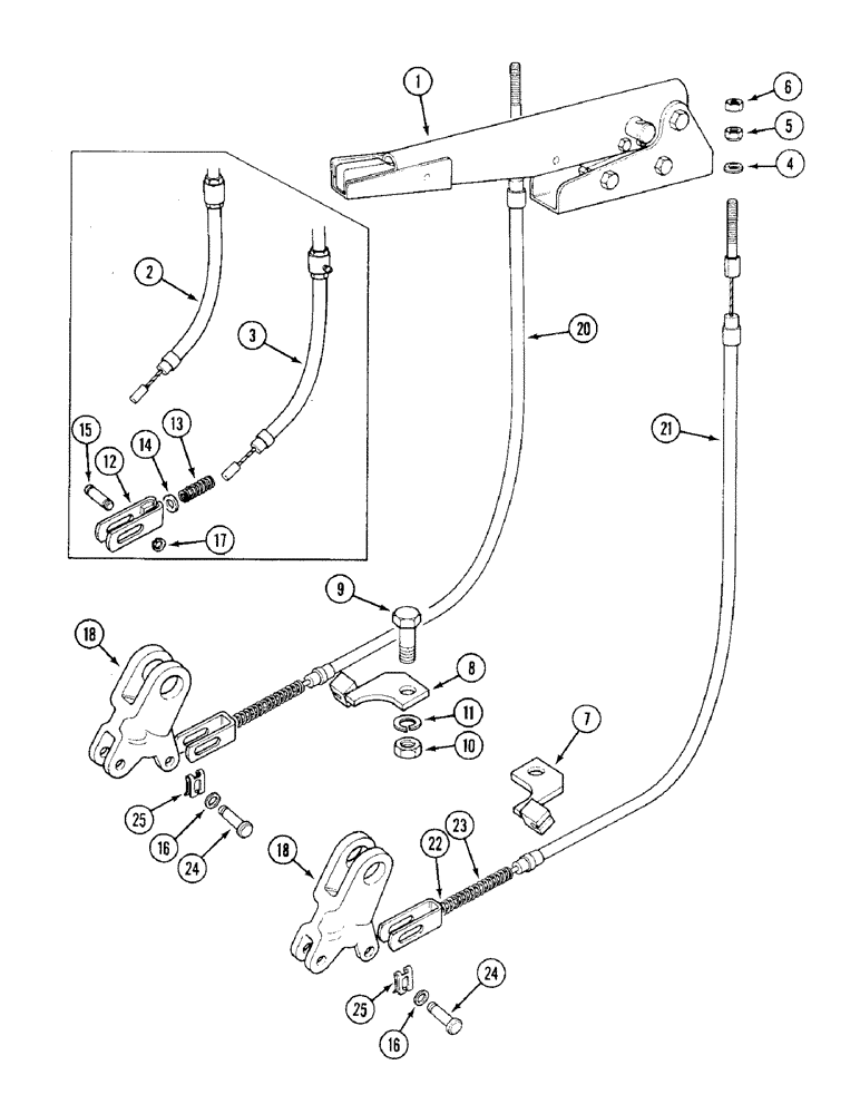
1

REF

INSTRUCTION

LEVER - hand, See Figure 7-294

1шт.

2

NSS

NOT SOLD SEPARAT

CABLE - inner and outer, right-hand (Order K311167)

1шт.

3

NSS

NOT SOLD SEPARAT

CABLE - inner and outer, left-hand (Order K311168)

1шт.

4

K949503

WASHER

- spherical, 5/16 inch

2шт.

5

K617285

SPECIAL NUT

- 5/16 inch UNF

2шт.

6

425-155

JAM NUT,Jam, 5/16"-24, G5

- hex, jam, 5/16 inch NF

2шт.

7

K304429

BRACKET

- left-hand cable anchor

1шт.

8

K304430

BRACKET

- right-hand cable anchor

1шт.

9

K603308

BOLT (SPREADER)

BOLT - 5/8 UNC x 1-3/4 inch

2шт.

10

K607006

NUT

- hex, 5/8 inch NC

2шт.

11

492-11062

BEARING WASHER,5/8"

WASHER, LOCK, 5/8"

2шт.

12

K949523

FORK

END - brake cable

2шт.

13

K625259

SPRING

- cable return (Used with K949504 and K949505)

2шт.

14

K626911

WASHER

- 11/32 inch (9 mm) (Used with K949504 and K949505)

2шт.

15

K949552

PIN

- grooved, 5/16 x 1-1/4 inch

2шт.

16

K626682

WASHER

- lever pin, 5/16 inch (8 mm)

4шт.

17

K621482

RING, SNAP

RING - retaining, 5/16 inch (8 mm) external

4шт.

18

K948977

LEVER

- cam

2шт.

20

K311167

CABLE

- inner and outer, right-hand, Includes: Ref. 22 & 23

1шт.

21

K311168

CABLE

- inner and outer, left-hand, Includes: Ref. 22 & 23

1шт.

22

NSS

NOT SOLD SEPARAT

WASHER - cable

1шт.

23

NSS

NOT SOLD SEPARAT

SPRING - cable

1шт.

24

K625930

PIN

- clevis, 5/16 inch

2шт.

25

K625040

CLIP

- spring

1шт.

Выбрано товаров: 24