Запчасти Case IH 1394 (9-372) - LIFT LINK (09) - CHASSIS/ATTACHMENTS

Схема запчастей Case IH 1394 - (9-372) - LIFT LINK (09) - CHASSIS/ATTACHMENTS
7
8
2
4
3
9
1
12
10
11
6
5
8
FIT
1:1
100%

Артикул

Название

Примечание

Количество

NSS

NOT SOLD SEPARAT

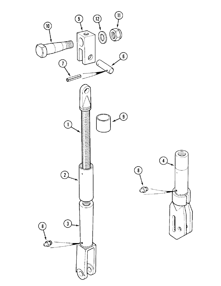
ROD ASSEMBLY - lift, standard (Without cab) Order components, Includes: Ref. 1 - 9

1шт.

NSS

NOT SOLD SEPARAT

ROD ASSEMBLY - lift, with slotted nut (Without cab) Order component, Includes: Ref. 1 - 9

1шт.

NSS

NOT SOLD SEPARAT

ROD ASSEMBLY - lift, with standard nut (With cab) Order component, Includes: Ref. 1 - 9

1шт.

NSS

NOT SOLD SEPARAT

ROD ASSEMBLY - lift, with slotted nut (With cab) Order component, Includes: Ref. 1 - 9

1шт.

NSS

NOT SOLD SEPARAT

ROD ASSEMBLY - lift, with slotted nut, Jeffes hook (With cab) Order component, Includes: Ref. 1 - 9

1шт.

1

K922767

ADJUSTMENT SCREW

ASSEMBLY - adjusting(Without cab)

1шт.

1

K962976

ADJUSTMENT SCREW

ASSEMBLY - adjusting (With cab)

1шт.

2

K940510

TUBE,1.75" ID x 6.187" L

- 1-3/4 x 6-1/4 inch (Without cab)

1шт.

2

K940509

TUBE,1.75" DIA x 7.125" L

- 1-3/4 x 7-1/8 inch (With cab)

1шт.

3

K940700

NUT

- adjusting, standard (Without cab)

1шт.

3

K940614

CLEVIS

NUT - adjusting, standard (With cab)

1шт.

4

K945967

CLEVIS

NUT - adjusting, slotted

1шт.

4

K203400

FORK

NUT - adjusting, slotted, Jeffes hook (With cab)

1шт.

5

K921914

FORK

END - fork

1шт.

6

K948353

PIVOT PIN

PIN - pivot, 5/8 x 2-1/4 inch

1шт.

7

438-11214

LOCK PIN,4.76mm OD x 22.23mm L, Slotted

Pin, 3/16" x 7/8", Slotted

2шт.

8

219-8

LUBE NIPPLE,1/4" - 28 NPTF

NIPPLE, LUBE, , ANF 1/4"-28 NPT x .54" lg

2шт.

9

K202602

BUSHING

SPACER - 2 inch (With cab)

2шт.

10

K914191

PIN

BOLT - 3/4 inch UNC, special

1шт.

11

K607446

NUT

- self-locking, 3/4 inch UNC

1шт.

12

K19476

WASHER

- 3/4 inch (19 mm)

1шт.

Выбрано товаров: 21