Запчасти Case IH 1394 (9-412) - ENGINE FRONT HOOD (09) - CHASSIS/ATTACHMENTS

Схема запчастей Case IH 1394 - (9-412) - ENGINE FRONT HOOD (09) - CHASSIS/ATTACHMENTS
18
27
25
18
9
22
13
3
37
30
17
11
38
14
29
36
17
10
20
1
21
14
2
4
5
33
32
8
24
7
19
34
28
6
23
12
26
35
31
FIT
1:1
100%

Артикул

Название

Примечание

Количество

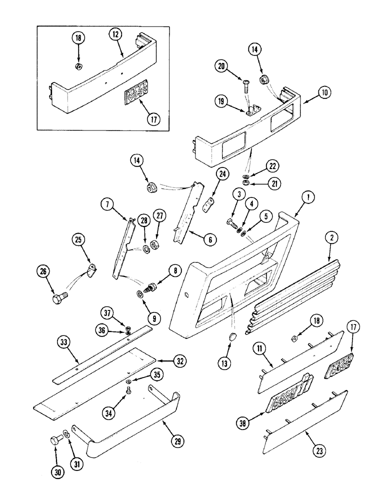
1

K300000

FRAME

- grille, lower

1шт.

2

K308494

GUARD

GRILLE - lower

1шт.

3

K652504

SCREW

- M5 x 16 mm

4шт.

4

K651846

WASHER, LOCK

WASHER - lock, 5 mm

4шт.

5

K626946

WASHER

- 5 mm, special

4шт.

6

K304426

SUPPORT

- left-hand

1шт.

7

K304425

SUPPORT

- right-hand

1шт.

8

K624534

SELF-TAP SCREW

SCREW - self-tapping

6шт.

9

K626552

WASHER

- lock, 8 mm

6шт.

10

K311364

FRAME

RAIL - waist, front (Lamps in waist rail) (Replaces K304823)

1шт.

11

K309413

PLATE

- blanking, grille (Lamps in waist rail)

1шт.

12

K304347

FRAME

RAIL - waist, front (Lamps below waist rail)

1шт.

13

K627874

PLUG

- headlamp adjusters (Lamps below waist rail)

4шт.

14

829-1408

NUT,Hex, M8 x 1.25, Cl 10.9

4шт.

17

321-4739

EMBLEM

- Case logo

1шт.

18

K659151

PUSH-ON NUT

- 1/4 inch, special

2шт.

19

K304945

FASTENER

CATCH - cover top

1шт.

20

K614946

SCREW,Pan, #10 - 32 x 3/4"

- No. 10 UNF x 3/4 inch

2шт.

21

K617299

LOCK NUT

- self-locking, No. 10 UNF

2шт.

22

K626340

RING

WASHER - lock, 3/16 inch

2шт.

23

K302152

PLATE

- grille (With outboard headlamps) (North North America)

1шт.

24

K302149

BRACKET

- left-hand headlamp (With outboard headlamps) (Not North America)

1шт.

25

K302150

BRACKET

- right-hand headlamp (With outboard headlamps) (Not North America)

1шт.

26

614-8016

BOLT,Hex, M8 x 1.25 x 16mm, Cl 8.8, Full Thd

- M8 x 16 (With outboard headlamps) (Not North America)

4шт.

27

825-1408

NUT,M8, Cl 8

(With outboard headlamps) (Not North America) M8, Cl 8

4шт.

28

892-11008

LOCK WASHER,8mm ID

WASHER, LOCK, (With outboard headlamps) M8

4шт.

29

K301305

PLATE

- main frame (With cab)

1шт.

30

K603302

SCREW

BOLT - 5/8 UNC x 1 inch

2шт.

31

492-11062

BEARING WASHER,5/8"

WASHER, LOCK, 5/8"

2шт.

32

K308237

BAFFLE

- rubber, main frame

1шт.

33

K308238

BAFFLE

STRIP - clamping, baffle

1шт.

35

K651776

WASHER

- 5 mm

2шт.

36

892-11005

LOCK WASHER,M5

WASHER, LOCK, M5

2шт.

37

825-1405

NUT,M5, Cl 8

2шт.

38

A181523

EMBLEM CASE/IH

MEDALLION - Case IH logo (replaces K181523), Serial Range: (Subs-1536056C1)

1шт.

Выбрано товаров: 35