Запчасти Case IH 1490 (K11-1) - CONTROL HOUSING (07) - HYDRAULICS

Схема запчастей Case IH 1490 - (K11-1) - CONTROL HOUSING (07) - HYDRAULICS
26
6
5
30
36
32
23
11
34
17
23
15
22
35
24
29
14
17
25
3
37
28
1
10
4
31
33
18
8
27
2
21
20
19
13
7
16
9
12
6
FIT
1:1
100%

Артикул

Название

Примечание

Количество

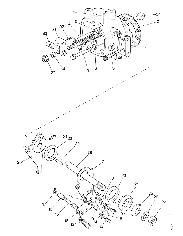
1

K203118

LEVER

HOUSING

1шт.

2

K903026

GASKET

- housing to rear axle case

1шт.

3

K600217

BOLT

- 5/16 UNC x 3", housing to rear axle case

1шт.

4

K606570

SOCKET/RECEPTACLE

CAPSCREW - 5/16 UNC x 3", socket head, housing to rear axle case

1шт.

5

K606558

SCREW

CAPSCREW - 5/16 UNC x 1-1/2", socket head, housing to rear axle case

1шт.

6

K19481

SPRING WASHER

WASHER - lock, 5/16", housing to rear axle case

3шт.

7

K950555

BRACKET

FRICTION PLATE

1шт.

8

K602846

SCREW,5/16" - 18 x 5/8", Gr S

SETSCREW - 5/16 UNC x 5/8"

2шт.

6

K19481

SPRING WASHER

WASHER - lock, 5/16"

2шт.

9

K949541

SPRING

CARRIER

1шт.

10

K602746

SCREW,1/4" - 20 x 1/2"

SETSCREW - 1/4 UNC x 1/2"

2шт.

11

K19470

WASHER

- 1/4" (6.35 mm)

2шт.

12

K950773

SPRING

TENSION SPRING

1шт.

13

K949554

PIN

CLEVIS PIN

1шт.

14

K621482

RING, SNAP

RING - snap, 5/16" (7.938 mm) diameter, external

1шт.

15

K949543

PIN

1шт.

16

K949544

ROLLER

1шт.

17

K24568

SNAP RING,#25, Ext

Ring, Snap, (6.35 mm) #25, Ext

1шт.

18

K949542

SPRING

RETURN LEVER - spring

1шт.

19

K949545

PIN

PIVOT PIN - 1/4 x 3/4" (6.35 x 19.05 mm)

2шт.

17

K24568

SNAP RING,#25, Ext

Ring, Snap, (6.35 mm) #25, Ext

2шт.

20

K202811

LEVER

FRICTION LEVER

1шт.

21

K623942

PIN

- 5/32 x 1-1/4" (3.969 x 31.75 mm)

1шт.

22

K621811

PIN

DOWEL - 3/16 x 1" (4.762 x 25.4 mm)

2шт.

23

K909582

WASHER

FRICTION WASHER

2шт.

24

K950864

PLATE

FRICTION PLATE

1шт.

25

K626740

WASHER

BELLEVILLE WASHER - 5/8" (15.875 mm)

2шт.

26

K626686

WASHER

- 1/2" (12.7 mm)

1шт.

27

K617273

NUT

LOCKNUT - 1/2 UNF

1шт.

28

K965922

SHAFT

1шт.

29

K627068

BUSHING

PLASTIC SLEEVE

1шт.

30

K623424

RING

SEALING RING - 1/2" (12.7 mm) internal diameter

1шт.

31

K909584

FORK

1шт.

32

K623940

PIN

1шт.

33

K903370

PIN

1шт.

34

K909585

ROD

CONNECTING ROD

1шт.

35

K625161

SPRING

1шт.

36

K903368

COLLAR

2шт.

37

231-1435

LOCK NUT,5/16"-18, GB

NUT - 5/16" UNC, self-locking

1шт.

Выбрано товаров: 0