Запчасти Case IH 1490 (N05-1) - REAR FENDERS AND AXLE COVERS, LOW PROFILE, 2WD, MFD (08) - SHEET METAL

Схема запчастей Case IH 1490 - (N05-1) - REAR FENDERS AND AXLE COVERS, LOW PROFILE, 2WD, MFD (08) - SHEET METAL
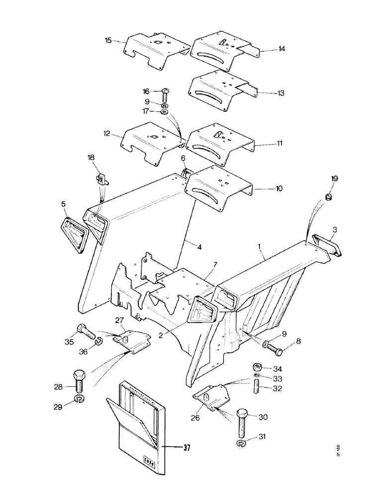
14
1
37
31
18
36
34
29
35
2
8
17
27
9
32
30
11
33
13
5
19
3
10
7
28
16
4
9
15
12
6
26
FIT
1:1
100%

Артикул

Название

Примечание

Количество

1

K300374

FENDER

FULL FENDER - left-hand

1шт.

2

K300413

MOLDING

RUBBER MOULDING - front, left-hand fender

1шт.

3

K300422

MOLDING

RUBBER MOULDING - rear, left-hand fender

1шт.

4

K300378

FENDER

FULL FENDER - right-hand

1шт.

5

K300423

MOLDING

RUBBER MOULDING - front, right-hand fender

1шт.

6

K300405

MOLDING

RUBBER MOULDING - rear, right-hand fender

1шт.

7

K301753

SHAFT

COVER - axle

1шт.

8

K650643

BOLT

- M8 x 24

12шт.

9

K651848

WASHER

- lock, 8 mm

12шт.

10

K300957

SHAFT

COVER - left-hand, tractor without roll-bar (2WD)

1шт.

11

K300958

SHAFT

COVER - left-hand, tractor without roll-bar (MFD)

1шт.

12

K300959

SHAFT

COVER - right-hand, tractor without roll-bar

1шт.

13

K300961

SHAFT

COVER - left-hand, tractor with two post roll-bar (2WD)

1шт.

14

K300962

SHAFT

COVER - left-hand, tractor with two post roll-bar (MFD)

1шт.

15

K300963

SHAFT

COVER - right-hand, tractor with two post roll-bar

1шт.

16

K650643

BOLT

- M8 x 24

12шт.

9

K651848

WASHER

- lock, 8 mm

12шт.

17

K651778

WASHER

- 8 mm

12шт.

18

K652871

NUT

CAPTIVE NUT - M5, Serial Range: lamps-fenders

8шт.

19

K627713

PLUG

GROMMET - lamp wires

4шт.

26

K302795

SUPPORT

BRACKET - left-hand rear

1шт.

27

K302797

SUPPORT

BRACKET - right-hand rear

1шт.

28

K603276

SCREW

SETSCREW - 5/8 UNC x 1-3/4", brackets to final drives

4шт.

29

K19485

WASHER

- lock, 5/8", brackets to final drives

4шт.

30

K603138

SCREW

SETSCREW - 1/2 UNC x 1", brackets to axle case

4шт.

31

K626345

LOCK WASHER

WASHER - lock, 1/2", brackets to axle case

4шт.

32

K608248

STUD

- 3/8 UNC x 7/8"

2шт.

33

K11522

WASHER

- lock, 3/8"

2шт.

34

280136

NUT,3/8"-16, G8

2шт.

35

K650659

BOLT

- M10 x 20

2шт.

36

K651849

WASHER

- lock, 10 mm

2шт.

37

K954320

BOX

- operator's manual (Order A141933)

1шт.

Выбрано товаров: 0