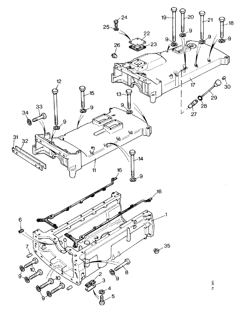
Запчасти Case IH 1490 (M02-1) - REAR MAIN FRAME AND GEARBOX COVER, SYNCHROMESH 2WD, POWER SHIFT, SYNCHROMESH MFD (12) - FRAME

Схема запчастей Case IH 1490 - (M02-1) - REAR MAIN FRAME AND GEARBOX COVER, SYNCHROMESH 2WD, POWER SHIFT, SYNCHROMESH MFD (12) - FRAME
28
20
27
34
10
9
29
17
25
31
4
9
9
18
21
33
32
9
3
16
9
19
30
16
26
9
9
6
11
5
7
12
22
9
13
23
35
10
24
14
8
9
2
9
15
1
FIT
1:1
100%

Артикул

Название

Примечание

Количество

1

K954971

FRAME

REAR MAIN FRAME (Synchromesh 2WD, Power-Shift)

1шт.

1

K956327

FRAME

REAR MAIN FRAME (Synchromesh MFD)

1шт.

2

K919279

GASKET

- hydraulic relief valve hole

1шт.

3

K919278

COVER

PLATE - hydraulic relief valve hole

1шт.

4

K626344

WASHER, LOCK

WASHER - lock, 7/16", hydraulic relief valve hole

2шт.

5

K603049

BOLT

SETSCREW - 7/16 UNC x 7/8"

2шт.

6

K606029

PLUG - 5/16 UNC x 1" (Power-Shift)

3шт.

7

K900105

PIN

DOWEL - 5/8 x 1-7/16" (15.875 x 36.512 mm)

2шт.

8

K600896

BOLT

- 1/2 UNC x 3-1/2

6шт.

9

K626345

LOCK WASHER

WASHER - lock, 1/2"

24шт.

10

K600808

BOLT

- 1/2 UNC x 2-1/4"

4шт.

11

K956390

COVER

GEARBOX COVER (Synchromesh 2WD, Synchromesh MFD)

1шт.

12

K600829

BOLT

- 1/2 UNC x 6-3/4" (Synchromesh 2WD, Synchromesh MFD)

4шт.

12

K600829

BOLT

- 1/2 UNC x 6-3/4" (Power-Shift)

3шт.

13

K600821

BOLT

- 1/2 UNC x 4-3/4" (Synchromesh 2WD, Synchromesh MFD)

4шт.

14

K600889

BOLT

- 1/2 UNC x 3-3/4"

2шт.

15

K600896

BOLT

- 1/2 UNC x 3-1/2" (Synchromesh 2WD, Synchromesh MFD)

6шт.

15

K600896

BOLT

- 1/2 UNC x 3-1/2" (Power-Shift)

2шт.

16

K922555

GASKET

2шт.

17

K200816

COVER

GEARBOX COVER (Power-Shift)

1шт.

18

K600890

BOLT

- 1/2 UNC x 4" (Power-Shift)

2шт.

19

K600831

BOLT

- 1/2 UNC x 7-1/2" (Power-Shift)

2шт.

20

K600824

BOLT

- 1/2 UNC x 5-1/2" (Power-Shift)

3шт.

21

K600826

BOLT

- 1/2 UNC x 6" (Power-Shift)

2шт.

22

K202120

COVER

PLATE - tractors with high platform, cab (Power-Shift)

1шт.

23

K202121

GASKET

- tractors with high platform, cab (Power-Shift)

1шт.

24

9627874

BOLT,Hex, 5/16" - 18 x 5/8", Gr 5, Full Thd

SETSCREW - 5/16 UNC x 5/8", tractors with high platform, cab (Power-Shift)

4шт.

25

K19481

SPRING WASHER

WASHER - lock, 5/16", tractors with high platform, cab (Power-Shift)

4шт.

26

K19578

PLUG

- 3/4 BSP (Power-Shift)

1шт.

27

K942348

SLEEVE

- low profile tractors

1шт.

28

K24701

O-RING,0.426" ID x 0.566" OD x 0.07"

- 7/16" internal diameter, low profile tractors

1шт.

29

K947616

DIPSTICK

- low profile tractors (Power-Shift)

1шт.

29

K205071

DIPSTICK

- low profile tractors (Synchromesh 2WD, Synchromesh MFD)

1шт.

30

K628102

PLUG

- tractors with high platform

1шт.

31

K915674

WEDGE

1шт.

32

K915720

SHIM

1шт.

33

K600810

BOLT

- 1/2 UNC x 2-1/2"

4шт.

34

K626345

LOCK WASHER

WASHER - lock, 1/2"

4шт.

35

K628084

PLUG

PLASTIC PLUG - 5/8"

58шт.

Выбрано товаров: 0