Запчасти Case IH 1490 (F01-1) - POWER TAKE-OFF CONTROLS, LOW PROFILE, HIGH PLATFORM, CAB MODEL (01) - POWER TAKE OFF

Схема запчастей Case IH 1490 - (F01-1) - POWER TAKE-OFF CONTROLS, LOW PROFILE, HIGH PLATFORM, CAB MODEL (01) - POWER TAKE OFF
9
36
24
25
19
33
34
41
12
6
18
16
32
13
31
26
27
37
35
20
29
15
42
38
30
29
8
7
10
11
4
2
22
1
14
3
39
23
30
40
28
21
17
FIT
1:1
100%

Артикул

Название

Примечание

Количество

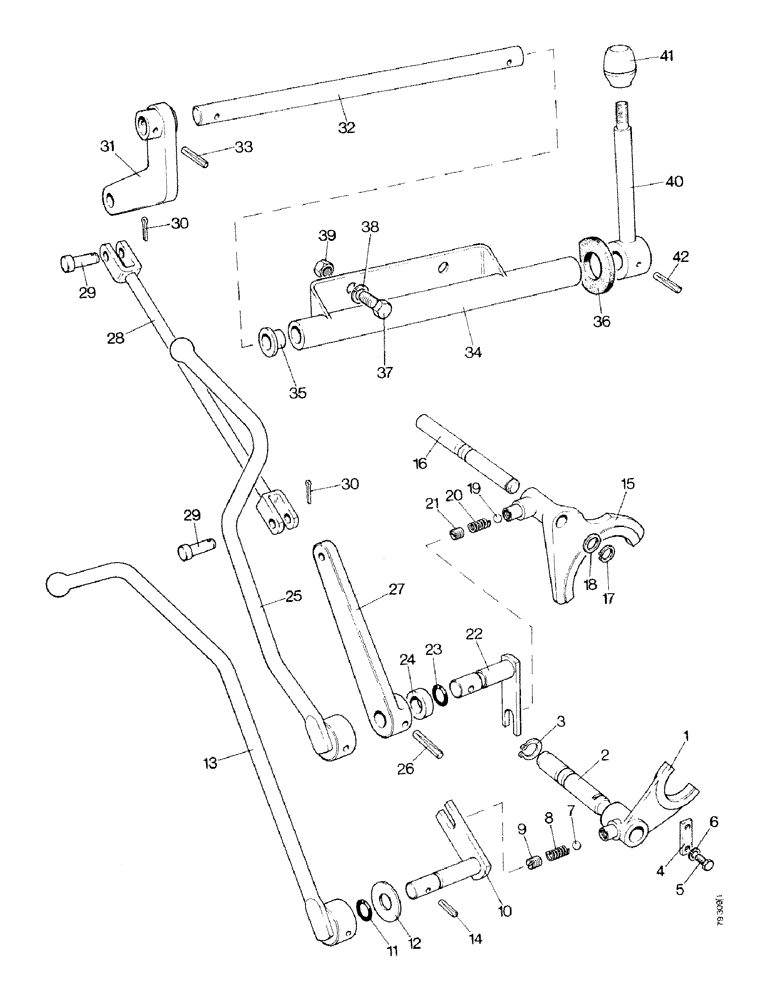
1

K948398

SHIFTER FORK

SELECTOR FORK - reversible shaft PTO

1шт.

2

K948399

SELECTOR

ROD - reversible shaft PTO

1шт.

3

K11290

RING, SNAP

RING - snap, 3/4" (19.05 mm) external

1шт.

4

K948400

PLATE

RETAINING PLATE - reversible shaft PTO

1шт.

5

K602733

SCREW

SETSCREW - 1/4 UNC x 5/8", reversible shaft PTO (Low Profile)

2шт.

5

K602733

SCREW

SETSCREW - 1/4 UNC x 5/8" reversible shaft PTO (High Platform, Cab Model)

1шт.

6

K626341

SPRING WASHER

WASHER - lock, 1/4", reversible shaft PTO (Low Profile)

2шт.

6

K626341

SPRING WASHER

WASHER - lock, 1/4", reversible shaft PTO (High Platform, Cab Model)

1шт.

7

K17063

BALL

STEEL BALL - 1/4" (6.35 mm) reversible shaft PTO

1шт.

8

K24831

SPRING

- reversible shaft PTO

1шт.

9

K606021

SCREW

- 5/16 UNC, reversible shaft PTO

1шт.

10

K948401

SELECTOR

LEVER AND SHAFT - reversible shaft PTO

1шт.

11

K625405

O-RING,0.549" ID x 0.103" Width

- reversible shaft PTO

1шт.

12

K19476

WASHER

- 3/4" (19.05 mm) reversible shaft PTO

1шт.

12

K627462

WASHER

- 3/4" (19.05 mm) special, reversible shaft PTO

1шт.

13

K202331

LEVER

HAND LEVER - reversible shaft PTO (Low Profile)

1шт.

14

K623726

PIN

- 1/4 x 1-1/2" (6.35 x 38.1 mm) reversible shaft PTO

1шт.

15

K915568

SELECTOR

FORK - multi-speed and single-speed PTO, not North America

1шт.

16

K915567

SELECTOR

ROD - multi-speed and single-speed PTO, not North America

1шт.

17

K621470

RING, SNAP

RING - snap, 12 mm, external multi-speed and single-speed PTO, not North America

1шт.

18

K202439

BUSHING

SPACER - single-speed PTO, multi-speed and single-speed PTO, not North America

1шт.

18

K626890

WASHER

ALUMINUM WASHER - 1/2" (12.7 mm) multi-speed and single-speed PTO, not North America

1шт.

19

K17063

BALL

STEEL BALL - 1/4 " (6.35 mm) multi-speed and single-speed PTO, not North America

1шт.

20

K24831

SPRING

- multi-speed and single speed PTO, not North America

1шт.

21

K606021

SCREW

- 5/16 UNC, multi-speed and single-speed PTO, not North America

1шт.

22

K915569

SELECTOR

LEVER AND SHAFT - multi-speed and single-speed PTO, not North America

1шт.

23

K625405

O-RING,0.549" ID x 0.103" Width

- 9/16" (14.288 mm) internal diameter, multi-speed and single-speed PTO, not North America

1шт.

24

K945387

BUSHING

SPACER - multi-speed and single-speed PTO, not North America

1шт.

25

K202333

LEVER

HAND LEVER - multi-speed and single-speed PTO, not North America (Low Profile)

1шт.

26

K623726

PIN

- 1/4 x 1-1/2" (6.35 x 38.1 mm)

1шт.

27

K951272

LEVER

OPERATING LEVER - reversible shaft PTO (High Platform, Cab Model)

1шт.

27

K202544

LEVER

OPERATING LEVER - multi-speed PTO, not North America (High Platform, Cab Model)

1шт.

28

K202543

ROD

(High Platform, Cab Model)

1шт.

29

K14227

PIN

CLEVIS PIN (High Platform, Cab Model)

2шт.

30

K623607

PIN

- cotter, 3/32 x 3/4" (2.381 x 19.05 mm) (High Platform, Cab Model)

2шт.

31

K202542

LEVER

(High Platform, Cab Model)

1шт.

32

K202320

SHAFT

CROSS SHAFT (High Platform, Cab Model)

1шт.

33

K623746

PIN

- 3/16 x 1-1/4" (4.762 x 31.75 mm) (High Platform, Cab Model)

1шт.

34

K202317

SUPPORT

BRACKET (High Platform, Cab Model)

1шт.

35

K628757

BUSHING

(High Platform, Cab Model)

2шт.

36

K952800

SEAL

(High Platform, Cab Model)

1шт.

37

K602983

SCREW

SETSCREW - 3/8 UNC x 7/8" (High Platform, Cab Model)

3шт.

38

K19482

SPRING WASHER

WASHER - lock, 3/8" (High Platform, Cab Model)

3шт.

39

280136

NUT,3/8"-16, G8

(High Platform, Cab Model) 3/8"-16, G8

3шт.

40

K205384

LEVER

HAND LEVER (High Platform, Cab Model)

1шт.

41

K950493

KNOB

(High Platform, Cab Model)

1шт.

42

K623887

PIN,5.21mm OD x 25.4mm L

- 3/16 x 1" (4.762 x 25.4 mm) (High Platform, Cab Model)

1шт.

Выбрано товаров: 0