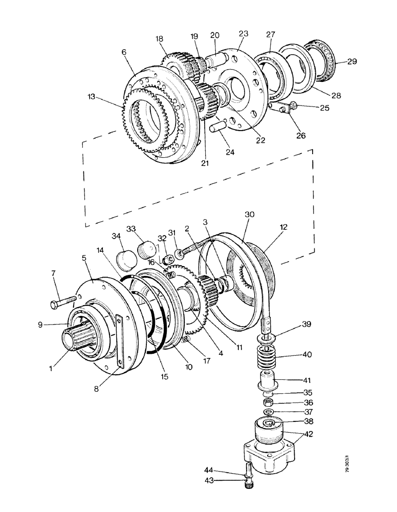
Запчасти Case IH 1490 (D05-1) - FRONT PLANETARY UNIT, POWER SHIFT (03) - POWER TRAIN

Схема запчастей Case IH 1490 - (D05-1) - FRONT PLANETARY UNIT, POWER SHIFT (03) - POWER TRAIN
44
42
32
6
7
2
5
23
27
28
11
20
43
3
33
36
10
22
14
30
31
15
25
19
37
18
35
4
1
39
34
38
40
24
16
29
13
41
17
26
9
12
21
8
FIT
1:1
100%

Артикул

Название

Примечание

Количество

1

K202083

SHAFT

CLUTCH DRIVESHAFT

1шт.

2

K15176

OIL SEAL

OIL SEAL - 1-1/8 x 1-7/8 x 3/8" (28.575 x 47.625 x 9.525 mm)

1шт.

3

K202124

BUSHING

1шт.

4

K908509

WASHER

THRUST WASHER - front

1шт.

5

K917828

CARRIER

AND CLUTCH CYLINDER, Includes Ref. 6 - 8

1шт.

6

NSS

NOT SOLD SEPARAT

CLUTCH CYLINDER

1шт.

7

K600324

BOLT

- 5/16 UNC x 1-3/4"

6шт.

8

K626386

WASHER

TAB WASHER

3шт.

9

K620082

BEARING, BALL

BALL BEARING

1шт.

10

K929781

PISTON

- clutch cylinder

1шт.

K262537

CLUTCH PACK

CLUTCH PLATE PACK - selective assembly (Replaces K963593), Includes Ref. 11 - 13

1шт.

11

NSS

NOT SOLD SEPARAT

CLUTCH PLATE - steel

2шт.

12

NSS

NOT SOLD SEPARAT

CLUTCH PLATE - grooved bronze faces

2шт.

13

NSS

NOT SOLD SEPARAT

BACKING PLATE

1шт.

14

K623576

O-RING,6.975" ID x 7.525" OD x 0.275"

- 7" (177.8 mm) internal diameter

1шт.

15

K623575

O-RING,0.21" Thk x 3.975" ID, -345, Cl 5, 75 Duro

- 4" (101.6 mm) internal diameter

1шт.

16

K929779

SPRING

- inner

6шт.

17

K13507

SPRING

- outer

18шт.

18

K965798

GEAR

PLANET GEARS - set of three

1шт.

19

K620275

BEARING, NEEDLE

NEEDLE ROLLER BEARING

6шт.

20

K948484

PIN

BEARING PIN

3шт.

21

K202095

GEAR

SUN GEAR

1шт.

22

K917186

WASHER

THRUST WASHER - rear

1шт.

23

K917831

CARRIER

END COVER

1шт.

24

K621808

PIN

DOWEL - 5/8 x 1-1/4" (15.875 x 31.75 mm)

3шт.

25

88206

BOLT,Hex, 3/8" - 16 x 1", Gr 5

6шт.

26

K626388

WASHER

TABWASHER

3шт.

27

K19177

BALL BEARING,76.2mm ID x 114.3mm OD x 19.05mm W

1шт.

28

K917834

PLATE

ABUTMENT PLATE

1шт.

29

K917835

BEARING

1шт.

30

K943409

BRAKE BAND

1шт.

31

K940064

WASHER

CONICAL WASHER

1шт.

32

K607377

LOCK NUT

- 3/8 UNC, self-locking

1шт.

33

K623831

PLUG

- 1" BSP, special

1шт.

34

K628083

PLUG,Cap, 1.282" OD

PLASTIC PLUG - 13/16" (20.638 mm) diameter

1шт.

35

K917590

WASHER

SPHERICAL WASHER

1шт.

36

232-1416

LOCK NUT,3/8"-16, GC

NUT - 3/8 UNC, self-locking

1шт.

37

K626314

WASHER

- 7/16" (11.112 mm)

1шт.

38

K621761

RING, SNAP

RING - snap, 7/8" (22.225 mm) internal

1шт.

39

K940346

STOP

1шт.

40

K625289

SPRING

1шт.

41

K952312

SLEEVE

1шт.

42

K965766

BRAKE

CYLINDER AND PISTON

1шт.

43

K606843

SCREW

BOLT - 5/16 UNC x 2"

4шт.

44

K19481

SPRING WASHER

WASHER - lock, 5/16"

4шт.

Выбрано товаров: 0