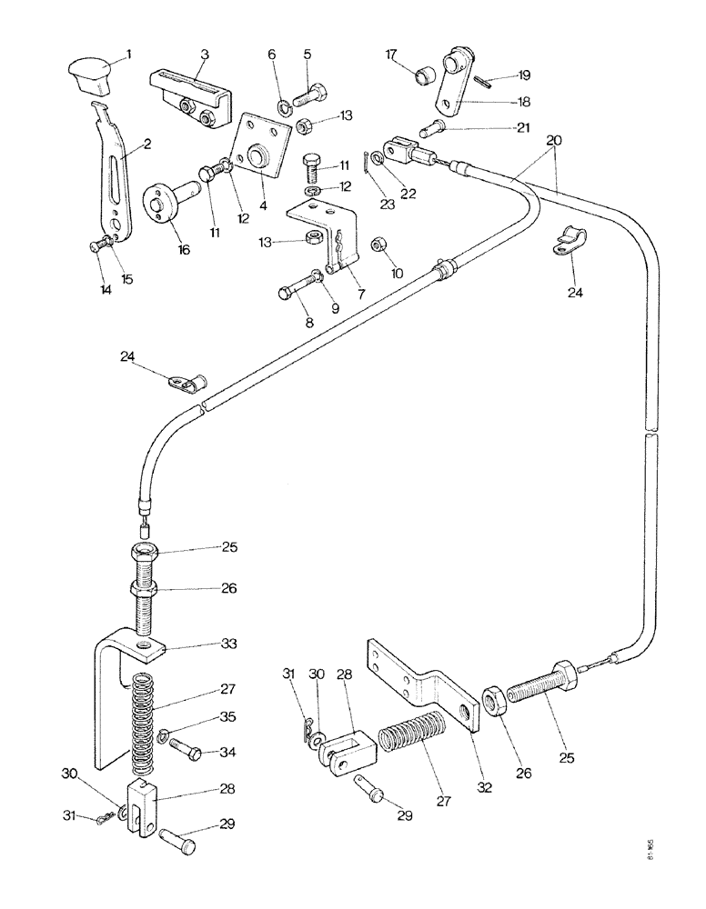
Запчасти Case IH 1490 (D20-1) - ENGAGEMENT LEVER, MFD TRACTORS, HIGH PLATFORM, CAB MODEL (03) - POWER TRAIN

Схема запчастей Case IH 1490 - (D20-1) - ENGAGEMENT LEVER, MFD TRACTORS, HIGH PLATFORM, CAB MODEL (03) - POWER TRAIN
12
31
34
29
27
19
25
10
7
20
30
29
26
11
28
2
1
31
25
22
28
15
14
8
13
9
13
33
12
30
26
3
18
32
5
21
24
6
27
11
35
23
24
16
17
FIT
1:1
100%

Артикул

Название

Примечание

Количество

1

K901738

KNOB

- hand lever

1шт.

2

K204911

SELECTOR

HAND LEVER

1шт.

3

K202875

BRACKET

1шт.

4

K302954

SELECTOR

SUPPORT BRACKET - hand lever

1шт.

5

120104

BOLT,Hex, M8 x 1.25 x 20mm, Cl 8.8

SETSCREW - M8 x 20

2шт.

6

K651848

WASHER

- lock, 8 mm

2шт.

7

K202876

BRACKET

ANCHOR BRACKET - cable

1шт.

8

K600152

BOLT

- 1/4 UNC x 2"

1шт.

9

K626341

SPRING WASHER

WASHER - lock, 1/4"

1шт.

10

K607043

NUT

- 1/4 UNC

1шт.

11

K602845

BOLT,Hex Hd, 5/16"-18 x 3/4"

SETSCREW - 5/16 UNC x 3/4", brackets to floor

3шт.

12

K19481

SPRING WASHER

WASHER - lock, 5/16", Serial Range: brackets-floor

3шт.

13

9635082

NUT,5/16" - 18, Gr 5

- 5/16 UNC, brackets to floor

3шт.

14

K605632

SCREW

- 1/4 UNC x 3/8"

2шт.

15

K626341

SPRING WASHER

WASHER - lock, 1/4"

2шт.

16

K952257

SHAFT

- hand lever

1шт.

17

K628759

BUSHING

2шт.

18

K952260

LEVER

OPERATING LEVER

1шт.

19

K623740

SPLIT PIN/SAFETY PIN

PIN - 3/16 x 7/8" (4.762 x 22.225 mm)

1шт.

20

K200983

CABLE

- inner and outer

1шт.

21

K624941

SPRING

CLEVIS PIN - 5/16 x 7/8" (7.938 x 22.225 mm)

1шт.

22

K626682

WASHER

- 5/16" (7.938 mm)

1шт.

23

K19528

PIN

- cotter, 3/32 x 3/4" (2.381 x 19.05 mm)

1шт.

24

K15518

CLAMP

CLIP

1шт.

25

K200610

NUT

ADJUSTER - 5/8 UNC

1шт.

26

425-1410

JAM NUT,Jam, 5/8"-11, G5

LOCKNUT - 5/8 UNC

1шт.

27

K625098

SPRING

RETURN SPRING

1шт.

28

K622207

FORK

END

1шт.

29

K69984

SPLIT PIN/SAFETY PIN

CLEVIS PIN - 3/8 x 1-5/16" (9.525 x 33.338 mm)

1шт.

30

K19472

WASHER

- 3/8" (9.525 mm)

1шт.

31

K950865

CLIP

PIN - cotter

1шт.

32

K300879

BRACKET

- cable adjuster (David Brown axle)

1шт.

33

K202707

BRACKET

- cable adjuster (Carraro axle) not North America

1шт.

34

K650643

BOLT

- M8 x 25, not North America

2шт.

35

K651848

WASHER

- lock, 8 mm, not North America

2шт.

Выбрано товаров: 35