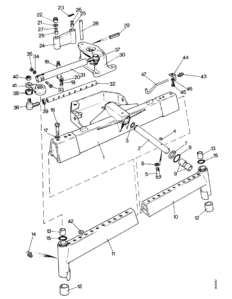
Запчасти Case IH 1490 (G03-1) - FRONT AXLE BEAM FOR TRANSVERSE MOUNTED CYL. ,60 TO 88 IN. (1524.0 TO 2235.2 MM) TRACK, 2 WHEEL DRIVE (04) - FRONT AXLE

Схема запчастей Case IH 1490 - (G03-1) - FRONT AXLE BEAM FOR TRANSVERSE MOUNTED CYL. ,60 TO 88 IN. (1524.0 TO 2235.2 MM) TRACK, 2 WHEEL DRIVE (04) - FRONT AXLE
14
15
26
32
27
8
5
33
25
12
29
16
23
13
42
34
11
36
30
31
47
35
44
37
46
40
6
43
22
9
12
2
18
1
7
38
39
20
10
15
24
17
41
4
13
19
21
25
45
3
28
FIT
1:1
100%

Артикул

Название

Примечание

Количество

1

K957287

SHAFT

CENTER BEAM

1шт.

2

K947516

TRUNNION

PIN

1шт.

3

K15596

RING,3.63mm Thk x 31.34mm ID

O-RING - 1-1/4" (31.75 mm) internal diameter

1шт.

4

K913092

NUT

SCREWED BUSHING

1шт.

5

K600505

BOLT

- 3/8 UNC x 2-3/4"

1шт.

6

K19482

SPRING WASHER

WASHER - lock, 3/8"

1шт.

7

K947188

FRICTION WASHER

THRUST WASHER

2шт.

8

K24764

O-RING

- 2-5/8" (66.675 mm) internal diameter

2шт.

9

K15597

BUSHING

- main frame

4шт.

10

K260502

BEAM

EXTENSION - left-hand

1шт.

11

K260503

BEAM

EXTENSION - right-hand, Includes Ref. 12 and 13

1шт.

12

K621367

BUSHING

- lower

1шт.

13

K621331

BUSHING

- upper

1шт.

14

219-8

LUBE NIPPLE,1/4" - 28 NPTF

NIPPLE, LUBE, , ANF 1/4"-28 NPT x .54" lg

2шт.

15

K623524

O-RING,0.139" Thk x 2.109" ID, -227, Cl 5, 75 Duro

- 2-1/2" (63.5 mm) internal diameter

2шт.

16

K601661

BOLT

- 7/8 UNC x 3-1/4"

6шт.

17

K626350

SPRING

WASHER - lock, 7/8"

4шт.

18

K948543

PIN

PIVOT PIN

1шт.

19

9627874

BOLT,Hex, 5/16" - 18 x 5/8", Gr 5, Full Thd

SETSCREW - 5/16 UNC x 5/8"

1шт.

20

K19481

SPRING WASHER

WASHER - lock, 5/16"

1шт.

21

K626921

WASHER

- 5/8" (15.875 mm) special

2шт.

22

231-2448

LOCK NUT,1/2"-20, GB

NUT - 1/2 UNF, special

1шт.

23

K19537

PIN

- cotter, 1/8 x 1-1/8" (3.175 x 28.575 mm)

1шт.

24

K948540

LINK

PIVOT LINK, Includes Ref. 25

1шт.

25

K628741

BUSHING

4шт.

26

K24676

O-RING,0.103" Thk x 0.612" ID, -114, Cl 6, 90 Duro

- 5/8" (15.875 mm) internal diameter

2шт.

27

K623540

O-RING,0.614" ID x 0.754" OD x 0.07"

- 19/32" (32.544 mm) internal diameter

4шт.

28

K948542

PIVOT PIN

1шт.

29

K690732

SPRING

PIN - 3/16 x 1-3/4 (4.762 x 44.45 mm)

1шт.

30

K948584

FORK

1шт.

31

K204342

TUBE

SPACER TUBE - 17-1/2" (444.5 mm)

2шт.

32

K204345

ROD

TRACK ROD - 17-3/4" (450.85 mm)

2шт.

33

K600563

BOLT

- 3/8 UNC x 2-1/4"

2шт.

34

K19482

SPRING WASHER

WASHER - lock, 3/8"

2шт.

35

280136

NUT,3/8"-16, G8

2шт.

36

K915962

BALL JOINT

BALL AND SOCKET ASSEMBLY

2шт.

37

K204347

BALL

AND SOCKET ASSEMBLY, Includes Ref. 38 - 40

2шт.

38

K962155

CAP

DIRT SEAL

1шт.

39

K622500

LOCK NUT

LOCKNUT - 3/4", special

1шт.

40

131-377

LOCK NUT,5/8"-11, GC

NUT - 5/8 UNF, self-locking

1шт.

41

K204346

LEVER

STEERING LEVER

2шт.

42

K628089

PLUG

PLASTIC PLUG - beam extension holes

12шт.

43

K622255

FITTING

GREASE FITTING

1шт.

44

K948809

BRACKET

SUPPORT BRACKET - grease fitting

1шт.

45

9627874

BOLT,Hex, 5/16" - 18 x 5/8", Gr 5, Full Thd

SETSCREW - 5/16 UNC x 5/8"

1шт.

46

K19481

SPRING WASHER

WASHER - lock, 5/16"

1шт.

47

K948808

TUBE

1шт.

Выбрано товаров: 0