Запчасти Case IH 1494 (3-032) - FUEL INJECTOR (03) - FUEL SYSTEM

Схема запчастей Case IH 1494 - (3-032) - FUEL INJECTOR (03) - FUEL SYSTEM
3
8
5
10
11
6
2
9
7
4
1
FIT
1:1
100%

Артикул

Название

Примечание

Количество

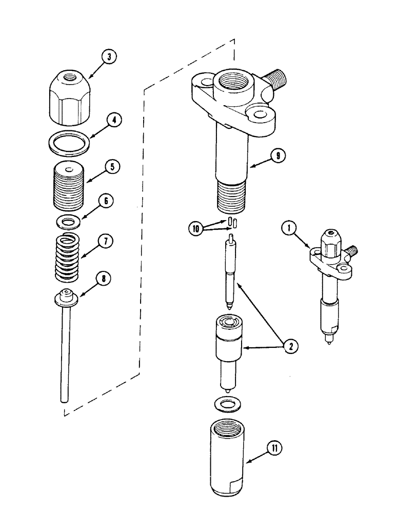
1

K942175

NOZZLE CAP

INJECTOR, cap and holder, Includes: Ref. 2 - 11

1шт.

2

K942176

NOZZLE CAP

NOZZLE injector, Includes: Ref. 3 - 11

1шт.

3

A48010

NUT

cap, holder, Lucas 7008-902

1шт.

4

K964148

WASHER

cap, Lucas NW5-59

1шт.

5

A48011

NUT

cap spring, Lucas 7008-599C

1шт.

6

A48012

SHIM

spring nut, Lucas 5936-298

1шт.

7

A48013

SPRING

spindle, Lucas 7008-253

1шт.

8

A48014

SPINDLE

injector, Lucas 7008-49

1шт.

9

A48015

HOUSING

BODY injector, Lucas 7008-799A

1шт.

10

A48016

PIN

DOWEL nozzle, Lucas 7008-428A

2шт.

10

A48017

PIN

DOWEL nozzle, Lucas 7008-428B

2шт.

10

A48018

PIN

DOWEL nozzle, Lucas 7008-428C

2шт.

11

A48019

CAP

nozzle, Lucas 7008-187

1шт.

Выбрано товаров: 13