Запчасти Case IH 1494 (3-042) - THROTTLE HAND CONTROL, TRACTORS WITH CAB (03) - FUEL SYSTEM

Схема запчастей Case IH 1494 - (3-042) - THROTTLE HAND CONTROL, TRACTORS WITH CAB (03) - FUEL SYSTEM
16
29
27
32
24
14
11
7
24
28
18
26
25
33
2
16
12
20
6
19
35
4
31
23
21
17
34
5
9
22
10
1
13
29
3
8
15
FIT
1:1
100%

Артикул

Название

Примечание

Количество

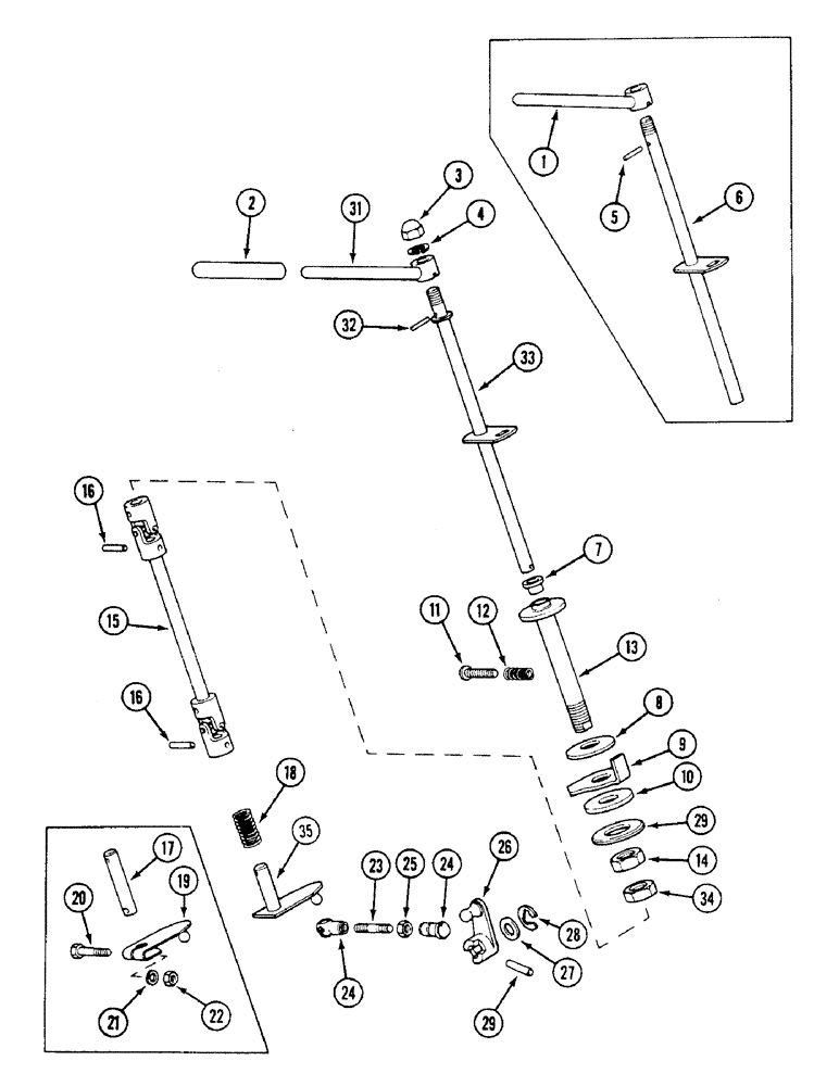
1

K204710

LEVER ASSY.

LEVER hand, prior to P.I.N. 11194651

1шт.

2

K307675

SLEEVE

hand lever

1шт.

3

K659326

NUT

domed, M10

1шт.

4

892-11010

LOCK WASHER,M10

1шт.

5

K16570

PIN

retaining, 1/8 x 3/4 inch, prior to P.I.N. 11490001

1шт.

6

NSS

NOT SOLD SEPARAT

ROD hand lever, prior to P.I.N. 11194651, order 31, 32, and 33

1шт.

7

K307448

GUIDE

BUSHING plastic, 10 mm

1шт.

8

K626740

WASHER

Belleville, 5/8 inch

10шт.

9

K204709

SHIM

PLATE adjusting

1шт.

10

K204708

DISC

friction

1шт.

REFER TO PICTORIAL FIGURE 3-042 BETWEEN ITEMS 10 &14.THERE IS WASHER SHOWN AS ITEM 29.THIS IS IN ERROR.THE CORRECT NUMBER FOR THIS WASHER IS K19476. TECH NOTE 9/21/98

1шт.

11

K605613

SCREW

lever stop, 1/4 UNC x 1-5/8 inch

1шт.

12

K625232

SPRING

stop screw

1шт.

13

K307446

TUBE

1шт.

14

3402651R1

NUT

hex, 16 mm

1шт.

REFER TO PICTORIAL FIGURE 3-042 BETWEEN ITEMS 10 &14.THERE IS WASHER SHOWN AS ITEM 29.THIS IS IN ERROR.THE CORRECT NUMBER FOR THIS WASHER IS K19476. TECH NOTE 9/21/98

1шт.

15

K310083

SHAFT ASSY.

ROD, with universal joints, Replaces: K307407

1шт.

16

K657420

ROLL PIN

PIN roll, 4 x 20 mm

2шт.

17

K311383

BRACKET

LEVER AND ROD ASSEMBLY, Replaces: K307409 and K307406

1шт.

18

K24887

SPRING

rod

1шт.

19

K311383

BRACKET

LEVER AND ROD ASSEMBLY, Replaces: K307409 and K307406

1шт.

20

K650631

BOLT

M6 x 35 mm

1шт.

21

892-11006

LOCK WASHER,M6

WASHER, LOCK, M6

1шт.

22

825-13412

NUT,M12 x 1.25, Cl 8

cable, M12

1шт.

23

K202824

ROD

pedal to cross shaft

1шт.

24

K621903

BALL JOINT

SOCKET END, 1/4 inch UNF

2шт.

25

425-154

JAM NUT,Jam, 1/4"-28, G5

lock, 1/4 inch UNF

2шт.

26

K928178

LEVER

cross shaft

1шт.

27

K19472

WASHER

flat, 3/8 inch, 10 mm

1шт.

28

K621587

RING, SNAP

RING retaining, 3/8 inch, 10 mm, external

1шт.

29

135-735

GROOVED PIN,5/32" x 3/4", Type E

Pin, Grooved, 5/32" x 3/4", Type E

1шт.

31

K310035

BRACKET

LEVER hand, P.I.N. 11194651 and after

1шт.

32

135-735

GROOVED PIN,5/32" x 3/4", Type E

Pin, Grooved, 5/32" x 3/4", Type E

1шт.

33

K310038

ROD

hand lever, P.I.N. 11194651 and after

1шт.

34

829-1416

NUT,M16, Cl 10

hex, 16 mm, 2.0, class 10

1шт.

35

K311383

BRACKET

LEVER AND ROD ASSEMBLY

1шт.

Выбрано товаров: 36